Mobilissimo.ro - Telefon la superlativ
Peste tot
Cauta
Ex.:
Black Friday
,
Xiaomi
,
iPhone 17
,
Știri din tehnologie
Ai cont? LOGIN
Utilizator nou? ÎNREGISTRARE
Peste tot
Știri
Recenzii
Telefoane
Tablete
Ceasuri
Prețuri
Imagini
Video
Google
Despre noi
|
Contact
facebook
twitter
googleplus
youtube
pinterest
rss
Trimite-ne un pont
Mobilissimo
HOME
Telefoane, tablete
STIRI
Producatori, OS
TELEFOANE
Producatori, OS
TABLETE
Producatori, OS
CEASURI
Telefoane, tablete
RECENZII
Discutii
FORUM
Prețuri și
REDUCERI
Telefoane, tablete
COMPARAȚII
Autori
Galerii Foto
Galerii Video
Live Blogging
Producători telefoane
Samsung
Apple
Huawei
Xiaomi
Motorola
OPPO
OnePlus
Honor
Google
Nokia
realme
HTC
Redmi
LG
ASUS
Sony
Vivo
Toți producătorii
Producători tablete
Samsung
Apple
Huawei
Xiaomi
Motorola
OPPO
OnePlus
Honor
Google
Nokia
realme
HTC
Redmi
LG
ASUS
Sony
Vivo
Toți producătorii
Producători ceasuri inteligente
Samsung
Apple
Huawei
Xiaomi
Motorola
OPPO
OnePlus
Honor
Google
Nokia
realme
HTC
Redmi
LG
ASUS
Sony
Vivo
Toți producătorii
Mobilissimo HOME
/
Galerii foto
/
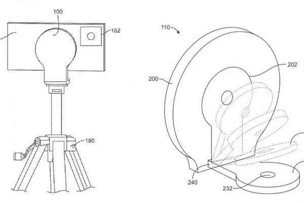
Accesoriu foto MagSafe, recent brevetat de către Apple
Galerie foto: Accesoriu foto MagSafe, recent brevetat de către Apple
Galerie foto: Accesoriu foto MagSafe, recent brevetat de către Apple
Asocieri - Știre
Apple pregătește un nou accesoriu MagSafe, util pentru cei pasionați de fotografie, conform unui brevet aprobat recent
Odată cu lansarea seriei iPhone 12, Apple a prezentat „MagSafe”. Feature-ul e reprezentat de o zonă ce implică magneți dispuși circular în partea din spate a telefoanelor. Prin intermediul acestor magneți pot fi atașate aici accesorii, inclusiv
Compară
×
Acest site folosește cookies. Prin navigarea pe acest site, vă exprimați acordul asupra folosirii cookie-urilor.
Citește mai mult
×