Producătorul american de dispozitive audio, Sonos, a anunțat recent date financiare pentru al patrulea trimestru din acest an (Q4 2022). A avut loc un eveniment, iar în cadrul acestuia au ieșit la iveală și câteva detalii privind planurile de viitor ale companiei. Se pare că Sonos urmează să anunțe 4 noi categorii de produse, primul urmând să sosească chiar în 2023. Nu avem informații oficiale cu privire la aceste noi dispozitive, dar în trecut au apărut câteva indicii. Mai jos avem detalii despre ce ar putea lansa compania în 2023.
Sonos ar explora noi categorii de produse, scopul fiind diversificarea business-ului. Conform publicației Protocol, compania ar putea lansa un produs axat pe streaming video, care ar rula Android TV. De asemenea, The Verge susține că se lucrează la un proiect home theater și o boxă high-end dedicată birourilor.
Totuși, cel mai promițător proiect la care ar lucra Sonos ar fi o pereche de căști wireless over-the-ear. În trecut au apărut randări prin intermediul Bloomberg pentru acest produs, bazate pe un patent înregistrat de către companie în 2019. Căștile ar aduce un buton crown pentru reglarea volumul, dar și zone tactile pentru control media. Ar exista și o funcție numită „swap” care va permite utilizatorilor să comute redarea muzicală de pe căști, pe celelalte dispozitive Sonos din casă.
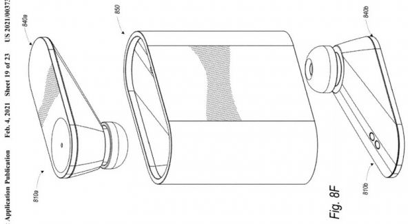
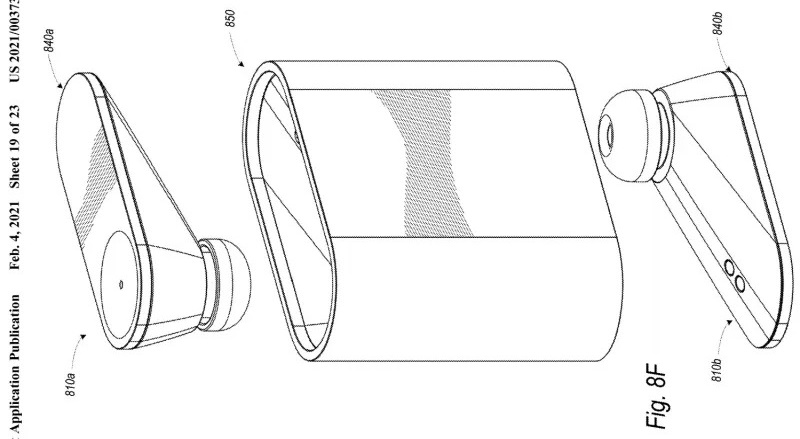
Un alt produs relevant și interesant ar fi o pereche de căști wireless in-ear. Un patent a fost deja înregistrat de către companie, căstile având un design similar cu cel adoptat de OnePlus Nord Buds, având o tijă plată.
Merită însă menționat că vorbim doar despre patente momentan și nu avem certitudinea că aceste produse chiar vor debuta. Important e faptul că Sonos s-a hotărât să „exploreze” și alte categorii de produse, iar în 2023 vor fi debuta 4 noi dispozitive audio în portofoliul companiei.








