Un lucru de care utilizatorii Apple s-au tot plâns de-a lungul anilor a fost fragilitatea cablurilor Lightning oferite la pachet alături de produsele achiziționate, acestea fiind un coșmar pentru posesori. Deși prin vara anului trecut apărea un leak însoțit de fotografii care sugera că firma din Cupertino va aduce un cablu textil mai rezistent pentru iPhone 12, în final în cutie a sosit același cablu pe care l-am tot primit în ultimii ani și pe deasupra au "dispărut" și accesorii din cutie.
Cu toate acestea, Apple este conștientă fragilitatea acestui cablu și aflăm că tocmai ce avut un brevet publicat, unul în care se vorbește despre metoda de rezolvare a acestei probleme. Brevetul poartă denumirea "Cablu cu rigiditate variabilă" și aflăm că nu este menționat clar Lightning și nici cuvântul "fragil", Apple dorind să nu facă referire la problema în sine pe care o întâmpină utilizatorii.
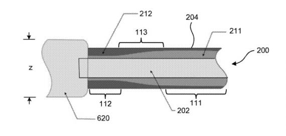
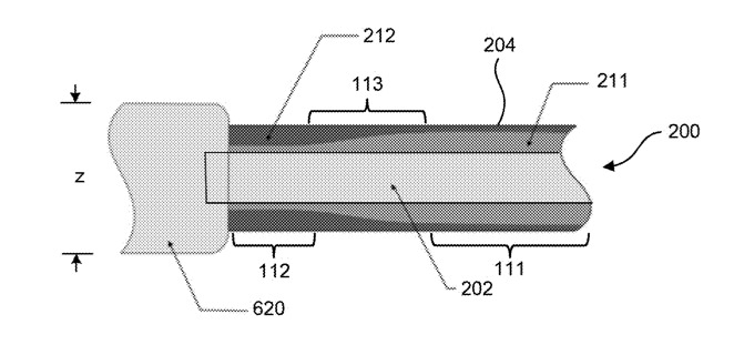
Ideea creatorului iPhone este de a dezvolta un cablu îngroșat la capăt acolo unde se rupe de obicei, dar ia în calcul și posibilitatea de a îmbrăca întreg cablul într-un material de protecție astfel încât să se ajungă la o grosime uniformă. Aflăm că prima abordare de cablu implică un anumit grad de rigiditate, în timp ce al doilea este și mai rigid - având mai multe secțiuni longitudinale de rigiditate.
Se mai vorbește aici și despre posibilele materiale pe care le-ar putea folosi și despre raza minimă de îndoire. Acest brevet ne dă speranțe că următorul iPhone ar putea veni cu un cablu mult mai rezistent, asta dacă nu cumva Apple vrea să renunțe și la acest accesoriu din cutia telefonului.







