Potrivit unui brevet depus încă din 2024, recent publicat, Apple explorează ideea unei huse speciale pentru iPhone și iPad. Ea ar fi gândită pentru a îmbunătăți semnalul satelitar, având antene dedicate integrate. Documentația descrie husa ca un dispozitiv ce aduce antene suplimentare, mai performante decât cele din telefon, pentru a asigura o conexiune mai stabilă la sateliți. Detalii avem mai jos!
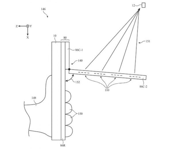
Ideea este interesantă. Husa ar include un segment rabatabil care se deschide și poate fi orientat spre cer, astfel încât rețeaua internă de antene să aibă o linie cât mai bună de comunicare cu sateliții. În loc să ne bazăm exclusiv pe antenele integrate în telefon, am putea avea acest modul dedicat, poziționat optim pentru a recepționa semnal. Prin această husă s-ar rezolva și o problemă clasică când vine vorba de conexiune satelitare și anume blocarea semnalului cu mâna.
Pentru că partea cu antenele este separată și se ridică deasupra telefonului, utilizatorul nu mai acoperă direct zona critică atunci când ține dispozitivul în palmă. În teorie, asta ar putea însemna semnal mai stabil, viteze mai bune și o conexiune mai fiabilă în situații critice. Brevetul sugerează că husa ar putea comunica cu iPhone-ul sau iPad-ul printr-un conector radio-frequency dedicat, dar sunt menționate și alternative precum NFC sau alte metode wireless.
Trebuie menționat că vorbim pentru moment doar despre un brevet. Apple depune constant cereri pentru concepte care nu ajung niciodată pe piață, fie pentru a-și proteja ideile, fie pentru a testa direcții tehnologice. Totuși, contextul actual face această propunere mai credibilă decât alte proiecte teoretice. Apple a investit deja în conectivitate satelitară pentru situații de urgență și a extins treptat funcționalitatea în mai multe regiuni.
O husă dedicată ar putea fi o soluție pentru utilizatorii care au nevoie de comunicații satelitare, fie în zone rurale, în expediții și activități outdoor. Deși șansele ca produsul să debuteze oficial sunt incerte, brevetul a fost aprobat și Apple poate lansa o astfel de husă în viitor.







