Am tot auzit zvonuri despre Apple Watch Series 7 în ultima perioadă. Noi funcții, senzor de amprentă integrat în butonul lateral, ba chiar un senzor Face ID complex, sub ecran. Totuși, multi utilizatori își doresc de fapt doar o baterie mai mare pentru noul model de Apple Watch. Am abordat subiectul și în urmă cu câteva săptămâni, atunci când Apple plănuia o curea cu baterii încorporate.
De această dată, aflăm că Apple a înregistrat un patent pentru o baterie care va putea oferi și feedback prin vibrații utilizatorului. Noul brevet a fost publicat sub numele “Dispozitiv electronic portabil cu afișaj tactil și baterie mobilă”. Descrierea patentului este următoarea:
“În general, dispozitivele electronice includ unul sau mai multe butoane sau comutatoare electromecanice pentru furnizarea intrării. Unele dispozitive includ un ecran tactil pentru primirea intrării. Cu toate acestea, senzorii nu oferă feedback mecanic pentru a avertiza utilizatorul când intrarea a fost acceptată. Acest brevet este dedicat unui dispozitiv tactil care își poate deplasa bateria pentru a genera impulsuri sau vibrații de-a lungul suprafeței exterioare a dispozitivului.”
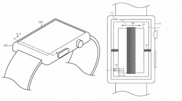
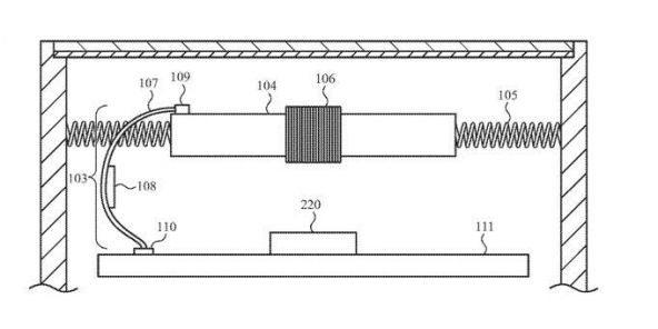
În imaginea alătură putem vedea cum ar putea bateria să genereze vibrații. Aceasta se află între arcuri și ar oferi feedback tactil. Nu e clar încă dacă prin folosirea acestei metode, Apple va reuși să obțină aceleași rezultate ca și până acum. Actuala versiune de Apple Watch folosește un motoraș Haptic Engine pentru feedback-ul tactil. Cu toate acestea, ocupă destul de mult spațiu. Dacă compania din Cupertino ar reuși să genereze feedback-ul la atingere prin metoda prezentată în patent, capacitatea bateriei și implicit autonomia, ar putea crește destul de mult.
Aflam recent că Apple Watch 7 Series va sosi și cu senzor pentru monitorizarea glucozei din sânge. Astfel, oamenii care suferă de boli cronice precum diabetul zaharat, vor putea să-și afle nivelul de glicemie mult mai ușor, evitând înțeparea în deget de câteva ori pe zi. Totodată, au existat zvonuri conform cărora noul Apple Watch va sosi cu un ecran microLED.








