Samsung Galaxy Z Fold6 ar putea răspunde în sfârşit unei doleanţe a fanilor Samsung, de a primi un ecran extern mai lat pe viitorul pliabil. Cel puţin aşa deducem dintr-un brevet care tocmai a ajuns pe web şi face aluzie şi la un design mai slim.
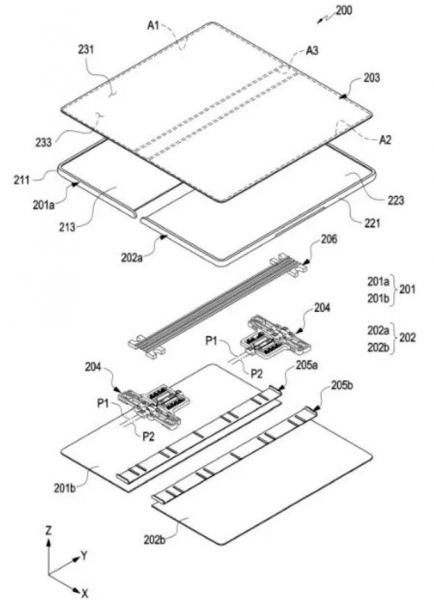
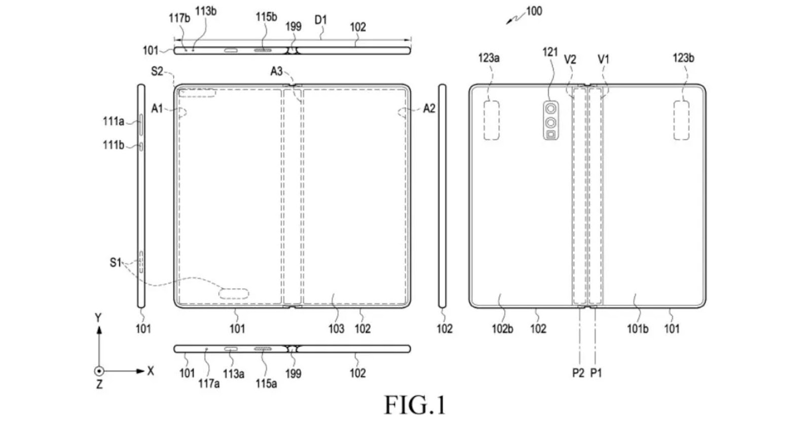
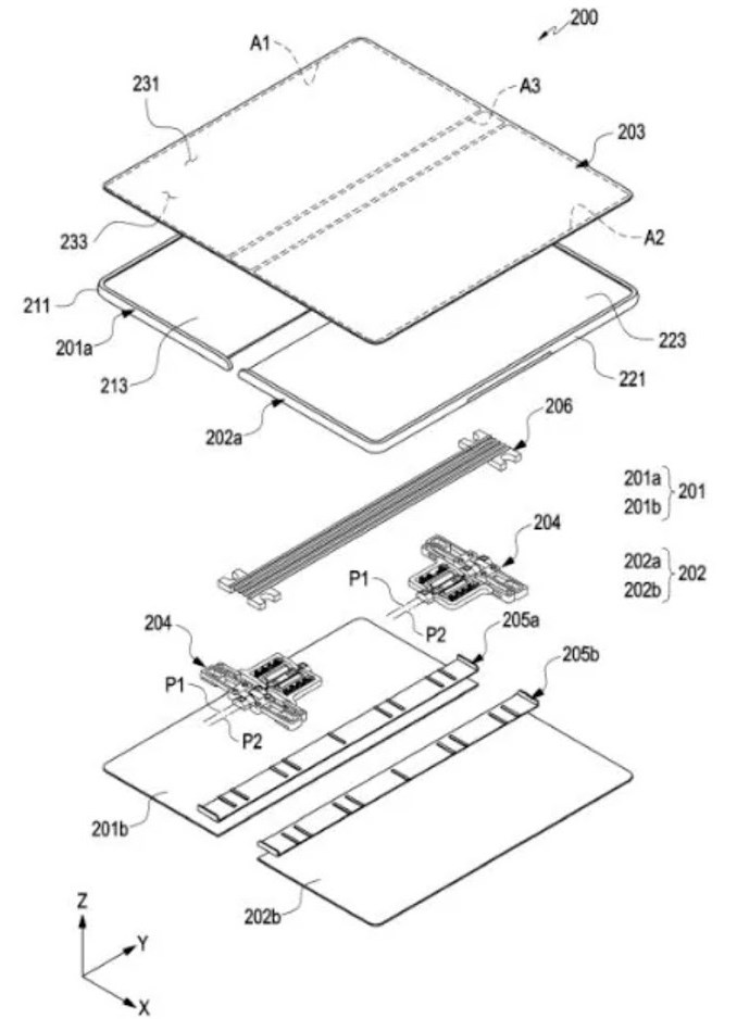
Un brevet asociat lui Galaxy Z Fold6 tocmai a apărut la USPTO (United States Patent and Trademark Office, adică Biroul SUA de Trademark-uri şi Brevete). El indică faptul că noul terminal va avea o balama mai subţire decât cea de pe Galaxy Z Fold 5. Ecranul extern va fi mai lat, deci vom putea în sfârşit să scriem mai comod pe el.
Balamaua cea nouă, cea mai subţire ar "reduce stresul" asupra pliabilului şi permite o deschidere şi închidere mai facilă şi uzura scăzută în timp. Posibil ca şi telefonul să devină astfel mai subţire şi mai compact, odată cu acest nou tip de balama. Nu de alta, dar Samsung are o revanşă de luat fata de Honor şi al său Magic V2, care măsoară nici 5 mm în grosime când e deschis. Z Fold5 măsoară 13.4 mm închis, iar Honor Magic V2 sub 10 mm.
Judecând după schiţele ajunse pe web, avem aici un Z Fold 6 care nu mai e îngust când e închis, ci mai scurt şi mai lat decât predecesorii. Un alt brevet de acum câteva luni indica prezenţa unui slot pentru S-Pen la bord. Nu e cazul actualului Z Fold, care necesită o husă cu slot S-Pen.








