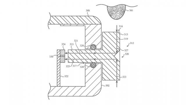
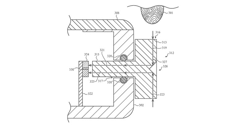
Auzisem de ceva vreme ca Apple pregăteşte o nouă modalitate de a securiza un Apple Watch, iar azi aflăm că ceasul ar putea primi un cititor de amprente Touch ID. Mai mult de atât, mecanismul ar urma să fie inclus în butonul Crown.
Acum că se discută despre un ceas Apple care are şi rol de portofel electronic şi cheie de maşină, e cu atât mai important ca purtabilul să fie securizat. În brevetul proaspăt apărut online vedem un senzor Touch ID în butonul crown de pe ceas. Ideea aminteşte de un brevet de acum câţiva ani care prezenta un iPhone cu cititor de amprente integrat în butonul Power.
Acel brevet pentru iPhone datează din 2015 şi a fost aprobat în 2017, iar cel pentru ceas datează din noiembrie 2018 şi a fost publicat în această săptămână. Documentul menţionează un senzor care analizează detalii ale pielii utilizatorului: amprente, foliculi de păr sau alte detalii observabile optic, precum textura, suprafaţă, neregularităţi. E interesant că este menţionată şi interacţiunea cu degetul, un stylus, mâini cu mănuşi şi alte obiecte cu detecţie optică.
Practic te vei putea autentifica pe ceas apăsând butonul Crown cu senzor integrat. În acest moment poţi debloca un Apple Watch doar introducând PIN-ul pe ecran sau deblocând iPhone-ul conectat la ceas. Cu un senzor Touch ID, ceasul ar deveni şi mai independent de iPhone.


