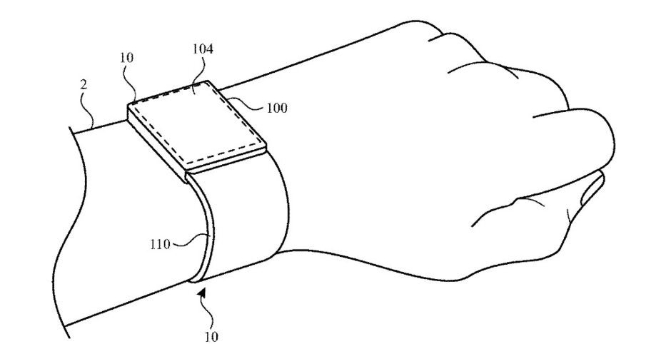
După multe luni distanță de la ultima menționare a sa în online, iată că cititorul de amprente Touch ID revine în ecuație tot prin intermediul unui brevet. În luna februarie a acestui an descopeream un brevet în care scanner-ul de amprente Apple era integrat (în teorie) în ecranul unui iPhone și permitea deblocarea pe întreaga sa suprafață. Acum vedem ceva similar, doar că asociat unui viitor Apple Watch.
Aflăm că brevetul în cauză tocmai ce a fost publicat de către Biroul de Brevete și Trademark SUA (USPTO) și că acesta ne-ar putea da un indiciu cu privire la ce ne rezervă Apple în segmentul smartwatch și nu numai. Din documentele asociate descoperim că acest scanner de amprente va contribui la oferirea unui nivel de securitate la fel de mare ca pe iPhone.
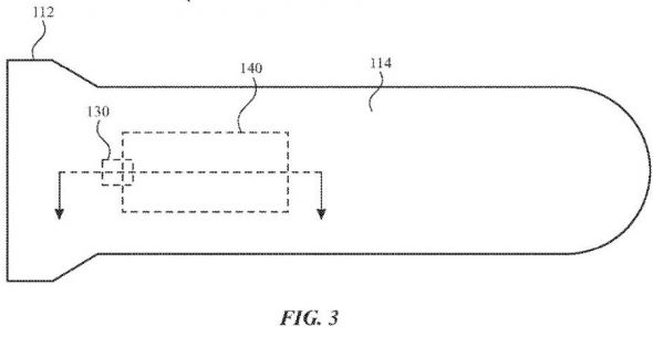
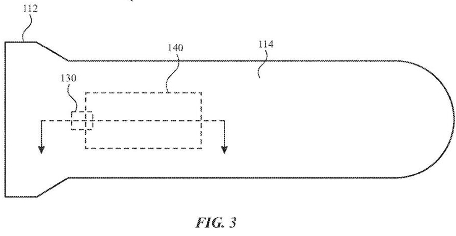
Tehnologia prezentată aici ar putea ajunge eventual și pe iPhone, asta în condițiile în care gigantul din Cupertino decide să tragă pe dreapta soluția Face ID și să ne ofere totodată și un panou cu adevărat edge-to-edge. Revenind la segmentul de smartwatch-uri, în brevet apar și mențiuni ale mutării antenelor pentru conectivitate și GPS de pe ceas în curea.
Aceasta ar fi o metodă prin care ceasul ar putea deveni mai subțire, sau o modalitate de a face loc la interior pentru alte componente sau o baterie mai mare.








