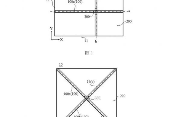
Smartphone-urile pliabile au intrat în maistream deja și pe această nișă ne impresionează în principal lipsa cutelor și, de ceva timp, variantele triplu-pliabile. Ei bine, iată însă că Honor a brevetat un concept nou, un smartphone cu nu mai puțin de patru secțiuni pliabile, inspirat din modul în care se pliază hârtia în tehnica origami. Despre ce e vorba?
Dacă telefoanele pliabile actuale par deja impresionante, ideea unui dispozitiv care se pliază de patru ori duce complexitatea la un alt nivel. Documentul publicat descrie un telefon cu un ecran flexibil mare, care se poate comprima într-un format suficient de mic pentru a încăpea într-un buzunar. Pe hârtie, conceptul pare spectaculos, dar nu e clar în ce măsură poate fi aplicat în realitate pentru moment.
În prezent, majoritatea telefoanelor pliabile folosesc un singur punct de pliere, asemănător unei cărți care se deschide. Acest sistem transformă un telefon obișnuit într-un dispozitiv cu ecran de dimensiunea unei tablete. Modelele cu trei pliuri adaugă încă o articulație, oferind și mai mult spațiu de afișare, dar crescând semnificativ complexitatea mecanică. Un telefon cu patru pliuri ar necesita mai multe puncte de pliere pe același ecran flexibil. Ar ajunge totuși în formă compactă pliat, iar deschis ar avea dimensiunea unui mic laptop.
Provocarea constă în faptul că fiecare secțiune a display-ului ar trebui să se alinieze perfect la fiecare pliere pentru a evita uzura prematură, cutele vizibile sau deteriorarea panoului. Evident, un brevet nu înseamnă automat că va exista un produs final. Companiile depun constant astfel de documente pentru a-și proteja ideile și cercetările, iar multe dintre ele nu ajung niciodată în producție.
Publicarea brevetului arată că Honor investește activ în dezvoltarea tehnologiei pentru ecrane pliabile. Totodată, brevetul indică direcția în care companiile din industria terminalelor pliabile ar putea evolua în anii următori.










