Microsoft a depus pe 23 aprilie 2025 un brevet foarte interesant pentru un dispozitiv pliabil, denumit „Kickstand for Opening Foldable Computing Device”. E vorba despre un smartphone pliabil, cu kickstand atașat, similar cu cel inclus pe tabletele Surface Pro, gândit pentru a facilita așezarea pe birou. Mai jos avem detalii.
USPTO (Oficiul pentru Brevete din SUA) a aprobat acest patent pe 7 august. Conține 37 de pagini cu detalii tehnice și schițe. Diferit față de alte brevete mai vechi e faptul că acesta e recent și pare ancorat într-un plan viitor mai concret.
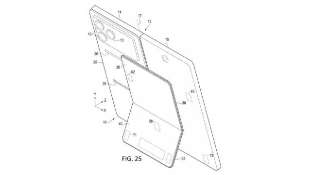
Device-ul prezentat are două ecrane conectate între ele, la fel ca în cazul terminalelor pliabile tip carte. Microsoft merge și mai departe cu o idee rară în lumea pliabilelor: deschiderea cu o singură mână. Totul e susținut de un sistem complex de balamale, blocaj mecanic (cu arc sau motor) și magneți care stabilizează dispozitivul când e complet deschis.
Potrivit desenelor din brevet, standul e format din două plăc. Placa superioară e cea pe care o apeși cu degetul pentru a declanșa deschiderea. Partea inferioară se pliază și formează piciorul de sprijin pentru dispozitiv. Microsoft sugerează că acest suport fix ar putea fi avantajul-cheie față de alte pliabile, cum ar fi Galaxy Fold sau chiar propriul Surface Duo.
Deocamdată, nu e clar dacă dispozitivul va intra în producție. Un smartphone Microsoft cu Windows ar fi destul de interesant, mulți pasionați tech visând la un astfel de terminal cu adevărat finisat, întrucât Surface Duo nu a reușit să convingă la debut.








