Huawei pare că pregătește un sistem AR/VR destul de interesant, cel puțin pe hârtie. Conform unui brevet recent publicat în China, compania lucrează la o pereche de ochelari AR/VR care include o curea detașabilă ce se poate transforma într-un inel inteligent. Inelul nu e doar decorativ, ci poate fi folosit pentru controlul interfeței ochelarilor prin gesturi, navigare și indicații punctuale.
Când este reatașat pe ochelari, acest inel funcționează pentru comenzi simple, gen tap-uri și swipe-uri, și se încarcă automat. Ideea este să elimine complet nevoia unui controller separat, ceea ce ar putea fi super practic – dacă implementarea iese bine, evident.
Deocamdată avem un brevet înregistrat sub numărul CN120871434A și a fost depus de Huawei Technologies Co., Ltd., listându-i pe Chen Qi și Yang Linlin ca inventatori. Este important de menționat că, fiind doar o aplicație de brevet, nu înseamnă automat că produsul va ajunge pe piață. Dar faptul că Huawei alocă resurse și dezvoltare către un astfel de concept arată că divizia lor de wearables este activă și vrea să joace serios în zona AR/VR, mai ales în contextul în care și alți mari jucători lucrează la soluții similare.
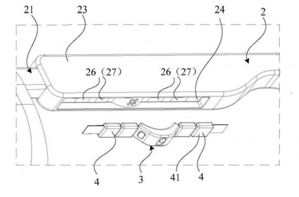
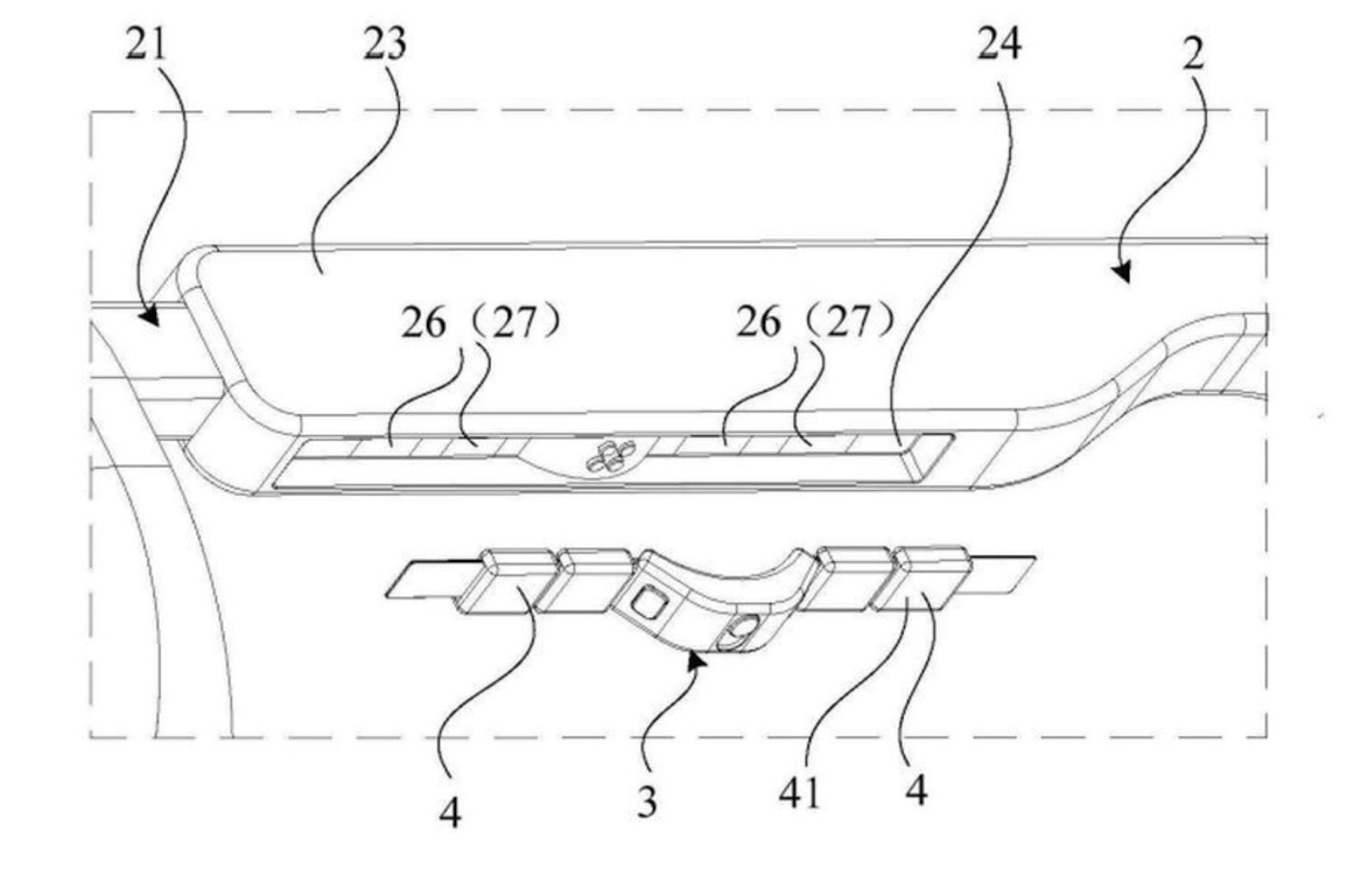
Brevetul descrie un design modular, în care cureaua smart (care devine inel) integrează mai multe funcții: zone tactile, butoane mecanice și senzori inerțiali pentru recunoașterea mișcărilor. Astfel, poți obține control fin în aplicații interactive – de la gaming AR, până la workspace-uri virtuale. Iar când vrei doar să te uiți la ceva sau să consumi conținut pasiv, reatașezi inelul pe ochelari, unde rămâne la îndemână și se încarcă automat printr-un sistem magnetic discret.
Huawei nu a făcut un anunț oficial legat de un astfel de dispozitiv și nu sunt informații despre o lansare sau un prototip funcțional. Dar cum Samsung a intrat recent in zona de casti AR/VR cu Galaxy XR, orice e posibil.













