În acest moment doar Huawei şi Oppo se bazează pe mecanisme periscopice pentru zoom optic pe telefoanele lor. Apple ar urma să o ia pe aceeaşi rută, sau să folosească o tehnologie similară, judecând după un nou brevet. Apple nu a făcut nici măcar saltul la zoom optic 3x, cum a făcut OnePlus 7 Pro de exemplu. Lucrurile se vor schimba pe viitor, iar noul brevet Apple dezvăluie tehnologia din spatele lentilelor pentru refracţie.
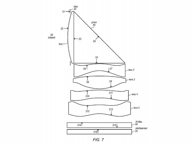
E vorba despre o prismă orientată la 90 de grade, aşa cum am văzut şi la Huawei P30 Pro. Mulţumită acestei tehnologii Apple va putea integra senzorul mai departe de obiectiv, reducând protuberanța camerelor. Primul brevet se numeşte "sistem pliat de lentile cu 5 lentile refractive". Al doilea face aluzie la "3 lentile refractive". Prisma va orienta lumina la 90 de grade către senzorul foto dedicat.
Fiecare dintre elemente va folosi lentile concave şi convexe pentru a manipula lumina. Evident de la brevet până la produsul final e cale lungă, dar sună a cameră periscopică în mod clar. Aş paria că Apple sare la zoom optic 5X, sau poate face că Oppo şi să se va lăuda mai mult cu zoom-ul hibrid 10X.
Vom scăpa şi de modulele foto mai puţin arătoase, deci încă o veste bună. iPhone 12 începe să sune brusc mai bine şi dacă zoom-ul trece la acest nivel posesorii de iPhone 11 Pro se vor frustra cu siguranţă.







