Seria de tablete Galaxy Tab de la Samsung, dar și cea Galaxy Note includ modele cu design destul de previzibil, mai ales de când Samsung a pierdut procese cu Apple și a decis să abordeze lookuri total diferite. Ei bine, astăzi a apărut pe web un nou brevet, care pare a indica existența unei tablete Samsung cu un orificiu misterios în zona din față.
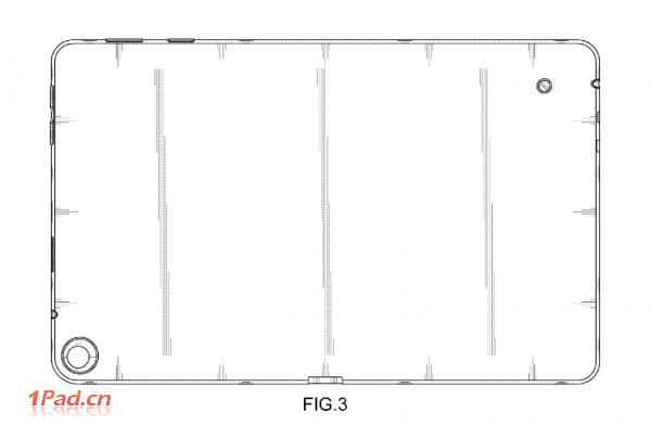
Designul este în mare cel clasic pentru un Galaxy Tab, doar că îi lipsește butonul Home frontal și remarcăm și prezența a doua difuzoare laterale. Acel orificiu este mai mare decât cel dedicat camerei spate și încă nu e clar despre ce e vorba. Remarcăm și că tableta are un mic slot pentru un S Pen, deci va face mai degrabă parte din seria Galaxy Note acest model.

Terminalul pare destul de subțire și vine cu slot microSD și butoanele obișnuite în rest. Ar putea fi vorba pur și simplu de un lanyard supradimensionat sau poate... de o funcție medicală? Mă gândesc că dacă un deget uman încape acolo se poate lua puțin sânge și se pot face analizele pe loc, ceea ce ar fi o evoluție uriașă a medicinei. Ca să nu mai vorbim de autentificare biometrică…







