Apple a primit un nou brevet, nu la fel de fistichiu precum cele augmented reality sau cele legate de terminale flexibile, dar totuşi interesant. E vorba despre un "Sistem de monitorizare sport pentru căşti, earbuds sau headseturi". Compania ar avea de gând să creeze un set de căşti speciale pentru fitness, se pare.
.jpg)
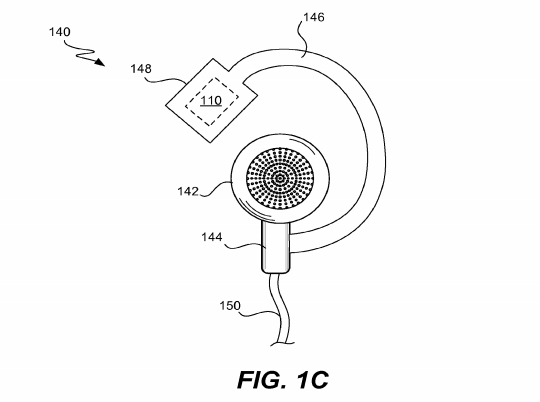
Rezultatul va fi o pereche capabilă să monitorizeze pulsul, temperatura corpului şi alte date biometrice, scăpându-ne de grija unei brăţări de fitness la încheietură. Există mai multe variante de brevet aici, cel mai vechi datând din 2008 chiar, iar acesta a fost actualizat în 2014. Iniţial se discuta despre controlul prin mişcări ale capului, dar Apple a realizat apoi că nimeni nu vrea să mişte capul în mod bizar în timpul alergării.

Ulterior s-a trecut la control vocal şi pe bază de atingere, iar noul brevet arata 3 poziţionări pentru senzorul biometric. Una e chiar în cască, alta într-un ataşament care se strecoară în spatele urechii şi în cele din urmă pe un mic fir, îndepărtat de corpul căştii. Toate cele 3 variante au aceeaşi utilitate, dar două dintre ele seamănă oarecum cu AirPods.
Să nu vă miraţi dacă Siri va intra în ecuaţie şi cumva brandingul Nike va apărea aici.






