Principala noutate pe care iPhone 6s și 6s Plus au adus-o în toamna anului trecut, se numea 3D Touch - tehnologie prin care display-ul poate face diferența între nivelurile de presiune exercitate de către utilizator. Astfel, o apăsare mai tare pe ecran ne oferă shortcut-uri rapide către anumite funcții, sau diverse modalități de interacțiune cu meniul de multitasking, respectiv cu email-urile primite.
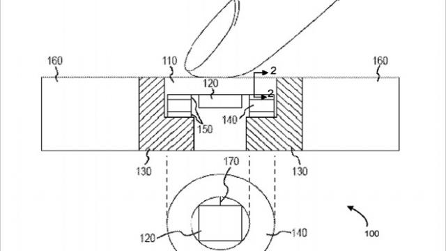
Astăzi dăm peste un nou brevet Apple, unul ce face referire la un buton home bazat pe o tehnologie similară. Din câte se poate observa și din schița de mai sus, tehnica va fi una asemănătoare, o apăsare mai tare pe butonul home urmând a oferi acces către anumite funcții extra.
Detalii despre modalitățile în care acest buton va putea fi utilizat, sunt încă necunoscute pentru moment, această invenție fiind doar pe hârtie la ora actuală. Incert este și dacă Apple va dezvolta pe viitor un astfel de buton, mai ales dacă luăm în calcul unele zvonuri futuriste ce prezic renunțarea la acest element pe viitoarele terminale.


