Deși cei de la Microsoft neagă toate zvonurile cu privire la dezvoltarea unui smartphone pliabil, brevetele asociate unui asemenea dispozitiv continuă să își facă apariția online, confirmând faptul că gigantul IT are în plan un astfel de produs. Astăzi spre exemplu descoperim un nou brevet asociat lui Microsoft Andromeda / Surface Phone care face aluzie la un soi de sistem audio dual.
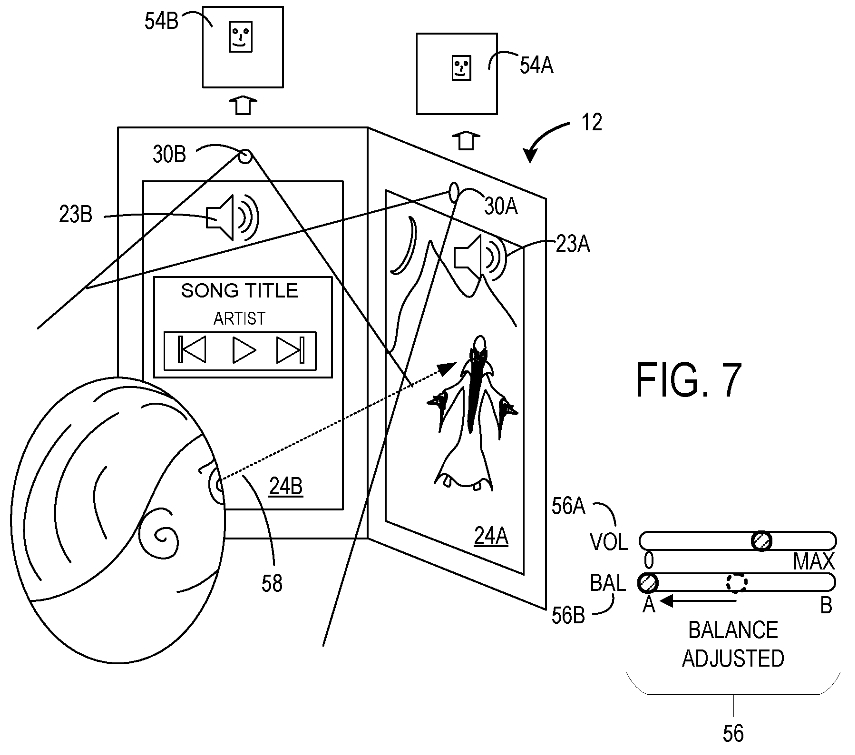
Documentele scot la iveală o tehnologie prin care volumul va putea fi ajustat în funcție de tipul de conținut afișat în multitasking pe cele două display-uri despărțite de o balama. Astfel, un exemplu este cel în care pe ecranul din dreapta rulăm un joc în vreme ce în dreapta avem deschis player-ul audio. Aici utilizatorul va putea alege un nivel al volumului diferit pentru activitățile defășurate.
Vor exista două difuzoare la bord ce vor putea fi utilizate astfel separat pentru redarea de materiale audio diferite, sau pentru playback audio stereo. Se va utiliza și recunoașterea facială pentru ca volumul să fie reglat automat în funcție de distanța la care ne aflăm de un smartphone sau când ne schimbăm privirea de la un ecran la altul.
Aparent, tehnologia ar funcționa și atunci când sunt conectate căști wireless sau căști prin fir și un alt feature este cel prin care se activează modul mute atunci când nu se detectează fața utilizatorului prin preajmă. Slider-ul de volum va fi prezent și în mod software pe ecran iar documentul indică posibilitatea de a vedea butoane power și de volum cu feedback haptic.
Nu știm totuși dacă tehnologia va ajunge până la urmă pe Surface Phone a.k.a Andromeda și nici măcar dacă acest dispozitiv va fi lansat într-un viitor apropiat.









