Chiar dacă ne-am obişnuit cu ideea de input via touchscreen de un deceniu deja, se caută o paradigmă nouă pentru control şi input. Microsoft are un brevet nou şi interesant, care implică interacţiunea cu un device fără atingere. Despre ce e vorba aflaţi mai jos.
Înainte să vă scriu despre ce e vorba, aflaţi că Microsoft a mai încercat ceva de gen cu ani în urmă. Pe atunci tehnologia se numea "3D Touch" şi presupunea interacţiunea cu tile-urile din Windows Phone doar prin ţinerea degetelor deasupra acelor tile-uri, la o distanţă de câţiva milimetri, poate mai sus. Ideea nu a prins şi nu s-a mai concretizat, dar Microsoft revine printr-un concept de "input fără atingere".
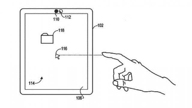
De această dată e vorba despre un brevet acordat companiei din Redmond şi publicat de Biroul SUA de Trademark-uri şi Brevete pe 10 iulie. Documentul poartă numele de "Touchless input". Sistemul implică o cameră în stilul celei TrueDepth de pe iPhone, care creează o imagine 3D a feţei pentru a putea identifica utilizatorul. Microsoft vrea să folosească o cameră similară pentru a crea o hartă a adâncimii unei zone, ce include şi un subiect uman.
Un sistem de detecţie scanează fiecare pixel dintr-o hartă 3D pentru a identifica ce e persoană şi ce este un obiect sau o textură de alt fel. Lucrurile merg mai departe de atât, prin modelarea unui subiect uman cu schelet virtual şi încheieturi virtuale. Mişcările încheieturilor vor fi comparate cu alte hărţi 3D capturate pentru ca sistemul să îşi dea seama ce gest facem. Totul pe bază de machine learning.
Sistemul poate urmări multiple persoane, dar şi obiecte fizice. Mecanismele Microsoft vor putea identifica poziţia degetului în spaţiul fizic şi interpreta gesturile realizate în aer. Totul fără a atinge ecranul tactil. Se pot realiza gesturi complexe, de click şi drag and drop, zoom in şi out, panning, dublu tap, rotire şi altele de gen. Pot fi emulate şi gesturi ale mouse-ului.
Dacă o cameră din sistem are rezoluţia destul de ridicată va putea chiar identifica amprenta unui utilizator. Sună ca o idee pusă în practică de un nou Kinect, poate...



