Samsung a făcut un obicei deja din brevetarea de terminale ce se pot îndoi şi să îşi extindă aria, devenind din telefon tabletă sau chiar purtabil. Cel mai nou astfel de device este Galaxy Wings, care a primit un brevet oficial recent.
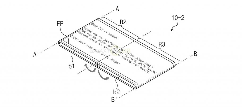
Terminal multifuncţional, modelul de față îşi primeşte numele prin faptul că are... un soi de aripi, care flanchează corpul său. Ştim că la anul Samsung ar avea programată lansarea unui astfel de model flexibil, sub numele de Galaxy X, deci nu ne miră brevete de genul. Ceea ce vedem în imaginile brevetului sunt 2 porţiuni de tastatură ce flanchează un corp dreptunghiular de device.
Terminalul se poate şi îndoi şi plasa apoi pe noptieră ca un ceas deşteptător sau chiar pe încheietură ca o brăţară. Evident nu aşteptam în magazine un astfel de produs prea curând, ci mai degrabă un prototip la CES 2017. Sunt multe aspecte de rezolvat, în special componentele flexibile ce vor trebui integrate pe noul model, în afară de baterie şi ecran, a căror flexibilitate a fost deja rezolvată.









