Undeva prin anul 2009 sau 2010, când tabletele încă păreau un concept futurist şi primul iPad de abia primea contur, Microsoft lucra la un proiect interesant. Se numea Courier şi se dorea a fi o tabletă cu două display-uri, care se deschidea ca o carte. La ultima verificare proiectul fusese anulat, dar acum vedem un brevet proaspăt.
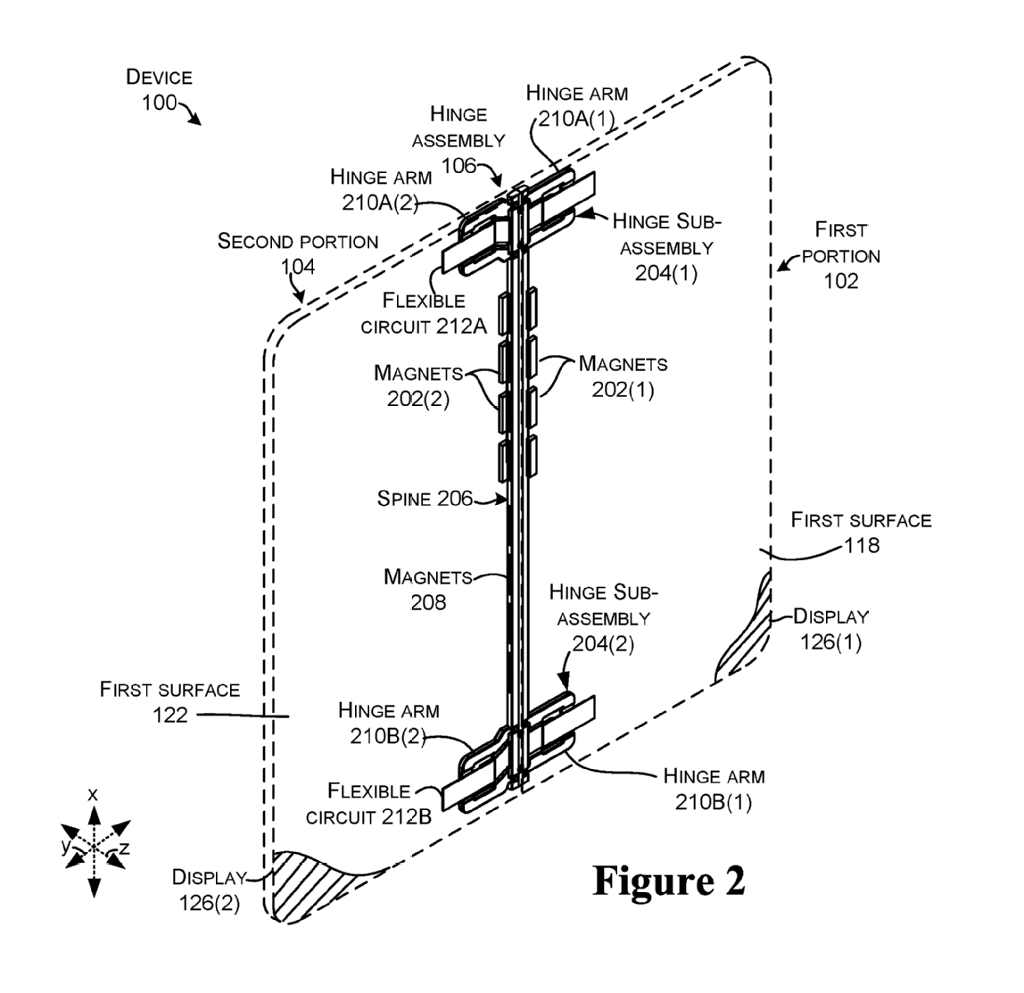
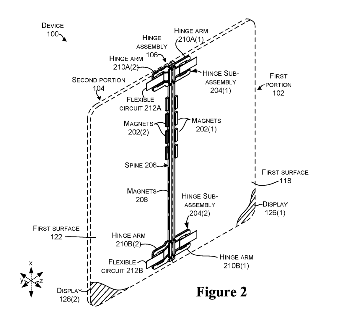
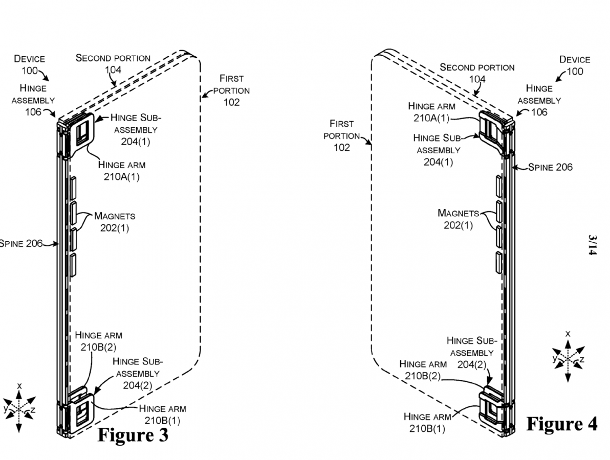
Faţă de ultimele scăpări de acum câţiva ani, terminalul pare a fi ceva mai subţire şi include porţiuni flexibile, magneţi şi o balama invizibilă între cele două porţiuni de ecran. Cea mai nouă dovadă a existenţei acestui proiect provine din anul 2016, prin intermediul unui brevet care tocmai a fost publicat. Ştim că Microsoft se descurcă excelent cu magneţii şi balamalele cu design inteligent de la produse ca Surface Pro sau Surface Book, deci produsul ar putea fi atractiv.
Inventatorul acestui terminal, Kabir Siddiqui este acelaşi care are un brevet pe numele său pentru Surface Kickstand. De vreme ce Samsung tot lucrează la o tabletă flexibilă de ani buni şi am putea vedea rezultate în sfârşit în 2018, Microsoft pare să fi simţit nevoia de a plusa la acest capitol. Nu suntem totuşi prea optimişti pentru că proiectul a fost deja anulat prin 2010 şi un brevet nu înseamnă neapărat şi realizarea unui produs.
Microsoft e cunoscută pentru proiectele sale celebre ucise de la Kin şi terminale Nokia ca McLaren până la ceasul Moonraker.








