Încă nu este clar dacă Samsung Galaxy S8 va sosi cu o cameră foto duală la pachet, dar din când în cand mai apar pe web materiale ce par a ne confirma într-o măsură acest lucru. Astăzi aruncăm o privire asupra unui nou brevet primit de către sud-coreeni, brevet ce detaliază o configurație de tip cameră duală ce este integrată pe un smartphone.

Din câte putem vedea, se merge pe un sistem similar cu cel întâlnit pe LG G5 (unde senzorul principal era responsabil cu captura foto standard, pe când senzorul secundar era capabil de realizarea unor fotografii wide inedite). Totuși, din câte ne dezvăluie aplicația de brevet, se pare că Samsung are în minte o altă funcționalitate pentru acest setup dual.
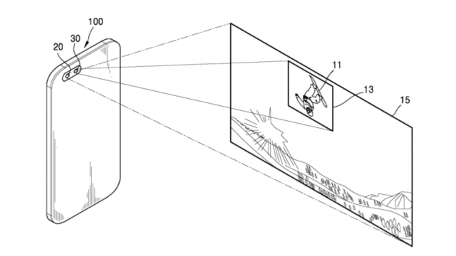
Aflăm că senzorul wide este capabil să urmărească orice obiect aflat în câmpul vizual, în timp ce senzorul principal va realiza fotografii clare unde atât subiectul, cât și background-ul vor fi focalizate. Se notează aici și faptul că senzorul principal adoptă lentile telephoto ce vor permite și ajustarea zoom-ului fără a se pierde din focalizare.
Desigur, ne așteptăm și la oferirea unor funcții ce ne vor permite modificarea punctului de focus chiar și după realizarea fotografiilor și poate chiar la un mod Portret ca pe iPhone 7 Plus.


