Samsung a aplicat pentru un nou brevet în această săptămână, unul care are de-a face cu un cititor optic de amprente, care va fi integrat în ecranul telefonului. Nu e prima oară când auzim de această idee, dar e primul brevet pe care îl vedem asociat lui Galaxy S10.
Încă dinainte de lansarea lui Galaxy Note 8 se specula că Samsung ar pregăti integrarea unui mecanism de gen pe terminalele sale. El a fost apoi amânat pentru S9 şi Note 9, dar nu s-a concretizat nici pe ele. Problemele cu producţia noului tip de panou au tras iniţiativa în spate. Acum aflăm că Galaxy S10 va inaugura această tehnologie, asta dacă nu vine vreun telefon midrange cu ea înainte, cum am văzut cu setupul cu 3 sau 4 camere în spate.
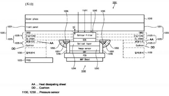
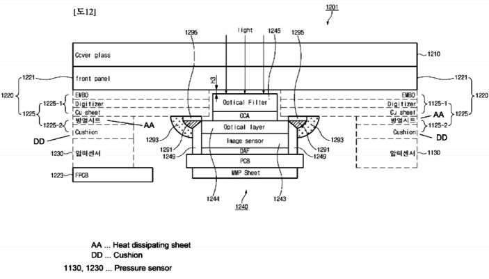
Brevetul cel nou a fost publicat de WIPO şi poartă numele de "Electronic Device Comprising Biometric Sensor". A fost înregistrat din aprilie 2017 şi implică un senzor optic integrat sub display. E clar vorba despre un telefon Galaxy S, cu muchii uşor curbate. A se remarca şi că "buza" de jos a ecranului e foarte îngustă, un posibil indiciu că e cu adevărat un Galaxy S10.
Auzisem pe finalul acestei veri că Samsung ar folosi de fapt un senzor ultrasonic şi nu optic pentru citirea amprentelor pe S10. Senzorul ultrasonic are avantajul preciziei crescute, faţă de cel optic, dar acesta din urmă este de 3 ori mai ieftin. Încă un plus pentru senzorul ultrasonic este că acoperă întreaga suprafaţă a ecranului şi funcţionează şi cu degetele ude sau murdare.









