Seria de modele iPhone e pe cale să se diversifice prin sosirea lui iPhone 5SE în următoarele săptămâni, dar se pare că Apple are planuri şi mai mari de atât. Au apărut zvonuri despre un iPhone Pro cu diagonală de 5.8 inch, cu panou OLED şi cu o abordare de design inedită.
Terminalul ar debuta în anul 2017, iar ecranul ar urma să continue şi pe muchiile handsetului, prin acea abordare "wraparound" studiată de LG şi Samsung în ultimii ani sub formă de concepte. Practic Apple ar elimina ideea de muchie laterală, folosind un panou din sticlă, care se curbează şi acoperă complet acea zonă, ajungând până în spatele telefonului.
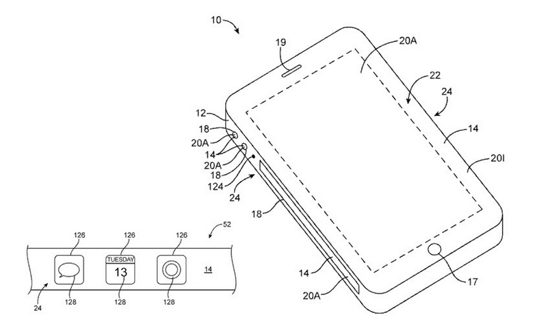
Porţiunile laterale de ecran vor include butoane virtuale de volum şi alte mecanisme de control. În septembrie anul trecut Apple primea un brevet pentru un ecran curbat care afişează imagini ce par să vină dintr-o "buclă continuă". Dacă ne luăm după speculaţii acest iPhone Pro ar urma să aibă forma de cilindru şi să fie fabricat complet din sticlă.
El ar putea folosi şi 3D Touch în loc de butoane, spun aceleaşi surse. Despre trecerea la panouri OLED pe modelele iPhone s-a mai vorbit, dar panourile flexibile şi curbate sunt o noutate şi ar mai putea avea de aşteptat.

.png)
.png)





