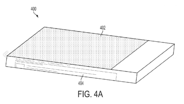
De curând, Biroul de Brevete și Trademark US a publicat o aplicație de brevet a celor de la Microsoft, aplicație ce a fost depusă acum mai bine de un an. Aceasta face referire la un terminal care va include pe lângă un display standard și un alt ecran care practic se va înfășura spre marginile terminalului.
Deși Microsoft nu prezintă cu exactitate dacă este vorba despre un smartphone sau o tabletă, acest concept de terminal arată foarte bine, fiind totodată similar și cu dispozitivul concept al celor de la Samsung ce a fost prezentat la CES în 2013, și anume Samsung Youm. Acesta din urmă adopta tot un display flexibil curbat spre margini.

Aplicația de brevet precizează și faptul că display-ul secundar flexibil ar putea fi folosit atât pentru afișarea nivelului de încărcare a bateriei, cât și pentru o serie de alte notificări. Rămâne de văzut dacă acest concept Microsoft va ajunge pe piață în următorii ani, sau va rămâne doar la acest stadiu.






