Am văzut în ultima perioadă numeroase brevete primite de către companii precum Samsung, Apple și mai nou Microsoft pentru invenții ce prezentau terminale flexibile sau pliabile. De astăzi și Nokia este inclusă pe această listă a producătorilor ce au în plan lansarea de smartphone-uri pliabile ce se pot transforma instant din smartphone în tabletă veritabilă și viceversa.
.jpg)
Descoperim că finlandezilor le-a fost acordat în luna septembrie a anului trecut un asemenea brevet pentru o aplicație pe care aceștia au completat-o fix acum 3 ani în 2013. Posibil ca aprobarea invenției să fi fost trecută în standby pe timpul când brandul Nokia a fost sub conducerea celor de la Microsoft, iar acum s-a dat unda verde.
.jpg)
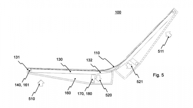
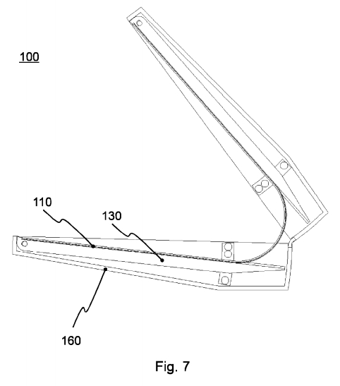
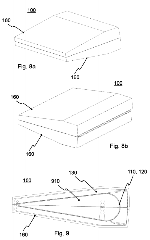
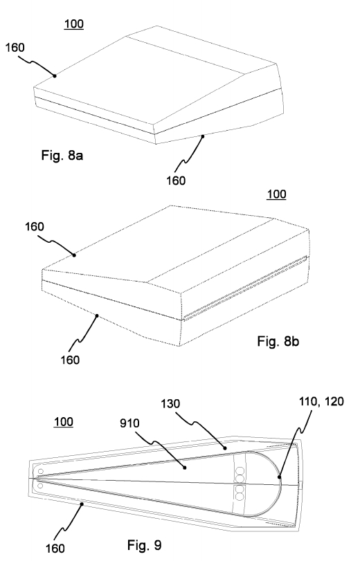
Dispozitivul prezentat în schițele asociate acestui brevet se aseamănă unei oglinde de buzunar ce include două părți identice conectate de o balama. Deasupra acestora avem display-ul flexibil ce se îndoaie atunci când cele două părți ale device-ului sunt închise asemenea unui laptop.
La prima vedere acest concept prezentat aici pare a fi un pic cam butucănos și rămas în trecut, dar este de înțeles ținând cont de faptul că brevetul a fost completat încă din 2013. Este interesant totuși faptul că producătorii din zona smartphone lucrează și la asemenea dispozitive ale viitorului, fără a se ști cu precizie când un produs de genul va ajunge să fie comercializat pe piață într-o formă compactă și arătoasă.
.jpg)
.jpg)

.jpg)

