În primele zile ale anului descopeream printre altele și lansarea ineditului televizor LG Signature OLED TV, un dispozitiv cu ecran rulabil ce se rula și derula dintr-o bază dock la utilizare. Acum aflăm că și Apple se familiarizează cu acest tip de panou, asta ca urmare a unui brevet proaspăt apărut online ce dezvăluie planurile companiei din Cupertino de lansare a unor produse deosebite.

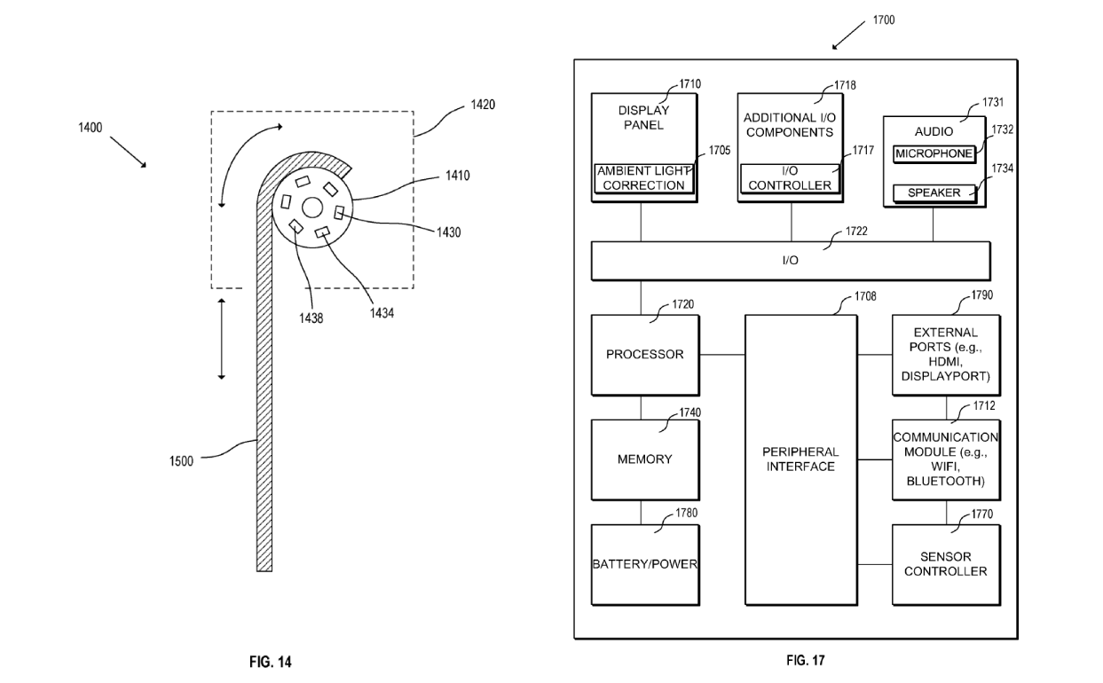
Din documentele asociate brevetului aflăm că este vorba despre un ecran LED menit să fie utilizat pentru device-uri rulabile și pliabile, inclusiv în domeniul purtabilelor. În numeroasele schițe incluse aici vedem și un viitor Apple Watch care va beneficia de această tehnologie, ecranul fiind prezent atât pe cadran cât și pe curea, o abordare similară pe care am văzut-o sub formă de invenție anterior.
Exact ca în cazul acelui brevet Apple pe care vi l-am prezentat aici, utilizatorii vor putea schimba culoarea curelei în funcție de preferințe și astfel asorta gadget-ul cu ținuta purtată. Nu ar fi exclus ca pe această curea-ecran să fie afișate și notificări sau diferite aplicații precum player audio sau diferite animații.
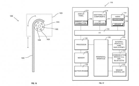
O altă idee Apple este aceea de a folosi un asemenea ecran pentrun televizor rulabil cu bază cilindrică unde se vor afla porturile HMDI, DisplayPort și altele necesare pentru conectivitate. Vedeți schița asociată mai sus și deși această tehnologie de ecran rulabil ne atrage atenția, va mai dura ani buni până când Apple va aduce așa ceva comercial.







