Nu doar Samsung şi Apple brevetează tehnologii inedite, ci şi Google. E cazul tehnologiei etalate mai jos, extrasă dintr-un brevet proaspăt Google, care face referire la un ecran de PixelBook cu motoraşe, care îşi ajustează unghiul de vizualizare în mod ideal.
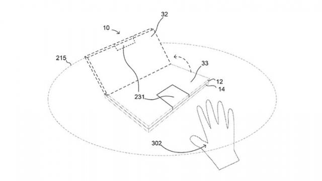
În ultimii ani am observat o evoluţie a balamalelor laptop-urilor, împinse în faţă de Surface Book şi Lenovo Yoga Book prin acele "şenile". Şi terminalele 2 în 1 au experimentat cu diferite idei. Acum cei de la Patently Mobile au descoperit un brevet pentru un Google Pixelbook care ar putea să ridice automat ecranul printr-un mecanism motorizat, atunci când apăsaţi pe "capac".

Am văzut de-a lungul anilor tablete detaşabile dintr-un format de laptop, ecrane care se învârt la 180 de grade, plus alte traznăi. Totuşi Google vrea să treacă la nivelul următor şi să includă şi motoraşe în mecanism. Mi se pare cam "first world problem" să ai nevoie ca o maşinărie să îţi ridice capacul de laptop, înlocuind unul dintre cele mai satisfăcătoare gesturi atunci când deschizi un laptop proaspăt cumpărat.
Revenind la brevet, documentele menţionează şi un sistem de recunoaştere facială în gen Windows Hello, care ar putea verifica identitatea unui utilizator şi automat să deblocheze terminalul. Apoi va ridica ecranul şi îi va ajusta mereu poziţia şi unghiul de vizualizare. Când plecaţi din fața PC-ului, capacul cu ecranul se lasă în jos automat.
Trebuie spus totuşi că brevetul a fost înaintat în 2013 spre aprobare, deci e posibil să rămână doar un proiect, mai ales că motoraşele ar cam consuma energie multă.


