Telefonul Microsoft Surface Phone apare foarte rar în zvonuri, dar când o face e vorba despre scăpări destul de serioase şi plauzibile. Azi suntem destul de departe de aşa ceva, pentru că am dat peste un device care e mai mult hotspot mobil decât telefon.

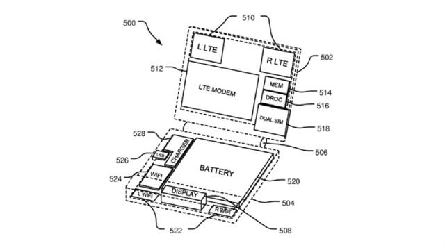
La prima vedere veştile sunt bune, cu un "terminal mobil cu opţiuni avansate de conectivitate" prezentat de brevet. Documentele provim de la Biroul SUA de Brevete şi Trademark-uri, deci par autentice. Descrierea aparatului face referire la conexiunea la web via LTE, 3G şi WiFi, plus că e menţionată o baterie de 1500 mAh şi suport pentru WiFi în banda de 5 GHz şi nu 2.4 GHz.
Mărimea antenelor, bateriei şi a altor elemente nu este detaliată clar. Ştim totuşi că terminalul măsoară 90 x 57 mm şi că formatul adoptat este unul de clamshell, deci un model cu clapetă. Acel mic ecran se va ridica din corpul terminalului şi subliniez din nou că nu avem de-a face cu un telefon aici. Avem la bord probabil doar un ecran care serveşte ca indicator pentru tăria semnalului, tipul de conexiune şi numele reţelei, plus viteza.
Există şi o porţiune de antene care poate fi rotită într-o poziţie optimă pentru recepţionarea semnalului şi există şi locaşuri pentru SIM şi stocare flash. E interesant să vedem Microsoft brevetând aşa ceva, mai ales că în ultimii ani au tot lansat accesorii de productivitate, de obicei unele legate de interacţiunea cu ecranul touch precum acel Dial. Să fie acesta un Surface Hotspot? Vom vedea probabil în lunile următoare.




