Deși primul terminal cu ecran curbat al companiei Samsung, și anume Galaxy Round, nu prea a avut mare succes, cei de la Samsung se pare că doresc să lanseze în continuare pe piață astfel de device-uri, sau cel puțin device-uri cu margini curbate de această dată.
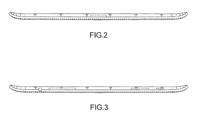
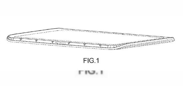
De curând, o aplicație pentru brevet a celor de la Samsung dezvăluie o serie de schițe pentru o tabletă care va dispune de margini curbate, modalitate prin care tableta în sine ar putea fi mult mai ușor de utilizat și de ținut în ambele mâini.

De asemenea, s-ar putea ca acest concept să ajungă realitate ca fiind un nou produs marca Nexus, chiar dacă zvonurile din ultimul timp sugerează faptul că HTC se află în spatele noii tablete Nexus ce va fi lansată în acest an. Cu toate acestea, coreeni de la Samsung ar putea vedea în acest concept o modalitate de refresh a design-ului curent de tablete, design ce se aseamănă din ce în ce mai mult de la o generație la alta.




