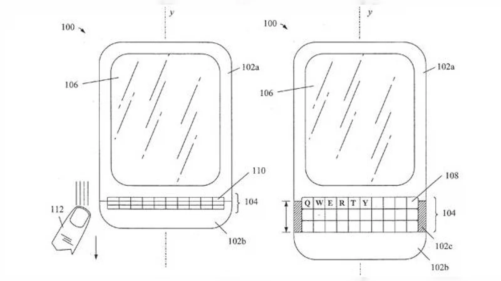
Ideea unei tastaturi "ascunse" pe un telefon nu este nouă, deoarece cam acesta este principiul unei tastaturi glisante. Ei bine, acum BlackBerry vine cu o idee nouă, brevetând o tehnologie inedită, care ascunde tastatura sub forma unui mecanism de tip acordeon.
Tastele sunt ascunse în corpul telefonului și ele își fac apariția atunci când trageți de o secțiune retractabilă a handsetului. BlackBerry afirmă că această idee se poate aplica smartphone-urilor standard cu un design obișnuit de tastatură, dar și cu un design neobișnuit. Acesta din urmă implica plasarea unei părți a tastelor în părți opuse ale ecranului, cam ca pe telefonul LG Doubleplay. Deocamdată BlackBerry Q10 e singurul model cu QWERTY de la BlackBerry și bănuiesc că mai avem de așteptat până ce inovația va fi pusă în practică.
BlackBerry a mai inovat recent pe partea de tastaturi, prin intermediul celei virtuale pe care o folosește în BlackBerry 10 OS și care are un sistem nou de sugestii pe măsură ce utilizatorul scrie. Să vedem întâi dacă BlackBerry Z10 și Q10 se vor vinde destul de bine încât să mai existe un viitor pentru companie...


