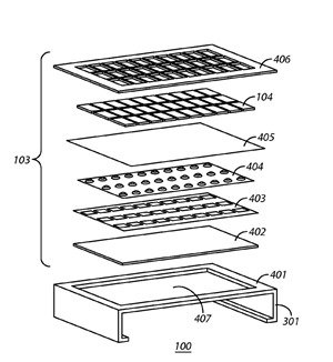
BlackBerry pare mereu gata să ne uimească cu un nou telefon cu tastatura fizică, doar că... nu o face. Ei bine astăzi vedem un nou brevet al canadienilor, care implică o tastatură fizică aplicată peste un ecran touch.
Ideea este de a aduce experienta modelului Q10 de exemplu pe terminale ca BlackBerry Z10 sau Z30. Evident, asta ar însemna creșterea în grosime a acestor modele și ca utilizatorul să aibă mereu la el acest accesoriu tastatură. Evident un brevet nu înseamnă și că produsul va deveni realitate și trebuie să recunosc că nu e prima oară când aud de așa ceva.

Totuși ideea unei tastaturi fizice aplicate peste un ecran touch e ca și cum ai pune roti peste lamele unei sanii, pentru a semăna cu un automobil. Doar pentru că seamănă nu înseamnă că și este. Poate că BlackBerry ar trebui să se concentreze mai mult pe software și mai puțin pe "inovații" de acest gen.


