Dacă LG a brevetat recent un smartphone pliabil, ei bine sud coreenii au pliat şi altceva şi anume o componentă de stylus. Compania a brevetat recent un stylus inteligent, care include un fel de porţiune extensibilă şi rulabilă ca un pergament sau ca un ecran special de proiector dacă vreţi.
E clar că LG simte presiunea sosirii lui Galaxy Note 9 cu stylusul său revoluţionar şi vrea să pluseze cu ceva deosebit. Până una alta, LG cu modelele sale de telefoane Q Stylus încearcă să ţină piept lui Note, într-o zonă mai modestă de preţ. Noul brevet indică sosirea unui Pen cu o zonă care se rulează şi se scoate din el. LG înregistra tehnologia încă din 5 august 2015, deci acum 3 ani.
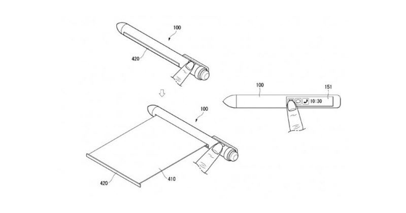
Conceptul implică ideea de "smart pen", care are două afişaje, unul mic pe corp şi altul care se trage sub forma acelui "pergament". Cel mic afişează notificări şi shortcut-uri şi cel mare afişează tot restul. Acest Smart Pen este mai gros decât stylusul clasic şi vine cu un buton lateral, care atunci când e apăsat retrage ecranul cel mare.
Aparent terminalul ar fi unul de sine stătător pe care puteţi vedea filme, SMS-uri şi la bord sunt şi mulţi senzori care ne fac să credem că acest device ţine loc de smartphone. Are giroscop, busolă, cameră şi chiar senzori eye tracking. Mai mult decât atât, are scanner de amprente, microfon şi difuzor pentru convorbiri. Se poate conecta la orice terminal şi sună ca o revoluţie mai mare decât noul S Pen de la Note 9 dacă e să fim sinceri.






