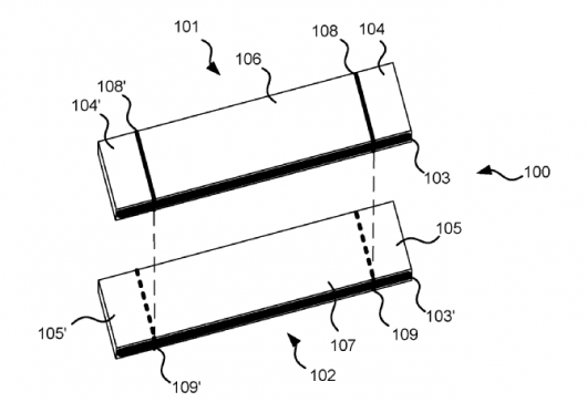
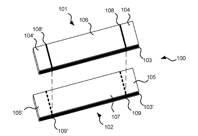
Cu toate că nu știm cu certitudine dacă Surface Phoneva mai deveni real vreodată, iată că brevete asociate acestui produs continuă să sosească online. Vedem astăzi o nouă astfel de aplicație de brevet pe care Microsoft a depus-o în luna februarie a anului 2016 și care poartă titlul următor "Cover of device acting as antenna of the device". Din traducere rezultă că într-un fel sau altul carcasa metalică a acestui device va servi pe post de antenă.

Aparent, conceptul funcționează pentru că handset-ul se "leagănă" în jurul unei balamale poziționate în centrul dispozitivului - modalitate prin care utilizatorii nu au cum să contribuie la pierderea semnalului precum unele companii sugerau atunci când precizau că utilizatorii țin greșit terminalul în mână și astfel pică semnalul.
Ni se dezvăluie că omul din spatele acestei aplicații de brevet este Antti Karilainen, un expert în domeniul Antene și RF ce a lucrat în trecut la câteva proiecte mobile Microsoft. Dacă această idee se va aplica vreodată pe un produs sau pe acest posibil Surface Phone este greu de știut, zvonurile recente susținând că abia spre finalul lui 2018 sau în 2019 vom vedea un dispozitiv de genul.







