Știri despre: Brevet pe Mobilissimo.ro - Pagina 25

Huawei a brevetat un nou telefon pliabil, care aduce cu Galaxy Fold şi are cameră periscop; Mate X2 la orizont?

Huawei a brevetat un nou telefon pliabil, care aduce cu Galaxy Fold şi are cameră periscop; Mate X2 la orizont?

Publicat: Joi 30-apr-2020 16:25 - Autor: Radu Iorga - Afișat de 1.775 oriHuawei părea să fi pus pe pauză proiectele legate de telefoane pliabile, atunci când a declarat că a avut pierderi de 60 de milioane de dolari cu Mate Xs. Totuşi în culise continuă dezvoltarea produselor de acest tip [...]
Telefonul cu camera rotativă orizontal este în cărţi la Xiaomi, după un brevet pe această temă

Telefonul cu camera rotativă orizontal este în cărţi la Xiaomi, după un brevet pe această temă

Publicat: Luni 27-apr-2020 11:10 - Autor: Radu Iorga - Afișat de 1.275 oriXiaomi continuă să se ţină departe de telefoanele pliabile, chiar dacă are destule brevete şi scăpări în această zonă. Acum ne propune o nouă modalitate de a integra camerele pe smartphone-uri, ce e drept una care [...]
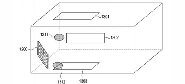
Huawei a brevetat smartphone-uri cu ecran extensibil; Iată ce înseamnă asta

Huawei a brevetat smartphone-uri cu ecran extensibil; Iată ce înseamnă asta

Publicat: Vineri 17-apr-2020 11:00 - Autor: Radu Iorga - Afișat de 4.825 oriHuawei a brevetat în ultima lună telefoane destul de trăznite, cu ecran inel în jurul camerei sau cu o cameră uriaşă mutată lateral în spate, iar acum revine la telefoane pliabile şi flexibile. Face asta printr-un nou brevet, care indică sosirea [...]
Apple te păzeşte de rechini cu această nouă funcţie de Apple Watch; A brevetat un senzor pH subacvatic

Apple te păzeşte de rechini cu această nouă funcţie de Apple Watch; A brevetat un senzor pH subacvatic

Publicat: Miercuri 15-apr-2020 09:17 - Autor: Radu Iorga - Afișat de 2.750 oriAm auzit de poveşti cu Apple Watch-uri care au salvat oameni detectând fibrilaţia atrială la timp sau căderi ale celor bătrâni, dar acum ni se pregăteşte ceva şi mai şi. Apple ar fi brevetat un sistem special care poate notifica un înotător sau,, [...]
Samsung Galaxy S21 ar putea avea un ecran curbat pe toate cele 4 laturi; Un brevet al Samsung Display apare online

Samsung Galaxy S21 ar putea avea un ecran curbat pe toate cele 4 laturi; Un brevet al Samsung Display apare online

Publicat: Marți 7-apr-2020 17:19 - Autor: Claudiu Sima - Afișat de 4.500 oriLeak-urile asociate lui Samsung Galaxy S21 erau inevitabile și iată că acestea apar la doar o lună distanță de la startul comercializării lui Galaxy S20, inclusiv la noi pe plan local. După cum aflați încă din titlu, astăzi descoperim un brevet [...]
Cel mai nou brevet Xiaomi prezintă un smartphone cu display "cascadă" și cameră selfie sub ecran; Nu are butoane fizice

Cel mai nou brevet Xiaomi prezintă un smartphone cu display "cascadă" și cameră selfie sub ecran; Nu are butoane fizice

Publicat: Luni 6-apr-2020 14:00 - Autor: Claudiu Sima - Afișat de 5.300 oriO inovație la care lucrează multe nume mari din zona smartphone la ora actuală este implementarea camerei selfie sub display, dezvoltarea unui astfel de sistem fiind destul de dificilă pentru că după cum am aflat pe final de an 2019 [...]
Smartphone-ul Xiaomi cu breton atipic revine într-o variantă actualizată; Apare un nou brevet

Smartphone-ul Xiaomi cu breton atipic revine într-o variantă actualizată; Apare un nou brevet

Publicat: Luni 30-mar-2020 12:21 - Autor: Claudiu Sima - Afișat de 2.525 oriPe finalul lunii iulie a anului trecut descopeream printre altele și un brevet inedit marca Xiaomi ce prezenta un telefon cu breton atipic în zona superioară, ceva clar nemaivăzut până în acel moment. Reprezenta o abordare interesantă [...]
Huawei pregătește încă un design nou de cameră pentru un potenţial Mate 40; Vedem un brevet

Huawei pregătește încă un design nou de cameră pentru un potenţial Mate 40; Vedem un brevet

Publicat: Miercuri 25-mar-2020 18:12 - Autor: Radu Iorga - Afișat de 2.075 oriDupă ce am văzut ieri o propunere inedită de design de la Huawei, cu un ecran circular în jurul camerei de pe Mate 40, azi apare încă un brevet al companiei chineze. Ar fi tot legat de Huawei Mate 40 şi mută camera generoasă lateral [...]
Samsung lucrează la un display de smartphone de nouă generație numit “PIFF”; Ar putea fi un ecran extensibil

Samsung lucrează la un display de smartphone de nouă generație numit “PIFF”; Ar putea fi un ecran extensibil

Publicat: Vineri 13-mar-2020 12:34 - Autor: Claudiu Sima - Afișat de 925 oriPe lângă brevetele de design pare le vedem destul de des, companiile tech de pe piață înregistrează și diferite mărci comerciale asociate unor viitoare produse sau chiar tehnologii. Astăzi descoperim că sud-coreenii [...]
Apple brevetează un nou tip de telefon pliabil, care ar putea rezolva problema modelelor  actuale; Ar putea fi și un iPad cu două ecrane!

Apple brevetează un nou tip de telefon pliabil, care ar putea rezolva problema modelelor actuale; Ar putea fi și un iPad cu două ecrane!

Publicat: Miercuri 11-mar-2020 10:11 - Autor: Radu Iorga - Afișat de 625 oriApple a brevetat încă un terminal pliabil, de această dată unul care scapă de problemele clasice ale telefoanelor pliabile actuale. E vorba despre posibilitatea unui ecran de acest tip de a face cute sau a se crăpa [...]
Apple a brevetat un nou iPhone pliabil, cu 3 configuraţii posibile; Apare şi un nou concept viral de iPhone pliabil cu clapetă

Apple a brevetat un nou iPhone pliabil, cu 3 configuraţii posibile; Apare şi un nou concept viral de iPhone pliabil cu clapetă

Publicat: Joi 5-mar-2020 11:00 - Autor: Radu Iorga - Afișat de 2.450 oriTelefoanele pliabile au început să devină tot mai populare, deşi rămân încă prohibitiv de scumpe pentru publicul de masă. Încă aşteptăm acea intrare pe piaţa pliabilelor a celor de la Xiaomi cu un model [...]
Oppo brevetează un smartphone cu 7 camere foto în spate; Iată-l într-o serie de randări detaliate

Oppo brevetează un smartphone cu 7 camere foto în spate; Iată-l într-o serie de randări detaliate

Publicat: Luni 24-feb-2020 14:41 - Autor: Claudiu Sima - Afișat de 1.975 oriÎn ultimul an am văzut cum Oppo a început să pună un accent mai mare și pe partea foto, astfel că în portofoliul companiei au început să apară telefoane precum Reno 10x Zoom care făceau o impresie plăcută [...]
Xiaomi a brevetat un SIM care e şi card de memorie; Iată noua abordare

Xiaomi a brevetat un SIM care e şi card de memorie; Iată noua abordare

Publicat: Luni 24-feb-2020 02:10 - Autor: Radu Iorga - Afișat de 2.050 oriÎn ziua de azi tot mai multe companii lansează telefoanele fără slot microSD sau te pun să alegi între al doilea SIM şi microSD. Xiaomi vine cu o soluţie sub forma unui brevet ce propune un hibrid între SIM şi stocare externă. Avem detalii mai jos [...]
Xiaomi propune o altă abordare de look pentru smartphone-ul său cu display dual! Ar fi un model Mi Mix 2020

Xiaomi propune o altă abordare de look pentru smartphone-ul său cu display dual! Ar fi un model Mi Mix 2020

Publicat: Vineri 21-feb-2020 14:40 - Autor: Radu Iorga - Afișat de 625 oriA trecut ceva vreme de când s-au stins zvonurile legate de Xiaomi Mi MIX 4, care a plutit pentru o perioadă în feed-urile noastre de ştiri - fiind uitat rapid după apariția ineditului concept Mi Mix Alpha [...]
Xiaomi se inspiră de la Vivo pentru noul său brevet de smartphone cu display dual

Xiaomi se inspiră de la Vivo pentru noul său brevet de smartphone cu display dual

Publicat: Sâmbătă 15-feb-2020 10:40 - Autor: Claudiu Sima - Afișat de 850 oriÎn anul în care tot mai multe companii își prezintă măiestria în materie de smartphone-uri pliabile descoperim că unii aleg să vină cu alternative la asemenea produse. Un exemplu este Xiaomi care lucrează la un telefon [...]
Oppo a brevetat un stylus care realizează apeluri telefonice; Iată cum arată

Oppo a brevetat un stylus care realizează apeluri telefonice; Iată cum arată

Publicat: Marți 11-feb-2020 17:50 - Autor: Radu Iorga - Afișat de 675 oriOppo continuă să fie una dintre cele mai curajoase companii când vine vorba despre tehnologii noi. Au fost primii cu încărcare ultra rapidă Super VOOC, au încercat să integreze o cameră selfie sub display [...]
Apple Watch ar putea primi cititor de amprente Touch ID în butonul crown, potrivit unui nou brevet

Apple Watch ar putea primi cititor de amprente Touch ID în butonul crown, potrivit unui nou brevet

Publicat: Vineri 7-feb-2020 17:20 - Autor: Radu Iorga - Afișat de 425 oriAuzisem de ceva vreme ca Apple pregăteşte o nouă modalitate de a securiza un Apple Watch, iar azi aflăm că ceasul ar putea primi un cititor de amprente Touch ID. Mai mult de atât, mecanismul [...]
Apple vrea să îţi facă din iPhone o cheie de maşină; Dovada a fost găsită în codul iOS beta

Apple vrea să îţi facă din iPhone o cheie de maşină; Dovada a fost găsită în codul iOS beta

Publicat: Vineri 7-feb-2020 10:52 - Autor: Alexandru Stănescu - Afișat de 750 oriDacă telefonul mobil e deja portofel electronic şi locul unde ţinem bilete de avion şi de cinema, pe viitor va deveni şi cheia de la maşină. Apple ar fi lucrat serios la asta şi dovezi au fost găsite [...]
Samsung Galaxy S20 Ultra va folosi tehnologie "Nonacell", proaspăt brevetată de sud-coreeni; La ce se referă?

Samsung Galaxy S20 Ultra va folosi tehnologie "Nonacell", proaspăt brevetată de sud-coreeni; La ce se referă?

Publicat: Joi 6-feb-2020 17:32 - Autor: Radu Iorga - Afișat de 675 oriSamsung a brevetat o nouă tehnologie numită "Nonacell", care deja i-a fost asociată lui Galaxy S20 Ultra. Ştim că telefonul dispune de o cameră de 108 megapixeli şi aflăm că aceasta ar putea combina [...]
OnePlus vrea să ascundă toate camerele foto de pe viitoarele telefoane; Ar putea face asta într-o manieră clasică

OnePlus vrea să ascundă toate camerele foto de pe viitoarele telefoane; Ar putea face asta într-o manieră clasică

Publicat: Joi 6-feb-2020 12:30 - Autor: Claudiu Sima - Afișat de 525 oriÎn cadrul show-ului tech CES 2020 din Las Vegas cei de la OnePlus au venit cu un concept foarte interesant și anume OnePlus Concept One. Acest telefon impresiona publicul prin sticla electrocromică folosită [...]
Apple a brevetat pliabilele cu aripioare pentru a scăpa de cute nedorite ale ecranului

Apple a brevetat pliabilele cu aripioare pentru a scăpa de cute nedorite ale ecranului

Publicat: Miercuri 5-feb-2020 17:44 - Autor: Radu Iorga - Afișat de 1.025 oriApple se ţine departe de segmentul telefoanelor pliabile, dar asta nu înseamnă că într-un laborator bine pitit nu dezvoltă un Killer. Din când în când mai scapă şi brevete care confirmă astfel de proiecte [...]
Un presupus Xiaomi Mi Mix Fold a fost brevetat şi seamănă cu Huawei Mate X la prima vedere

Un presupus Xiaomi Mi Mix Fold a fost brevetat şi seamănă cu Huawei Mate X la prima vedere

Publicat: Vineri 31-ian-2020 17:16 - Autor: Radu Iorga - Afișat de 550 oriDespre telefoane pliabile Xiaomi vorbim de fix un an, când scăpau câteva randări şi chiar un presupus hands on cu un telefon dublu pliabil. Totuşi firma chineză nu s-a avântat în acest segment şi a aşteptat [...]
Huawei Mate X2 ar putea arăta astfel, conform unui nou brevet de telefon pliabil; Vine cu stylus

Huawei Mate X2 ar putea arăta astfel, conform unui nou brevet de telefon pliabil; Vine cu stylus

Publicat: Vineri 31-ian-2020 16:45 - Autor: Radu Iorga - Afișat de 1.425 oriDacă Huawei Mate XS este aşteptat la MWC 2020, ne întrebam şi cum rămâne cu un succesor real pentru Mate X, un Mate X2. Un potenţial design pentru acesta apare astăzi, printr-un nou brevet de smartphone [...]
Microsoft brevetează un device pliabil cu balama la mijloc și ecran flexibil neîntrerupt; Posibil un Surface Duo 2

Microsoft brevetează un device pliabil cu balama la mijloc și ecran flexibil neîntrerupt; Posibil un Surface Duo 2

Publicat: Joi 30-ian-2020 10:50 - Autor: Claudiu Sima - Afișat de 425 oriPe neașteptate descoperim astăzi un nou brevet marca Microsoft, aplicație ce prezintă un soi de succesor pentru telefonul pliabil Surface Duo cel lansat în octombrie anul trecut cu 2 display-uri de 5.6 inch [...]
Adio butoane fizice? Samsung ar implementa gesturi de control în stil Mate 30 Pro + strâns de muchii stil HTC

Adio butoane fizice? Samsung ar implementa gesturi de control în stil Mate 30 Pro + strâns de muchii stil HTC

Publicat: Luni 27-ian-2020 16:03 - Autor: Radu Iorga - Afișat de 625 oriUn nou brevet Samsung apărut în ultimele 24 de ore ne pune pe gânduri cu privire la viitorul design al telefoanelor companiei. Ştim deja că seria Galaxy S20 va avea ecrane curbate pe margini, dar nu se va duce [...]
Apple primeşte un brevet pentru un ecran OLED revoluţionar, cu cititor de amprente integrat; Ar putea sosi pe iPhone 13 Pro

Apple primeşte un brevet pentru un ecran OLED revoluţionar, cu cititor de amprente integrat; Ar putea sosi pe iPhone 13 Pro

Publicat: Marți 21-ian-2020 17:19 - Autor: Radu Iorga - Afișat de 1.400 oriMărturisesc că a trecut ceva vreme de când nu am mai văzut un brevet relevant asociat celor de la Apple. Azi aflăm că firma din Cupertino a primit un brevet pentru un ecran OLED revoluționar ce include [...]
Vivo brevetează un nou design de smartphone, cu decupaj bulină în ecran și cameră Penta-Lens în spate

Vivo brevetează un nou design de smartphone, cu decupaj bulină în ecran și cameră Penta-Lens în spate

Publicat: Luni 13-ian-2020 13:28 - Autor: Claudiu Sima - Afișat de 550 oriDescoperim astăzi faptul că cei de la Vivo au brevetat recent un nou design de smartphone, device care la prima vedere ar putea face parte din seria V sau seria S. Nu excludem nici posibilitatea ca design-ul să fie asociat [...]
Apple Pencil pe steroizi! Cel mai nou brevet al stylus-ului menţionează o cameră, senzor biometric, microfon şi altele

Apple Pencil pe steroizi! Cel mai nou brevet al stylus-ului menţionează o cameră, senzor biometric, microfon şi altele

Publicat: Luni 13-ian-2020 13:10 - Autor: Alexandru Stănescu - Afișat de 500 oriÎn 2020 vom avea în sfârşit noi modele iPad Pro, care ar putea chiar adopta camera de pe iPhone 11 Pro, cea pătrată. Am putea vedea şi accesorii de nouă generaţie, precum un Apple Pencil nou, mai ales având [...]
Xiaomi a brevetat două telefoane pliabile care arată binişor, lansarea lor e incertă totuși

Xiaomi a brevetat două telefoane pliabile care arată binişor, lansarea lor e incertă totuși

Publicat: Duminică 12-ian-2020 11:11 - Autor: Radu Iorga - Afișat de 1.525 oriÎn urmă cu fix un an se viraliza un telefon Xiaomi pliabil, ale cărui ecrane secundare se deschideau lateral din cel principal. Scăpările sale arătau credibil, dar nu am văzut nici urmă de produs real. Iată-ne în 2020 cu noi brevete Xiaomi ce fac referire [...]
În sfârşit! Apple ar fi brevet un design de iPhone fără breton și vedem cum ar putea arăta

În sfârşit! Apple ar fi brevet un design de iPhone fără breton și vedem cum ar putea arăta

Publicat: Vineri 3-ian-2020 15:32 - Autor: Radu Iorga - Afișat de 700 oriPentru că am intrat în 2020 putem da frâu liber speculaţiilor şi scăpărilor legate de iPhone 12. Nu că el nu ar fi început să scape deja de câteva luni, cu unele dintre cele mai trăznite designuri şi specificaţii [...]
Galaxy A51 nici nu a ajuns în magazine și deja are un succesor pe hârtie; Samsung brevetează noi trademark-uri pentru telefoanele Galaxy A

Galaxy A51 nici nu a ajuns în magazine și deja are un succesor pe hârtie; Samsung brevetează noi trademark-uri pentru telefoanele Galaxy A

Publicat: Vineri 3-ian-2020 12:01 - Autor: Claudiu Sima - Afișat de 675 oriDupă cum bine știți, seria Galaxy A cea reinventată anul trecut de către Samsung a marcat un real succes pe piață printre consumatori - fiind vorba despre telefoane care în ciuda materialelor nu tocmai [...]
Huawei brevetează un telefon identic lui ZenFone 6, doar că aduce cameră foto triplă rotativă

Huawei brevetează un telefon identic lui ZenFone 6, doar că aduce cameră foto triplă rotativă

Publicat: Vineri 20-dec-2019 17:41 - Autor: Radu Iorga - Afișat de 900 oriŞtiam de ceva vreme că Huawei vrea să intre pe piaţa telefoanelor cu cameră rotativă, după ce a făcut-o timid cu câteva modele şi în segmentul telefoanelor cu camere pop up. De această dată ar fi brevetat [...]
Noua generație de scanner de amprente optic Apple este deja prezentă pe un produs; Brevetul este publicat abia acum

Noua generație de scanner de amprente optic Apple este deja prezentă pe un produs; Brevetul este publicat abia acum

Publicat: Miercuri 18-dec-2019 11:50 - Autor: Claudiu Sima - Afișat de 725 oriDeși ne așteptam ca mai degrabă să aflăm vești despre evoluția tehnologiei de scanner de amprente ultrasonic Apple, iată că astăzi descoperim informații despre cel mai nou cititor optic dezvoltat de către compania [...]
Xiaomi primește un nou brevet ce face referire la camera selfie integrată sub display; Tehnologia ar putea fi gata anul viitor

Xiaomi primește un nou brevet ce face referire la camera selfie integrată sub display; Tehnologia ar putea fi gata anul viitor

Publicat: Luni 9-dec-2019 11:16 - Autor: Claudiu Sima - Afișat de 650 oriPlanurile celor de la Xiaomi în ceea ce privește lansarea unui smartphone cu cameră selfie integrată sub display sunt de mult știute, iar compania lucrează la ritm alert pentru a perfecționa această tehnologie [...]
Samsung Galaxy S11 va avea o captură low light specială, cu un Bright Night Sensor proaspăt brevetat

Samsung Galaxy S11 va avea o captură low light specială, cu un Bright Night Sensor proaspăt brevetat

Publicat: Vineri 29-nov-2019 15:57 - Autor: Radu Iorga - Afișat de 725 oriAm tot auzit detalii despre camera lui Samsung Galaxy S11 şi mai ales despre cea cu 7 senzori a lui S11+. Unele nu erau chiar flatante, mai ales cele legate de designul noului modul. Acum aflăm că Samsung vrea să [...]
Motorola RAZR 2 există deja sub forma unui brevet; Design actualizat și noi modalități de control

Motorola RAZR 2 există deja sub forma unui brevet; Design actualizat și noi modalități de control

Publicat: Luni 25-nov-2019 10:48 - Autor: Claudiu Sima - Afișat de 525 oriÎn vreme ce ne pregătim pentru debutul comercial al lui Motorola RAZR 2019, iată că firma producătoare nu stă degeaba și tocmai ce a brevetat modelul succesor. Discutăm în rândurile de mai jos despre un brevet ce [...]
Ecran secundar în spate și 4 camere foto pe viitorul Mi Mix? Asta indică un brevet nou Xiaomi

Ecran secundar în spate și 4 camere foto pe viitorul Mi Mix? Asta indică un brevet nou Xiaomi

Publicat: Vineri 22-nov-2019 14:32 - Autor: Claudiu Sima - Afișat de 450 oriPrin intermediul brevetelor avem ocazia să aflăm detalii despre ce ne pregătesc producătorii din zona smartphone, în cazul de față fiind vorba despre Xiaomi și mai precis despre un viitor terminal Mi Mix [...]
Huawei P Smart Z 2020 ar putea avea o cameră rotativă în stil ASUS ZenFone 6; Un brevet confirmă abordarea

Huawei P Smart Z 2020 ar putea avea o cameră rotativă în stil ASUS ZenFone 6; Un brevet confirmă abordarea

Publicat: Luni 18-nov-2019 18:43 - Autor: Radu Iorga - Afișat de 1.525 oriHuawei nu se oprește la a breveta doar o clonă de Moto RAZR 2019, ci pregătește mai nou una și pentru ASUS ZenFone 6. E vorba despre Huawei P Smart Z 2020, un smartphone cu o cameră rotativa, pe care îl [...]
Samsung Galaxy One, posibilul succesor al lui Galaxy S11 vine cu ecran curbat pe toate cele 4 laturi (brevet)

Samsung Galaxy One, posibilul succesor al lui Galaxy S11 vine cu ecran curbat pe toate cele 4 laturi (brevet)

Publicat: Luni 18-nov-2019 13:17 - Autor: Claudiu Sima - Afișat de 2.250 oriÎnceputul săptămânii ne aduce iată și un brevet proaspăt marca Samsung, unul ce pare a ne prezenta viitorul flagship pregătit de către sud-coreeni pentru anul 2021. Se vorbește de câteva luni despre un așa numit "Galaxy One" [...]
Huawei vrea la rândul său să producă un MOTO RAZR; A brevetat un telefon pliabil cu clapetă

Huawei vrea la rândul său să producă un MOTO RAZR; A brevetat un telefon pliabil cu clapetă

Publicat: Duminică 17-nov-2019 11:24 - Autor: Radu Iorga - Afișat de 1.275 oriMOTO RAZR 2019 pare să fi pornit un tăvălug care nu se va opri prea curând. Odată cu anunţul său oficial tot mai multe companii au început să vină cu brevete de telefoane pliabile cu clapetă şi format vertical. Xiaomi s-a prezentat cu ceva de gen în ultim [...]
Xiaomi brevetează un telefon cu clapetă în stil MOTO RAZR 2019

Xiaomi brevetează un telefon cu clapetă în stil MOTO RAZR 2019

Publicat: Sâmbătă 16-nov-2019 14:10 - Autor: Radu Iorga - Afișat de 825 oriDebutul lui MOTO RAZR 2019 a fost anticipat de câteva mari companii tech care au brevetat designuri similare, de telefoane pliabile cu clapeta. Şi Samsung Galaxy Fold 2 aduce într-o oarecare măsură cu noul RAZR [...]
Samsung Galaxy S11 va inaugura un display intitulat "SAMOLED", probabil cu rată de refresh de 90Hz

Samsung Galaxy S11 va inaugura un display intitulat "SAMOLED", probabil cu rată de refresh de 90Hz

Publicat: Luni 11-nov-2019 13:13 - Autor: Claudiu Sima - Afișat de 750 oriSe vorbește mult despre Samsung Galaxy S11 în ultima vreme și după ce am aflat detalii despre creșterea bateriilor pe telefoanele din această serie și despre diagonalele la care s-ar putea ajunge, astăzi descoperim [...]
Apple testează cititorul de amprente Touch ID integrat sub display-ul unui... smartwatch

Apple testează cititorul de amprente Touch ID integrat sub display-ul unui... smartwatch

Publicat: Luni 11-nov-2019 10:50 - Autor: Claudiu Sima - Afișat de 475 oriDupă multe luni distanță de la ultima menționare a sa în online, iată că cititorul de amprente Touch ID revine în ecuație tot prin intermediul unui brevet. În luna februarie a acestui an descopeream un brevet în care [...]
Xiaomi pregăteşte un telefon pliabil cu 5 camere pop up; Iată un nou brevet trăznit!

Xiaomi pregăteşte un telefon pliabil cu 5 camere pop up; Iată un nou brevet trăznit!

Publicat: Vineri 8-nov-2019 16:34 - Autor: Radu Iorga - Afișat de 525 oriDe fiecare dată când aud de telefoane pliabile Xiaomi, mi-l amintesc inevitabil pe cel cu 3 ecrane din luna ianuarie. El nu s-a mai concretizat, deşi văzusem un prototip care arăta foarte bine şi era foarte credibil. Acum apare o nouă [...]
Samsung Galaxy S11 ar veni cu "Space Zoom", o tehnologie ce duce în sfârşit zoom-ul la un nou nivel; Ce înseamnă asta?

Samsung Galaxy S11 ar veni cu "Space Zoom", o tehnologie ce duce în sfârşit zoom-ul la un nou nivel; Ce înseamnă asta?

Publicat: Joi 7-nov-2019 16:08 - Autor: Radu Iorga - Afișat de 675 oriASamsung Galaxy S11 se anunţă cu adevărat un telefon special şi unul care nu va mai face compromisuri, mai ales la cameră. Azi aflăm că la Letsgodigital că Samsung a înregistrat dreptul asupra denumirii "Space Zoom", [...]
Xiaomi a primit un brevet pentru o cameră cu zoom avansat, care combină camera periscopică cu cea pop up

Xiaomi a primit un brevet pentru o cameră cu zoom avansat, care combină camera periscopică cu cea pop up

Publicat: Marți 5-nov-2019 22:26 - Autor: Radu Iorga - Afișat de 725 oriXiaomi este una dintre companiile cu cele mai curajoase brevete din ultimul an şi în continuare singura care a prezentat un telefon pliabil cu 3 ecrane, cel puţin ca prototip. Nu despre asta e acest material, ci despre un nou brevet legat de cameră, care [...]
Samsung se inspiră de la Pixel 4 şi brevetează un senzor care interpretează mişcările tale din mână: ISOCELL Motion Sensor

Samsung se inspiră de la Pixel 4 şi brevetează un senzor care interpretează mişcările tale din mână: ISOCELL Motion Sensor

Publicat: Sâmbătă 2-nov-2019 11:33 - Autor: Radu Iorga - Afișat de 500 oriMai ţine cineva minte telefonul Galaxy S4? Şi acum îmi amintesc cât de mult se lăuda Samsung cu gesturile pe care le faci cu mâna în fața telefonului pentru a naviga în meniuri. Moda a venit şi a trecut, era înaintea vremurilor [...]
Essential continuă dezvoltarea sistemului de cameră selfie integrat sub display; Vedem un nou brevet

Essential continuă dezvoltarea sistemului de cameră selfie integrat sub display; Vedem un nou brevet

Publicat: Marți 29-oct-2019 16:41 - Autor: Claudiu Sima - Afișat de 400 oriUltima lună ne-a adus și o surpriză din partea celor de la Essential Inc. și anume conceptul de smartphone intitulat Project Gem ce intrigă prin formatul său alungit și îngust, similar unei telecomenzi. Totuși, înainte ca acest device [...]
Xiaomi brevetează un nou smartphone pliabil; Seamănă cu Mi Mix Alpha și are decupaje pentru camerele foto

Xiaomi brevetează un nou smartphone pliabil; Seamănă cu Mi Mix Alpha și are decupaje pentru camerele foto

Publicat: Joi 24-oct-2019 15:04 - Autor: Claudiu Sima - Afișat de 450 oriÎn momentul lansării ineditului telefon Xiaomi Mi Mix Alpha cu siguranță mulți s-au gândit că device-ul este un pliabil, asta prin prima ecranului ce se "înfășoară" de jur-împrejur. În realitate nu a fost totuși vorba despre un [...]
Xiaomi brevetează un setup de cameră selfie duală integrat sub display; Cu un pas mai aproape de edge-to-edge

Xiaomi brevetează un setup de cameră selfie duală integrat sub display; Cu un pas mai aproape de edge-to-edge

Publicat: Marți 22-oct-2019 10:39 - Autor: Claudiu Sima - Afișat de 425 oriÎntâi a fost scanner-ul de amprente care s-a mutat sub display, iar mai nou producătorii din lumea smartphone vor să integreze sub ecran și camerele selfie. Printre companiile din mainstream care lucrează din plin la asemenea [...]
"Dacă am pune bretonul invers pe telefoane?" Samsung s-a întrebat asta şi a creat un brevet nou

"Dacă am pune bretonul invers pe telefoane?" Samsung s-a întrebat asta şi a creat un brevet nou

Publicat: Joi 17-oct-2019 12:21 - Autor: Radu Iorga - Afișat de 775 oriÎncă de la iPhone X încoace toţi marii producători de telefoane se chinuie să reinventeze bretonul... în loc să scape de el. Am văzut telefoane cu două bretoane, telefoane cu breton lateral, breton picătură şi alte variante trăznite [...]
Oppo lucrează la un display curbat pe toate cele 4 laturi; Mută toți senzorii sub ecran

Oppo lucrează la un display curbat pe toate cele 4 laturi; Mută toți senzorii sub ecran

Publicat: Marți 15-oct-2019 11:20 - Autor: Claudiu Sima - Afișat de 425 oriÎn acest an pe piață a apărut și conceptul de "ecran cascadă" pe care l-am văzut deja pe telefoane precum Vivo NEX 3 sau Huawei Mate 30 Pro. Și Oppo lucrează la asemenea terminale dar ne pregătește aparent și o evoluție [...]
Samsung Galaxy S11 ar putea avea 3 camere selfie, toate decupate în ecran; Iată un nou brevet!

Samsung Galaxy S11 ar putea avea 3 camere selfie, toate decupate în ecran; Iată un nou brevet!

Publicat: Joi 10-oct-2019 18:57 - Autor: Radu Iorga - Afișat de 600 oriDupă ce am văzut câteva randari inedite cu Samsung Galaxy S11 în culori trăznite şi am aflat şi că numele său oficial ar putea fi Galaxy S20, acum aflăm detalii despre camera sa selfie. Se pare că Samsung ar fi gata să crească [...]
Următorul iPhone ar putea avea o cameră periscop; Un nou brevet publicat face aluzie la lentile pentru refracţie

Următorul iPhone ar putea avea o cameră periscop; Un nou brevet publicat face aluzie la lentile pentru refracţie

Publicat: Miercuri 9-oct-2019 09:55 - Autor: Radu Iorga - Afișat de 525 oriÎn acest moment doar Huawei şi Oppo se bazează pe mecanisme periscopice pentru zoom optic pe telefoanele lor. Apple ar urma să o ia pe aceeaşi rută, sau să folosească o tehnologie similară, judecând după un nou brevet [...]
Samsung Galaxy Note Fold apare într-un brevet proaspăt, cu stylus la pachet și ecran de 8 inch

Samsung Galaxy Note Fold apare într-un brevet proaspăt, cu stylus la pachet și ecran de 8 inch

Publicat: Luni 7-oct-2019 11:20 - Autor: Claudiu Sima - Afișat de 825 oriÎn vreme ce Galaxy Fold se pregătește de lansarea în România, descoperim astăzi faptul că sud-coreenii de la Samsung au primit recent un nou brevet. Este desigur vorba despre un brevet asociat unui terminal pliabil, aplicație depusă [...]
Samsung brevetează un telefon cu ecran mobil, care se poate ridica peste difuzor şi camera selfie

Samsung brevetează un telefon cu ecran mobil, care se poate ridica peste difuzor şi camera selfie

Publicat: Vineri 4-oct-2019 14:45 - Autor: Alexandru Stănescu - Afișat de 1.100 oriSe pare că Samsung explorează şi altă metodă de a integra camera selfie şi difuzorul pe un viitor terminal Galaxy. În mod ideal ar trebui ca ele să fie amplasate sub ecran, dar până atunci există şi o soluţie intermediară [...]
Noile tablete și laptop-uri Microsoft vor beneficia de tehnologia Surface Audio, pentru o acustică premium

Noile tablete și laptop-uri Microsoft vor beneficia de tehnologia Surface Audio, pentru o acustică premium

Publicat: Miercuri 2-oct-2019 13:38 - Autor: Claudiu Sima - Afișat de 550 oriAstăzi de la ora 17:00 (ora României), Microsoft are multe noutăți de prezentat în cadrul unui eveniment marca Surface. Am aflat zilele trecute că printre aceste noi produse se vor afla tablete 2 în 1 Surface Pro 7, notebook-uri precum [...]
Apple ar putea aduce un logo iluminat pe următorul iPhone; Va avea și rol de LED pentru notificări

Apple ar putea aduce un logo iluminat pe următorul iPhone; Va avea și rol de LED pentru notificări

Publicat: Marți 1-oct-2019 12:01 - Autor: Claudiu Sima - Afișat de 825 oriÎn ultimele zile au început să-și facă apariția online și leak-uri asociate lui iPhone 12, terminal care aparent va împrumuta din liniile de design ale lui iPhone 4. Se face referire la o ramă metalică cu muchii drepte [...]
Oppo pregăteşte un telefon Reno cu zoom avansat, poate chiar peste 10x hibrid, 5x optic; Camera cu periscop apare iar

Oppo pregăteşte un telefon Reno cu zoom avansat, poate chiar peste 10x hibrid, 5x optic; Camera cu periscop apare iar

Publicat: Luni 30-sep-2019 16:09 - Autor: Radu Iorga - Afișat de 650 oriPuţină lume ştie că de fapt Oppo prezentase un sistem de zoom periscopic similar cu ce vedem pe Huawei P30 Pro chiar înainte ca Huawei să vină cu asta. Ei bine acum ne pregătim deja pentru următorul nivel de optică [...]
Samsung Galaxy S11 îți va spune cât de stresat ești sau cât zahăr conțin alimentele din frigider, grație unui senzor special

Samsung Galaxy S11 îți va spune cât de stresat ești sau cât zahăr conțin alimentele din frigider, grație unui senzor special

Publicat: Luni 30-sep-2019 14:45 - Autor: Claudiu Sima - Afișat de 1.100 oriDe ceva timp am început să primim și vești despre viitorul flagship pregătit de către Samsung și anume Galaxy S11, telefon pe care cel mai probabil compania sud-coreeană îl va prezenta la MWC anul viitor [...]
Huawei Mate X2 este brevetat oficial, vine cu stylus şi schimbări de design

Huawei Mate X2 este brevetat oficial, vine cu stylus şi schimbări de design

Publicat: Joi 26-sep-2019 15:59 - Autor: Radu Iorga - Afișat de 1.150 oriPrimul telefon pliabil de la Huawei s-a lăsat aşteptat ceva timp, iar odată cu prezentarea lui Mate 30 de săptămâna trecută am aflat şi că terminalul va ajunge în magazinele din China luna viitoare. Acum că totul s-a lămurit [...]
Xiaomi pune două camere selfie sub ecran în acest nou brevet de smartphone

Xiaomi pune două camere selfie sub ecran în acest nou brevet de smartphone

Publicat: Miercuri 25-sep-2019 16:46 - Autor: Radu Iorga - Afișat de 750 oriDupă cum probabil știți, următorul mare trend la care vor adera producătorii din zona smartphone va fi implementarea camerelor selfie sub display, la ora actuală existând deja nume precum Vivo ce testează asemenea tehnologii [...]
Noile bretoane şi decupaje ale telefoanelor Samsung Galaxy M şi Galaxy A din 2020 sunt mai discrete (brevete noi)

Noile bretoane şi decupaje ale telefoanelor Samsung Galaxy M şi Galaxy A din 2020 sunt mai discrete (brevete noi)

Publicat: Miercuri 25-sep-2019 16:39 - Autor: Radu Iorga - Afișat de 475 oriSamsung se pregăteşte intens de un 2020 plin de lansări de telefoane Galaxy M şi Galaxy A. Cele două serii au început să includă foarte multe modele şi să genereze profit serios pentru sud coreeni. La anul vom vedea [...]
Huawei brevetează tehnologia ce permite ascunderea camerei selfie sub display; Ar putea debuta pe Huawei P40

Huawei brevetează tehnologia ce permite ascunderea camerei selfie sub display; Ar putea debuta pe Huawei P40

Publicat: Marți 17-sep-2019 09:44 - Autor: Claudiu Sima - Afișat de 650 oriDupă brevete Samsung și Lenovo văzute în ultimele zile, astăzi este momentul să aruncăm o privire și asupra celor de la Huawei care au în plan inovații interesante pentru segmentul smartphone. Este vorba despre tehnologia ce [...]
Samsung Galaxy S11+ ar putea fi un slider cu ecran extensibil; Vedem un brevet proaspăt

Samsung Galaxy S11+ ar putea fi un slider cu ecran extensibil; Vedem un brevet proaspăt

Publicat: Marți 17-sep-2019 09:20 - Autor: Claudiu Sima - Afișat de 800 oriBrevetele continuă să-și facă apariția online și astăzi este rândul celor de la Samsung să ne prezinte viitoare produse la care lucrează în momentul de față. Așa cum spune și titlul articolului de față, avem de-a face [...]
Lenovo actualizează design-ul de telefon pliabil pe care îl vedeam în aprilie; Iată cum ar putea arăta Moto RAZR 2019

Lenovo actualizează design-ul de telefon pliabil pe care îl vedeam în aprilie; Iată cum ar putea arăta Moto RAZR 2019

Publicat: Luni 16-sep-2019 13:46 - Autor: Claudiu Sima - Afișat de 675 oriProducătorii ce activează în zona smartphone au obiceiul de a completa tot soiul de brevete pentru viitoare dispozitive, iar în ultimul an cele mai multe au sosit pentru terminale pliabile. Și compania chineză Lenovo [...]
Microsoft a rezolvat pesemne ecuația pliabilelor! Secretul său e "balamaua cu lichid", brevetată pentru un dispozitiv Surface

Microsoft a rezolvat pesemne ecuația pliabilelor! Secretul său e "balamaua cu lichid", brevetată pentru un dispozitiv Surface

Publicat: Sâmbătă 14-sep-2019 18:04 - Autor: Radu Iorga - Afișat de 1.350 oriMarea vulnerabilitate a terminalelor pliabile este cu siguranţă balamaua. Ea face şi desface un produs de gen şi îi asigură succesul... sau insuccesul. Am văzut asta la Samsung Galaxy Fold, cu o balama în care intra mizerie şi a fost nevoie să fie [...]
Samsung Galaxy Fold 2 ar putea arăta astfel; Apar imagini bazate pe brevetele de până acum

Samsung Galaxy Fold 2 ar putea arăta astfel; Apar imagini bazate pe brevetele de până acum

Publicat: Vineri 30-aug-2019 12:41 - Autor: Radu Iorga - Afișat de 575 oriChiar dacă Samsung Galaxy Fold nu a ajuns încă în magazine, se discută tot mai mult despre Galaxy Fold 2. Multiple brevete de terminale pliabile Samsung au ajuns online, iar cei de la Letsgodigital.org le-au transformat în randări [...]
LG brevetează un telefon cu ecran rulabil plus unul clasic; Iată cum ar putea arăta pliabilul

LG brevetează un telefon cu ecran rulabil plus unul clasic; Iată cum ar putea arăta pliabilul

Publicat: Joi 29-aug-2019 12:39 - Autor: Radu Iorga - Afișat de 675 oriLG nu e deloc străină de brevete trăznite pentru telefoane mobile încă nelansate, iar în ultima vreme cred că am văzut mai des brevete ale lor pentru pliabile decât unele Samsung să zicem. Azi apare încă unul, care implică [...]
Huawei P30 ar putea primi noi variante la IFA 2019: Nuanțe dual-tone în stil Pixel sunt brevetate la EUIPO

Huawei P30 ar putea primi noi variante la IFA 2019: Nuanțe dual-tone în stil Pixel sunt brevetate la EUIPO

Publicat: Miercuri 28-aug-2019 11:50 - Autor: Claudiu Sima - Afișat de 625 oriPentru a oferi un impuls vânzărilor de smartphone-uri prezente pe piață de câteva luni bune, mulți producători aleg să lanseze noi variante de culoare - idee aplicată cu succes de numeroase companii. Fix asta pare a se întâmpla [...]
LG pariază pe multe ecrane la IFA 2019; Brevetează o husă cu display-uri secundare şi pregăteşte multiple telefoane Dual Screen

LG pariază pe multe ecrane la IFA 2019; Brevetează o husă cu display-uri secundare şi pregăteşte multiple telefoane Dual Screen

Publicat: Miercuri 28-aug-2019 11:10 - Autor: Radu Iorga - Afișat de 475 oriDacă Motorola e singura care mai ţine steagul sus pentru modularitate, LG e singura companie care încă mai crede în telefoane cu două ecrane. Nu la modul ecranelor secundare de pe LG V10, ci al ecranelor secundare ataşate [...]
Decupajele din ecran se mută pe smartwatch-uri! Google brevetează un ceas cu senzor foto decupat în display

Decupajele din ecran se mută pe smartwatch-uri! Google brevetează un ceas cu senzor foto decupat în display

Publicat: Marți 27-aug-2019 18:02 - Autor: Claudiu Sima - Afișat de 775 oriDe la ultima apariție a unui leak asociat ceasului Pixel Watch pregătit de către Google au trecut câteva luni bune, dar iată că astăzi aceste scăpări revin astăzi odată cu apariția unui brevet despre care ne informează cei [...]
Viitorul telefon pliabil Samsung se îndoaie în 2 direcţii, conform unui nou brevet; Are format vertical

Viitorul telefon pliabil Samsung se îndoaie în 2 direcţii, conform unui nou brevet; Are format vertical

Publicat: Miercuri 21-aug-2019 15:45 - Autor: Radu Iorga - Afișat de 1.425 oriUn nou brevet Samsung pentru un telefon pliabil a ajuns online, de această dată prezentând un dispozitiv care se îndoaie în două direcţii. Avem de-a face cu un terminal cu format alungit, cu multiple puncte de flexiune iar mai multe [...]
LG brevetează un telefon fără butoane fizice, cu 4 camere în spate puse "în cruce" și un model cu o singură cameră mare

LG brevetează un telefon fără butoane fizice, cu 4 camere în spate puse "în cruce" și un model cu o singură cameră mare

Publicat: Luni 19-aug-2019 16:31 - Autor: Radu Iorga - Afișat de 650 oriLG nu e deloc străină de brevete şi proprietăţi intelectuale noi în ultima vreme, pregătindu-se de modele noi din Seria G, dar şi o serie M şi chiar pliabile. Azi aflăm că sud coreenii au brevetat un telefon fără butoane fizice [...]
Smartphone-ul pliabil Xiaomi suferă modificări la nivel estetic; Privim asupra design-ului actualizat prin intermediul unui brevet

Smartphone-ul pliabil Xiaomi suferă modificări la nivel estetic; Privim asupra design-ului actualizat prin intermediul unui brevet

Publicat: Joi 15-aug-2019 09:26 - Autor: Claudiu Sima - Afișat de 350 oriPrintre companiile de pe piață ce ne pregătesc smartphone-uri pliabile îi avem și pe cei de la Xiaomi, firmă de origine chineză care în urmă cu doar câteva luni dezvăluia publicului un prototip foarte interesant [...]
LG înregistrează telefoanele V60S ThinQ şi K50S; Iată ce ştim despre ele

LG înregistrează telefoanele V60S ThinQ şi K50S; Iată ce ştim despre ele

Publicat: Miercuri 14-aug-2019 10:59 - Autor: Radu Iorga - Afișat de 400 oriCu fix o lună în urmă LG înregistra o pleiadă de modele din gama LG G, inclusiv LG G10, G20, G30 şi G40. Acum a înregistrat la o autoritate de drepturi de autor din Coreea de Sud noi modele din seriile LG V şi LG K [...]
LG brevetează un telefon cu camera frontală ca Galaxy Note 10, decupată în ecran şi centrată

LG brevetează un telefon cu camera frontală ca Galaxy Note 10, decupată în ecran şi centrată

Publicat: Marți 6-aug-2019 16:13 - Autor: Alexandru Stănescu - Afișat de 475 oriLG a brevetat un nou smartphone, care pare gata să ne ofere o nouă modalitate de a integra senzorii şi camera selfie. Sud coreenii s-au ţinut departe de trendul decupajelor în ecran, cel puţin până acum, iar brevetul indica prezenţa unei camere selfie [...]
Xiaomi brevetează un smartphone cu ecran edge-to-edge și panou solar în spate, folosit pentru alimentarea bateriei

Xiaomi brevetează un smartphone cu ecran edge-to-edge și panou solar în spate, folosit pentru alimentarea bateriei

Publicat: Luni 5-aug-2019 11:00 - Autor: Claudiu Sima - Afișat de 575 oriCea mai nouă invenție a celor de la Xiaomi ni se prezintă astăzi sub forma unui brevet și după cum aflați încă din titlu este vorba despre un smartphone cu display edge-to-edge și panou solar în spate. Folosind razele soarelui [...]
Xiaomi brevetează noi smartphone-uri cu decupaje direct în ecran pentru camere selfie, earpiece și senzori

Xiaomi brevetează noi smartphone-uri cu decupaje direct în ecran pentru camere selfie, earpiece și senzori

Publicat: Joi 1-aug-2019 13:30 - Autor: Claudiu Sima - Afișat de 700 oriDupă telefonul cu breon atipic recent brevetat de către Xiaomi iată că acum asistăm la apariția unor noi patente ce scot la iveală noi design-uri de terminale mobile. De această dată se renunță la breton în favoarea unor decupaje [...]
Samsung brevetează "telefonul evantai" cu 3 display-uri rotative și un mecanism ce amintește de Nokia 7373

Samsung brevetează "telefonul evantai" cu 3 display-uri rotative și un mecanism ce amintește de Nokia 7373

Publicat: Luni 29-iul-2019 12:20 - Autor: Claudiu Sima - Afișat de 825 oriPe parcursul anului trecut am văzut lansate pe piață și telefoane cu două display-uri, cel mai bun exemplu de dat fiind Vivo NEX Dual Display - device pe care l-am testat și noi aici la Mobilissimo. Acest concept de telefon multi-display [...]
Apple Maps ar putea include pe viitor navigare în AR (realitate augumentată); Descoperim un brevet asociat

Apple Maps ar putea include pe viitor navigare în AR (realitate augumentată); Descoperim un brevet asociat

Publicat: Vineri 26-iul-2019 11:45 - Autor: Claudiu Sima - Afișat de 400 oriCei de la Apple continuă să înregistreze brevete, iar cel mai nou pe care îl descoperim are de-a face cu aplicația Maps. Este știut faptul că gigantul din Cupertino este cu mult în spatele lui Google Maps ca experiență de utilizare [...]
Xiaomi brevetează un telefon cu breton atipic, în care apar două camere selfie

Xiaomi brevetează un telefon cu breton atipic, în care apar două camere selfie

Publicat: Marți 23-iul-2019 15:17 - Autor: Radu Iorga - Afișat de 500 oriXiaomi a brevetat un nou design de smartphone în ultimele zile, unul care propune o abordare nouă pentru celebrul breton. Varianta companiei chineză arată ca şi cum cineva ar fi lăsat o porţiune de jaluzea jos şi ar privi [...]
Huawei Mate 30 Pro va surprinde la nivel de captură video; Ar putea sosi cu o cameră dedicată "Cine-Lens" pentru filmare

Huawei Mate 30 Pro va surprinde la nivel de captură video; Ar putea sosi cu o cameră dedicată "Cine-Lens" pentru filmare

Publicat: Joi 18-iul-2019 12:10 - Autor: Claudiu Sima - Afișat de 850 oriÎn tandem cu leak-urile asociate lui iPhone XI continuă și cele referitoare la Huawei Mate 30 Pro, phablet-ul pregătit pentru debut în octombrie ce ar putea aduce upgrade-uri foarte interesante la nivelul camerei foto din spate [...]
Samsung Galaxy S11 ar putea avea o versiune Max cu ecran extensibil, conform unui nou brevet; Apar și randări

Samsung Galaxy S11 ar putea avea o versiune Max cu ecran extensibil, conform unui nou brevet; Apar și randări

Publicat: Luni 15-iul-2019 15:16 - Autor: Radu Iorga - Afișat de 650 oriSamsung Galaxy Note 10 şi Note 10+ sunt la doar 3 săptămâni distanţă de lansare şi avem deja o idee clară ce ne aşteaptă. Nu ştim totuşi mare lucru despre următorul flagship Samsung, Galaxy S11. Ce e drept a tot [...]
Încă un sistem de operare pentru Huawei sau doar alt nume? Chinezii înregistrează numele Harmony OS în Europa

Încă un sistem de operare pentru Huawei sau doar alt nume? Chinezii înregistrează numele Harmony OS în Europa

Publicat: Duminică 14-iul-2019 00:26 - Autor: Radu Iorga - Afișat de 1.225 oriDupă speculaţiile legate de HongMeng OS şi Ark OS, iată că un al treilea nume de platforma Huawei se iveşte la orizont. E vorba despre Huawei Harmony, denumire care tocmai a fost înregistrată în Europa [...]
LG înregistrează numele viitoarelor sale telefoane flagship: G10, G20, G30 şi G40

LG înregistrează numele viitoarelor sale telefoane flagship: G10, G20, G30 şi G40

Publicat: Vineri 12-iul-2019 10:24 - Autor: Radu Iorga - Afișat de 575 oriLG a făcut un obicei din a înregistra din timp numele telefoanelor sale viitoare, chiar dacă nu le lansează pe toate. După LG G7 ThinQ şi LG G8 ThinQ am putea trece la LG G9 sau direct la un G10, urmat de G20, G30 şi G40 [...]
Sony lucrează la propriul telefon pliabil, care ar veni cu un ecran rulabil chiar din decembrie 2019

Sony lucrează la propriul telefon pliabil, care ar veni cu un ecran rulabil chiar din decembrie 2019

Publicat: Duminică 7-iul-2019 20:31 - Autor: Radu Iorga - Afișat de 625 oriSony este una dintre marile companii de pe glob care nu s-au implicat încă în bătălia pliabilelor, nici măcar prin scăpări, randări, schițe sau brevete. Până și Oppo și Google au avut indicii mai multe despre implicare. Ei bine azi apar informații că Sony [...]
Huawei lucrează la un smartphone ce integrează camera selfie sub display; Se pregătește și o interfață specială

Huawei lucrează la un smartphone ce integrează camera selfie sub display; Se pregătește și o interfață specială

Publicat: Vineri 5-iul-2019 13:30 - Autor: Claudiu Sima - Afișat de 500 oriLa ora actuală mai toți producătorii din zona smartphone încearcă pe cât posibil să lanseze device-uri cu raport corp-ecran cât mai generos, optând pentru reducerea muchiilor panoului frontal la maxim [...]
Samsung Galaxy Note 10 Pro ar avea cele 4 camere din spate confirmate

Samsung Galaxy Note 10 Pro ar avea cele 4 camere din spate confirmate

Publicat: Luni 1-iul-2019 16:43 - Autor: Radu Iorga - Afișat de 450 oriÎn ultimele săptămâni s-a speculat intens cu privire la specificaţiile lui Samsung Galaxy Note 10 şi Note 10 Pro, dar accentul e pus cumva mai mult pe procesor, RAM, display şi design, decât pe camere. Ce e drept am tot [...]
Google duce conceptul de pliabil tip carte la următorul nivel; Inventează un telefon cu "pagini"

Google duce conceptul de pliabil tip carte la următorul nivel; Inventează un telefon cu "pagini"

Publicat: Vineri 28-iun-2019 09:46 - Autor: Claudiu Sima - Afișat de 500 oriDe multe ori aici la Mobilissimo am comparat pliabilele sau mai bine zic mecanismul acestora de deschidere cu o carte, asta datorită gestului natural realizat pentru extinderea ecranului. Astăzi descoperim că cei de la Google [...]
Apple ar putea renaște trendul smartwatch-urilor cu camere foto; Brevetează un asemenea design de Apple Watch

Apple ar putea renaște trendul smartwatch-urilor cu camere foto; Brevetează un asemenea design de Apple Watch

Publicat: Miercuri 26-iun-2019 14:11 - Autor: Claudiu Sima - Afișat de 650 oriÎn ultimele luni am descoperit numeroase brevete ale celor de la Apple, invenții de regulă asociate unor viitoare ceasuri inteligente din portofoliu. Printre acestea se număra o curea cameleon ce își poate schimba culoarea [...]
Samsung Galaxy Fold 2 apare în noi randări, bazate pe un brevet; Are muchii curbate, cameră decupată în ecran

Samsung Galaxy Fold 2 apare în noi randări, bazate pe un brevet; Are muchii curbate, cameră decupată în ecran

Publicat: Marți 25-iun-2019 15:54 - Autor: Radu Iorga - Afișat de 525 oriDupă ce am văzut câteva speculaţii, scăpări şi chiar randari pentru Huawei Mate X2, e acum rândul lui Samsung Galaxy Fold 2 să ne stârnească imaginaţia prin noi scăpări. Terminalul a primit un set de randări de la olandezii [...]
Huawei Mate X2 primeşte noi brevete, având un ecran extra la pachet

Huawei Mate X2 primeşte noi brevete, având un ecran extra la pachet

Publicat: Joi 20-iun-2019 16:13 - Autor: Radu Iorga - Afișat de 400 oriÎn ultima vreme s-a tot vorbit despre un succesor pentru Huawei Mate X şi se discută despre cum ar putea fi îmbunătăţit acest telefon pliabil. Letsgodigital.org a pus mâna pe un brevet de Mate X2 şi câteva dintre imaginile [...]
Smartphone-ul cu gamepad extensibil ar putea deveni realitate curând; Descoperim un brevet ce acoperă acest design

Smartphone-ul cu gamepad extensibil ar putea deveni realitate curând; Descoperim un brevet ce acoperă acest design

Publicat: Joi 20-iun-2019 12:26 - Autor: Claudiu Sima - Afișat de 325 oriDeși la ora actuală avem pe piață numeroase smartphone-uri de gaming, nu multe dintre acestea oferă o experiență potrivită pentru acțiunea pentru care au fost achiziționate. E drept că unii producători vin cu accesorii [...]
Huawei brevetează un nou telefon pliabil, cu un ecran ce se poate plia de 2 ori; Vedem randări concept

Huawei brevetează un nou telefon pliabil, cu un ecran ce se poate plia de 2 ori; Vedem randări concept

Publicat: Marți 18-iun-2019 13:26 - Autor: Alexandru Stănescu - Afișat de 700 oriHuawei a anunţat recent amânarea telefonului pliabil Mate X până în luna septembrie, dar asta nu înseamnă că nu are şi alte planuri legate de pliabile. Spre exemplu tocmai au apărut pe web detalii despre un viitor terminal [...]
Samsung Galaxy S11 apare în primele randări, inspirate de un brevet: fără jack audio, foarte curbat şi cu cameră în ecran

Samsung Galaxy S11 apare în primele randări, inspirate de un brevet: fără jack audio, foarte curbat şi cu cameră în ecran

Publicat: Joi 13-iun-2019 14:52 - Autor: Alexandru Stănescu - Afișat de 925 oriDacă pe Galaxy Note 10 l-am tot văzut în ultima vreme în scăpări, ei bine iată că deja putem vedea şi tentative de randări pentru Samsung Galaxy S11. Aceste imagini sunt realizate de Letsgodigital.org pe baza unor brevete noi [...]
Samsung brevetează un telefon care se rulează pentru a extinde ecranul pe verticală

Samsung brevetează un telefon care se rulează pentru a extinde ecranul pe verticală

Publicat: Marți 11-iun-2019 16:55 - Autor: Radu Iorga - Afișat de 1.125 oriÎn ultimii ani am văzut o sumedenie de brevete, care de care mai trăznite, care încearcă să extindă ecranul telefonului dincolo de limitele clasice. Poate cel mai bizar este "ecranul extensibil" [...]
ZTE brevetează un smartphone cu două decupaje bulină în ecran, asociate unei camere selfie duale

ZTE brevetează un smartphone cu două decupaje bulină în ecran, asociate unei camere selfie duale

Publicat: Miercuri 5-iun-2019 10:21 - Autor: Claudiu Sima - Afișat de 500 oriTrendul decupajelor bulină în ecranul smartphone-urilor continuă și după modele precum Galaxy S10 și Galaxy S10+, iată că vedem și ceva similar din partea chinezilor de la ZTE. Un brevet proaspăt descoperit scoate [...]
Cum ar putea arăta interfața din Huawei Ark OS? Vedem capturi de ecran incluse într-un brevet al chinezilor

Cum ar putea arăta interfața din Huawei Ark OS? Vedem capturi de ecran incluse într-un brevet al chinezilor

Publicat: Marți 4-iun-2019 10:35 - Autor: Claudiu Sima - Afișat de 775 oriDupă câteva zile timp în care nu prea am mai aflat noutăți despre sistemul de operare dezvoltat de către Huawei ca alternativă la Android-ul Google iată că online sosesc leak-uri foarte interesante. Descoperim prin intermediul [...]
Apple primeşte un brevet pentru un terminal pliabil, cu dublă pliere

Apple primeşte un brevet pentru un terminal pliabil, cu dublă pliere

Publicat: Joi 30-mai-2019 17:16 - Autor: Radu Iorga - Afișat de 350 oriApple continuă marşul inevitabil spre un terminal pliabil, sau cel puţin aşa arată noul său brevet. Compania din Cupertino a primit un brevet pentru un iDevice care se îndoaie nu o dată, ci de două ori. Rivalul pentru [...]
ASUS brevetează un telefon dublu glisant, cu 10 variante de design

ASUS brevetează un telefon dublu glisant, cu 10 variante de design

Publicat: Sâmbătă 25-mai-2019 10:57 - Autor: Radu Iorga - Afișat de 575 oriScăpările legate de ASUS ZenFone 6 de dinainte de lansarea să prezentau pe lângă varianta pe care o ştim acum cu camera rotativă şi un model dual slider. Se pare că acela este în continuare în cărţi, pentru că ASUS tocmai a brevetat un telefon dublu [...]
Vivo brevetează un telefon cu "urechi de iepuraş" pentru camerele selfie

Vivo brevetează un telefon cu "urechi de iepuraş" pentru camerele selfie

Publicat: Luni 20-mai-2019 16:30 - Autor: Radu Iorga - Afișat de 450 oriDacă vi se păreau ciudate telefoanele cu două bretoane (sus şi jos) sau bretoane laterale, ei bine Vivo are o trăznaie şi mai mare pentru noi. De această dată chinezii au brevetat un telefon cu "urechi de iepuraş" [...]
Oppo revine la camerele foto rotative; Descoperim un brevet de smartphone care adoptă un asemenea setup

Oppo revine la camerele foto rotative; Descoperim un brevet de smartphone care adoptă un asemenea setup

Publicat: Vineri 17-mai-2019 13:04 - Autor: Claudiu Sima - Afișat de 1.000 oriCu aproximativ 6 ani în urmă cei de la Oppo aducea pe piață și smartphone-ul Oppo N1, telefon care la acea vreme impresiona prin camera foto rotativă pe care o adopta și care avea să fie integrată și pe alte modele precum [...]
Huawei brevetează un nou design de smartphone cu o zonă superioară foarte rotunjită și fără decupaj în ecran

Huawei brevetează un nou design de smartphone cu o zonă superioară foarte rotunjită și fără decupaj în ecran

Publicat: Miercuri 8-mai-2019 13:40 - Autor: Claudiu Sima - Afișat de 475 oriVedem prin intermediul brevetelor cum numeroase companii ce activează în zona smartphone încearcă să dezvolte design-uri de terminale cât mai interesante, țelul actual fiind acela de a reduce la maxim marginile [...]
Google brevetează o tehnologie nouă de refocalizare inspirată de Lytro, pe bază de Light Field

Google brevetează o tehnologie nouă de refocalizare inspirată de Lytro, pe bază de Light Field

Publicat: Luni 6-mai-2019 15:43 - Autor: Radu Iorga - Afișat de 475 oriDacă Google a cucerit deja fotografia nocturnă cu algoritmii şi tehnologia sa, e momentul acum să se ocupe de focalizare şi refocalizare. Cel mai nou brevet al companiei din Redmond indică faptul că Google a pus [...]
Apple nu renunță la ideea unui iPhone cu scanner de amprente integrat în display; Vedem un brevet proaspăt acordat

Apple nu renunță la ideea unui iPhone cu scanner de amprente integrat în display; Vedem un brevet proaspăt acordat

Publicat: Joi 2-mai-2019 13:12 - Autor: Claudiu Sima - Afișat de 350 oriDeși în aceste zile pare că Apple încearcă să promoveze pe cât posibil sistemul de autentificare Face ID, la un moment dat tot vom avea parte de o revenire pentru cititorul de amprente, de această dată fiind vorba despre [...]
Samsung brevetează un device cu ecran rulabil de mari dimensiuni ce implică un mecanism cu peste 20 balamale

Samsung brevetează un device cu ecran rulabil de mari dimensiuni ce implică un mecanism cu peste 20 balamale

Publicat: Joi 2-mai-2019 11:43 - Autor: Claudiu Sima - Afișat de 425 oriDe curând am aflat și faptul că sud-coreenii de la Samsung iau în calcul extinderea seriei de terminale pliabile Fold, având în minte chiar și dispozitive cu diagonale de până la 13 inch sau poate chiar mai mari de atât după [...]
Samsung pregătește un smartphone cu display dual și un serviciu de gaming numit PlayGalaxy Link

Samsung pregătește un smartphone cu display dual și un serviciu de gaming numit PlayGalaxy Link

Publicat: Marți 30-apr-2019 11:12 - Autor: Claudiu Sima - Afișat de 400 oriÎn aceste zile pare că mai toate companiile de pe piață pregătesc servicii de streaming video sau gaming, cel mai proaspăt exemplu fiind chiar Samsung. Descoperim astăzi faptul că firma sud-coreeană tocmai ce a primit [...]
Xiaomi brevetează un "telefon cu coamă": Cel mai ciudat design de smartphone ni se prezintă în schițe

Xiaomi brevetează un "telefon cu coamă": Cel mai ciudat design de smartphone ni se prezintă în schițe

Publicat: Joi 25-apr-2019 13:02 - Autor: Claudiu Sima - Afișat de 1.025 oriÎn vreme ce majoritatea producătorilor încearcă să scape de bretonul din ecran prin diferite abordări ce implică fie decupaje doar pentru camera selfie, display-uri secundare sau mecanisme slider/pop-up, iată că Xiaomi nu pare [...]
Apple ar putea pregăti un soi de "stylus pensulă" sub numele de Paintbrush; Iată un brevet

Apple ar putea pregăti un soi de "stylus pensulă" sub numele de Paintbrush; Iată un brevet

Publicat: Miercuri 24-apr-2019 15:45 - Autor: Radu Iorga - Afișat de 375 oriApple ar putea să ne ofere şi o altă variantă de stylus pe viitor, în afară de Apple Pencil. Un nou brevet proaspăt apărut online indică pregătirea unui soi de "pensulă" pentru tabletele companiei. Documentele menţionează [...]
Telefon cu 3 camere selfie; Iată cel mai nou brevet LG

Telefon cu 3 camere selfie; Iată cel mai nou brevet LG

Publicat: Luni 22-apr-2019 12:15 - Autor: Radu Iorga - Afișat de 350 oriLG nu e străină deloc de experimente, având în vedere faptul că a prezentat deja un telefon cu difuzor de convorbiri în ecran şi capacitatea de a "citi" venele din palmă. Mai nou pregăteşte şi un telefon cu 3 camere selfie [...]
LG brevetează un telefon pliabil şi transparent de această dată; Iată modul în care va opera

LG brevetează un telefon pliabil şi transparent de această dată; Iată modul în care va opera

Publicat: Miercuri 10-apr-2019 15:45 - Autor: Radu Iorga - Afișat de 400 oriLG este una dintre cele mai prolifice companii, când vine vorba de telefoane pliabile... dar doar în faza de brevet. În general au abordat formatul de pliabil vertical, tip telefon cu clapetă/clamshell, dar acum au creat ceva complet [...]
Google Pixel Watch e real, conform unui nou brevet şi unor noi scăpări

Google Pixel Watch e real, conform unui nou brevet şi unor noi scăpări

Publicat: Vineri 5-apr-2019 17:19 - Autor: Radu Iorga - Afișat de 775 oriGoogle Pixel Watch a primit deja o serie de scăpări şi zvonuri, dar nimic bătut în cuie până azi. Acum apare un brevet extrem de credibil primit de către Google de curând și descoperit de către cei de la Patently Mobile [...]
După camera selfie pop-up vine ecranul secundar pop-up; Iată ce format de telefon inedit își imaginează Oppo (brevet)

După camera selfie pop-up vine ecranul secundar pop-up; Iată ce format de telefon inedit își imaginează Oppo (brevet)

Publicat: Joi 4-apr-2019 16:22 - Autor: Radu Iorga - Afișat de 700 oriOppo continuă să fie cea mai îndrăzneaţă companie producătoare de telefoane la ora actuală, propunând un telefon cu un mecanism pop up, doar că nu pentru camera selfie de această dată. Noul mecanism brevetat [...]
Lenovo brevetează un nou smartphone pliabil; Are ecran secundar și un format mai diferit

Lenovo brevetează un nou smartphone pliabil; Are ecran secundar și un format mai diferit

Publicat: Marți 2-apr-2019 17:11 - Autor: Claudiu Sima - Afișat de 500 oriBrevetele asociate telefoanelor pliabile viitoare continuă a-și face apariția online, iar în această săptămână îl avem ca exemplu pe cel de față proaspăt primit de către Lenovo. Compania chineză a mai avut brevete de terminale pliabile [...]
Microsoft Surface Phone revine în peisaj; Iată ce indică un nou brevet de balama

Microsoft Surface Phone revine în peisaj; Iată ce indică un nou brevet de balama

Publicat: Luni 1-apr-2019 15:06 - Autor: Radu Iorga - Afișat de 400 oriMicrosoft Surface Phone, cunoscut și ca Project Andromeda a fost casat vara trecută, sau cel puțin așa afirmau zvonurile. Din când în când revenea ca o scapare optimistă, iar acum se pare că ar fi din nou pe tapet [...]
Oppo brevetează un nou smartphone slider ce vine cu o cameră selfie duală

Oppo brevetează un nou smartphone slider ce vine cu o cameră selfie duală

Publicat: Luni 1-apr-2019 10:51 - Autor: Claudiu Sima - Afișat de 525 oriOppo s-a numărat printre primele companii de pe piață ce au readus în mainstream conceptul de smartphone slider, asta odată cu lansarea modelului Find X anul trecut - device ce ne cucerea în acel moment prin design-ul tare arătos [...]
Viitorul telefon pliabil Samsung seamănă cu modelul Xiaomi ce dispune de 2 balamale și un display cu 3 fețe (două dintre ele rabatabile); Iată brevetul

Viitorul telefon pliabil Samsung seamănă cu modelul Xiaomi ce dispune de 2 balamale și un display cu 3 fețe (două dintre ele rabatabile); Iată brevetul

Publicat: Joi 28-mar-2019 17:48 - Autor: Radu Iorga - Afișat de 2.975 oriSamsung a fost unul dintre primii producători de telefoane care ne-au propus modele pliabile, încă din toamna anului trecut. Pe atunci totul era doar un concept cu muchii groase şi camuflat de o husă. Acum există Galaxy Fold [...]
Sharp ar putea intra în curând pe piaţa telefoanelor pliabile; Descoperim un nou brevet

Sharp ar putea intra în curând pe piaţa telefoanelor pliabile; Descoperim un nou brevet

Publicat: Marți 26-mar-2019 16:54 - Autor: Radu Iorga - Afișat de 575 oriDupă Samsung şi Huawei şi ceva semne din partea LG şi Oppo, acum şi Sharp se pregăteşte să intre pe piaţa telefoanelor pliabile. Asta indica un brevet apărut recent şi asociat unui astfel de produs. Documentele datează din 2017 [...]
Samsung pregăteşte un telefon pliabil cu o cameră înlăturabilă; Un nou brevet face aluzie la modularitate de acest tip

Samsung pregăteşte un telefon pliabil cu o cameră înlăturabilă; Un nou brevet face aluzie la modularitate de acest tip

Publicat: Luni 18-mar-2019 16:14 - Autor: Radu Iorga - Afișat de 550 oriSamsung a brevetat o sumedenie de formaturi de telefoane pliabile în ultimul an, iar în ultima vreme s-a axat pe pliabile verticale clamshell, în stilul telefoanelor cu clapetă. Acum pregăteşte un pliabil care pare să fie modular [...]
Şi Google pregăteşte un telefon pliabil, conform unor noi brevete

Şi Google pregăteşte un telefon pliabil, conform unor noi brevete

Publicat: Vineri 15-mar-2019 18:25 - Autor: Radu Iorga - Afișat de 400 oriTelefoanele pliabile au primit un boost masiv de popularitate odată cu MWC 2019, acolo unde lumea a văzut ce poate Huawei Mate X, dar şi Galaxy Fold şi tentative de rivali de la TCL, Oppo şi alte companii [...]
Samsung lucrează la tehnologia ce permite integrarea camerei selfie sub display-ul smartphone-urilor, fără decupajul actual

Samsung lucrează la tehnologia ce permite integrarea camerei selfie sub display-ul smartphone-urilor, fără decupajul actual

Publicat: Vineri 15-mar-2019 10:31 - Autor: Claudiu Sima - Afișat de 425 oriDupă ce anterior descopeream un brevet care detalia tehnologia Samsung prin care se dorește implementarea camerei selfie chiar sub ecran, iată că acum un oficial al companiei confirmă planurile de viitor [...]
Display secundar în spatele lui Mate 30 Pro? Asta pare a sugera un brevet proaspăt primit de Huawei

Display secundar în spatele lui Mate 30 Pro? Asta pare a sugera un brevet proaspăt primit de Huawei

Publicat: Joi 14-mar-2019 11:05 - Autor: Claudiu Sima - Afișat de 375 oriPrintre alternativele găsite de către producătorii din zona smartphone pentru a se renunța la nevoia unui decupaj în zona superioară a ecranului avem atât mecanismele slider, camerele foto pop-ul de tip periscop [...]
Telefonul flexibil brăţară de la Samsung primeşte un brevet şi randări; Încă un format futurist pentru coreeni

Telefonul flexibil brăţară de la Samsung primeşte un brevet şi randări; Încă un format futurist pentru coreeni

Publicat: Marți 12-mar-2019 17:36 - Autor: Radu Iorga - Afișat de 1.600 oriAm aflat în ultima săptămână că Samsung explorează şi alte variante de telefoane pliabile, cu alt format decât Galaxy Fold. Întâi apăruse teoria unui model vertical cu clapetă şi acum apare şi o "brăţară", un telefon flexibil [...]
Motorola vrea să ajungă pe viitor la smartphone-uri cu adevărat edge-to-edge; Iată abordările pregătite

Motorola vrea să ajungă pe viitor la smartphone-uri cu adevărat edge-to-edge; Iată abordările pregătite

Publicat: Marți 12-mar-2019 14:18 - Autor: Claudiu Sima - Afișat de 325 oriUn aspect tare important de care mulți utilizatori smartphone se leagă în ultima vreme este grosimea marginilor din jurul ecranului, producătorii aplicând la diferite artificii pentru a oferi device-uri când mai aproape [...]
Samsung brevetează o husă deosebită cu suport pentru interacțiune tactilă și pe marginile laterale

Samsung brevetează o husă deosebită cu suport pentru interacțiune tactilă și pe marginile laterale

Publicat: Luni 11-mar-2019 13:48 - Autor: Claudiu Sima - Afișat de 425 oriPe lângă brevete asociate smartphone-urilor pliabile viitoare iată că cei de la Samsung pregătesc și accesorii speciale pentru handset-urile mobile din portofoliu. O asemenea husă descoperim astăzi, accesoriu proaspăt brevetat [...]
Un nou design de smartphone pliabil este brevetat de Samsung; Adoptă formatul de clapetă

Un nou design de smartphone pliabil este brevetat de Samsung; Adoptă formatul de clapetă

Publicat: Luni 11-mar-2019 12:00 - Autor: Claudiu Sima - Afișat de 450 oriCu doar câteva zile în urmă aflam faptul că sud-coreenii de la Samsung au în pregătire alte 2 noi smartphone-uri pliabile, modele care spre deosebire de Galaxy Fold adoptă design-uri diferite. Unul se aseămăna lui Mate X [...]
Telefonul pliabil Motorola îşi dezvăluie funcţiile software, vine cu 2 ecrane, cel exterior prezentat în detaliu

Telefonul pliabil Motorola îşi dezvăluie funcţiile software, vine cu 2 ecrane, cel exterior prezentat în detaliu

Publicat: Sâmbătă 9-mar-2019 11:05 - Autor: Radu Iorga - Afișat de 375 oriTelefoanele pliabile au fost pe buzele tuturor la MWC 2019, cu modele Samsung şi Huawei prezentate, dar şi Oppo şi TCL. Multe alte firme pregătesc produse de gen, inclusiv Motorola, care va merge pe ruta renașterii seriei RAZR [...]
Vivo lucrează la un smartphone cu mecanism periscop de cameră selfie duală; Vedem brevete asociate design-ului

Vivo lucrează la un smartphone cu mecanism periscop de cameră selfie duală; Vedem brevete asociate design-ului

Publicat: Sâmbătă 9-mar-2019 09:20 - Autor: Claudiu Sima - Afișat de 350 oriPrintre companiile ce au lansat în primă fază smartphone-uri cu senzori selfie integrați sub formă de mecanism periscop îi avem și pe cei de la Vivo, firmă care anul trecut ne surprindea odată cu lansarea lui Vivo Nex. Acum în 2019 sunt [...]
Telefonul pliabil de la ZTE ar fi un model cu clapetă, conform unor noi brevete şi randări

Telefonul pliabil de la ZTE ar fi un model cu clapetă, conform unor noi brevete şi randări

Publicat: Joi 7-mar-2019 16:04 - Autor: Radu Iorga - Afișat de 625 oriZTE a dat startul modei telefoanelor pliabile înainte de vreme, prin lansarea lui Axon M încă din octombrie 2017. Pe atunci lumea nu era gata pentru acest format, iar telefonul s-a scufundat în uitare. Acum ZTE revine cu noi [...]
Oppo brevetează un smartphone cu display secundar retractabil în spatele căruia va ascunde camera selfie

Oppo brevetează un smartphone cu display secundar retractabil în spatele căruia va ascunde camera selfie

Publicat: Miercuri 6-mar-2019 13:17 - Autor: Claudiu Sima - Afișat de 350 oriLa ora actuală producătorii din lumea smartphone caută tot felul de soluții prin care să scape de decupajele din ecran și a obține un ecran complet edge-to-edge. Abia ce am descoperit puțin mai devreme că Essential lucrează la o tehnologie [...]
Un brevet proaspăt confirmă integrarea camerei selfie sub display pe Essential Phone 2

Un brevet proaspăt confirmă integrarea camerei selfie sub display pe Essential Phone 2

Publicat: Miercuri 6-mar-2019 10:19 - Autor: Claudiu Sima - Afișat de 450 oriDeși Essential Phone nu s-a bucurat de succesul așteptat de către compania lui Andy Rubin, sunt mari șanse ca succesorul să cucerească publicul prin tehnologii deosebite. Am aflat deja cu ceva timp în urmă faptul că firma americană [...]
Huawei pregătește un nou smartphone slider conform unui brevet proaspăt acordat

Huawei pregătește un nou smartphone slider conform unui brevet proaspăt acordat

Publicat: Luni 4-mar-2019 10:35 - Autor: Claudiu Sima - Afișat de 425 oriO modalitate prin care producătorii din lumea smartphone au reușit să scape de bretonul din ecran a fost aceea de a crea un mecanism slider pe care să fie integrată camera selfie earpiece-ul și alte elemente. Xiaomi a făcut asta [...]
Apple lucrează la un iPhone cu ecran ce emite sunet ca LG G8; Iată un brevet

Apple lucrează la un iPhone cu ecran ce emite sunet ca LG G8; Iată un brevet

Publicat: Sâmbătă 2-mar-2019 13:42 - Autor: Radu Iorga - Afișat de 450 oriDupă ce am scăpat de camerele frontale și le-am pus pe un periscop, pe o porțiune glisantă, sau chiar în spate, atunci când avem două ecrane (Vivo Nex Dual Display), e momentul să scăpam și de difuzorul pentru convorbiri [...]
Apple brevetează un ecran rulabil ce poate fi utilizat pe smartwatch-uri, telefoane și chiar televizoare

Apple brevetează un ecran rulabil ce poate fi utilizat pe smartwatch-uri, telefoane și chiar televizoare

Publicat: Marți 19-feb-2019 12:40 - Autor: Claudiu Sima - Afișat de 250 oriÎn primele zile ale anului descopeream printre altele și lansarea ineditului televizor LG Signature OLED TV, un dispozitiv cu ecran rulabil ce se rula și derula dintr-o bază dock la utilizare. Acum aflăm că și Apple se familiarizează cu aceste [...]
Samsung primeşte brevete de design pentru noi telefoane şi tablete, pliabile, plus un PC All in One

Samsung primeşte brevete de design pentru noi telefoane şi tablete, pliabile, plus un PC All in One

Publicat: Miercuri 13-feb-2019 10:21 - Autor: Radu Iorga - Afișat de 350 oriSamsung îşi continuă cavalcada de brevete înregistrate în avanpremiera lansării primelor sale terminale pliabile. Evident vorbim despre proprietăţi intelectuale legate fix de astfel de device-uri. Samsung a primit brevete pentru câteva [...]
Xiaomi brevetează design-ul lui Mi Mix 4; Vine cu ecran edge-to-edge complet și fără butoane fizice

Xiaomi brevetează design-ul lui Mi Mix 4; Vine cu ecran edge-to-edge complet și fără butoane fizice

Publicat: Vineri 8-feb-2019 13:20 - Autor: Claudiu Sima - Afișat de 450 oriMarea dorință a producătorilor de pe piața smartphone este clar aceea de a livra un device cu ecran edge-to-edge complet și deși am avut câteva tentative de acest fel, nimeni nu a reușit să renunțe complet la muchiile din jurul ecranului [...]
Essential Phone 2 este descris într-un brevet; Cameră selfie integrată sub display și jack audio la bord

Essential Phone 2 este descris într-un brevet; Cameră selfie integrată sub display și jack audio la bord

Publicat: Joi 7-feb-2019 10:19 - Autor: Claudiu Sima - Afișat de 350 oriDeși a trecut destul de mult timp de la ultimul leak asociat lui Essential Phone 2, telefonul care ar putea salva compania lui Andy Rubin și totodată cuceri publicul, iată că astăzi acest device ni se prezintă sub forma unui brevet proaspăt [...]
Apple Touch ID revine, de această dată sub forma unui brevet; Este integrat în ecran și permite deblocarea pe întreaga suprafață

Apple Touch ID revine, de această dată sub forma unui brevet; Este integrat în ecran și permite deblocarea pe întreaga suprafață

Publicat: Miercuri 6-feb-2019 12:35 - Autor: Claudiu Sima - Afișat de 350 oriDeși în ultimii 2 ani cei de la Apple au pus accentul pe soluția Face ID de deblocare facială, iată că firma din Cupertino nu renunță nici la Touch ID care ar putea reveni într-o formă actualizată curând. Chiar astăzi descoperim un brevet [...]
Și cei de la Xiaomi pregătesc un smartphone cu decupaj în ecran pentru camera selfie; Apar brevete ce confirmă adoptarea trendului

Și cei de la Xiaomi pregătesc un smartphone cu decupaj în ecran pentru camera selfie; Apar brevete ce confirmă adoptarea trendului

Publicat: Marți 5-feb-2019 13:01 - Autor: Claudiu Sima - Afișat de 400 oriTrendul care va caracteriza piața smartphone în acest an va fi clar cel al decupajelor forate direct în panoul de ecran și menite să găzduiască senzorii de captură selfie. Avem deja câteva terminale de acest tip din partea celor [...]
Oppo Find Z este înregistrat la EUIPO sub formă de marcă comercială; Viitor flagship cu Snapdragon 855

Oppo Find Z este înregistrat la EUIPO sub formă de marcă comercială; Viitor flagship cu Snapdragon 855

Publicat: Luni 4-feb-2019 14:30 - Autor: Claudiu Sima - Afișat de 325 oriNu doar sud-coreenii de la LG Electronics au înregistrat noi mărci comerciale în ultimele zile, ci și Oppo. Descoperim astfel că firma chienză a obținut trademarkul pentru denumirea Oppo Find Z pe plan comercial din partea agenției [...]
Telefonul de gaming Samsung ar putea fi pliabil; Vedem câteva randări

Telefonul de gaming Samsung ar putea fi pliabil; Vedem câteva randări

Publicat: Joi 31-ian-2019 12:12 - Autor: Radu Iorga - Afișat de 475 oriPe final de an 2018 a apărut teoria că şi Samsung lucrează la un telefon de gaming, pentru a răspunde segmentului gaming phone în ascensiune. Xiaomi are două telefoane de gen, Razer de asemenea, ASUS ROG Phone [...]
Și Oppo pregătește un smartphone cu decupaj în ecran; Vine cu o abordare interesantă pentru ascunderea senzorului foto

Și Oppo pregătește un smartphone cu decupaj în ecran; Vine cu o abordare interesantă pentru ascunderea senzorului foto

Publicat: Luni 28-ian-2019 10:12 - Autor: Claudiu Sima - Afișat de 250 oriÎn ultima vreme am văzut cum mulți producători din zona smartphone plănuiesc să lanseze pe piață terminale cu decupaj forat în ecran pentru camera selfie. Există și handset-uri deja lansate precum Galaxy A8s, Huawei Nova 4, Honor [...]
Şi Motorola pregăteşte un smartphone fără butoane fizice, conform unui brevet

Şi Motorola pregăteşte un smartphone fără butoane fizice, conform unui brevet

Publicat: Vineri 25-ian-2019 16:06 - Autor: Radu Iorga - Afișat de 1.075 oriO nouă modă a cuprins producătorii de telefoane mobile: cea a smartphone-urilor fără butoane fizice. Meizu a lansat aşa ceva, apoi a venit şi Vivo cu Apex 2019. Acum aflăm că şi Motorola are intenţii similare cu un viitor terminal [...]
Lenovo intră în lupta telefoanelor pliabile şi a tabletelor de acest tip, conform unui nou brevet

Lenovo intră în lupta telefoanelor pliabile şi a tabletelor de acest tip, conform unui nou brevet

Publicat: Joi 24-ian-2019 09:58 - Autor: Radu Iorga - Afișat de 525 oriLenovo este cel mai nou nume care intră în zona telefoanelor şi tabletelor pliabile, conform unui brevet care tocmai a ajuns pe web. Ce e drept chinezii mai cochetaseră cu această zonă, judecând după alte concepte şi prototipuri prezentate [...]
Pliabilul Motorola Moto RAZR ar putea adopta un alt format decât cel vehiculat; Vedem un nou brevet

Pliabilul Motorola Moto RAZR ar putea adopta un alt format decât cel vehiculat; Vedem un nou brevet

Publicat: Miercuri 23-ian-2019 16:30 - Autor: Claudiu Sima - Afișat de 500 oriMarea dorință a producătorilor din zona smartphone pentru acest an este aceea de a prezenta un pliabil, sau mai bine zis a-l face disponibil comercial. Am văzut chiar în această dimineață un prototip foarte bine pus la punct de către [...]
Apple își imaginează un viitor în care iPhone-ul devine "creierul" unui MacBook; Să fie iPhone XI?

Apple își imaginează un viitor în care iPhone-ul devine "creierul" unui MacBook; Să fie iPhone XI?

Publicat: Marți 22-ian-2019 14:30 - Autor: Claudiu Sima - Afișat de 500 oriE drept că în ultima vreme am văzut destul de multe concepte pentru iPhone XI, unele mai mult sau mai puțin futuriste iar altele bazate pe scheme CAD din fabrică. În continuarea scăpărilor descoperim astăzi un brevet marca Apple ce [...]
Samsung Galaxy S10 ar putea utiliza un ecran secundar transparent aplicat peste decupajul camerei selfie

Samsung Galaxy S10 ar putea utiliza un ecran secundar transparent aplicat peste decupajul camerei selfie

Publicat: Marți 22-ian-2019 11:30 - Autor: Claudiu Sima - Afișat de 500 oriDupă ce descopeream ieri faptul că smartphone-ul Galaxy A8s are parte de o serie de animații speciale în jurul decupajului din ecran pentru camera selfie, iată că astăzi apar detalii despre abordarea specială pregătită pentru [...]
Lenovo brevetează o combinaţie neobişnuită: device pliabil cu tastatură fizică

Lenovo brevetează o combinaţie neobişnuită: device pliabil cu tastatură fizică

Publicat: Sâmbătă 12-ian-2019 09:31 - Autor: Radu Iorga - Afișat de 550 oriLenovo a fost cap de afiş în ultima săptămână, când a lansat o serie de terminale noi la CES 2019. Am văzut tablete care sunt şi boxe deştepte, laptop-uri de gaming şi multe altele, dar acum aflăm că şi această companie lucrează la un device [...]
Un nou brevet asociat lui Apple Watch descrie o curea cameleon ce își schimbă culorile în funcție de preferințele utilizatorului

Un nou brevet asociat lui Apple Watch descrie o curea cameleon ce își schimbă culorile în funcție de preferințele utilizatorului

Publicat: Miercuri 9-ian-2019 10:50 - Autor: Claudiu Sima - Afișat de 575 oriLuăm o pauză de la brevetele ce ne dezvăluie viziunea producătorilor de pe piață în materie de smartphone-uri pliabile și aruncăm o privire asupra unei proaspete invenții de la Apple. După cum spune și titlul, este vorba despre [...]
Samsung brevetează un smartphone multifuncțional compus din două unități ce se atașează magnetic

Samsung brevetează un smartphone multifuncțional compus din două unități ce se atașează magnetic

Publicat: Luni 7-ian-2019 13:04 - Autor: Claudiu Sima - Afișat de 550 oriAvansul tehnologic rapid din ultimul an observat în zona smartphone îi obligă pe producători să găsească alternative prin care să cucerească publicul. Se pare că în afară de formatul de telefon pliabil, firme precum Samsung iau în calcul și alte [...]
Noi detalii despre telefonul pliabil LG ies la iveală: Va avea mecanism complex și va fi și extensibil

Noi detalii despre telefonul pliabil LG ies la iveală: Va avea mecanism complex și va fi și extensibil

Publicat: Vineri 4-ian-2019 15:11 - Autor: Radu Iorga - Afișat de 475 oriLG se află de ceva vreme pe lista de producători de terminale mobile gata să intre pe piaţa pliabilelor. Am tot văzut brevete ale companiei, scăpări, iar azi avem câteva detalii în plus despre telefonul lor pliabil. Un brevet proaspăt [...]
Oppo Limn ar putea fi primul telefon pliabil al companiei, sau prima tabletă

Oppo Limn ar putea fi primul telefon pliabil al companiei, sau prima tabletă

Publicat: Joi 3-ian-2019 15:22 - Autor: Radu Iorga - Afișat de 375 oriOppo a brevetat de ceva vreme terminale pliabile, dar de atunci nu am mai auzit mare lucru despre proiectele sale în această zonă. Acum apare o veste nouă legată de un device numit Oppo Limn, care tocmai a primit certificarea în Europa [...]
Un brevet proaspăt sugerează că Huawei Mate 30 Pro ar putea avea 5 camere foto în spate

Un brevet proaspăt sugerează că Huawei Mate 30 Pro ar putea avea 5 camere foto în spate

Publicat: Joi 3-ian-2019 10:23 - Autor: Claudiu Sima - Afișat de 750 oriCu toate că următorul telefon high-end pe care îl așteptăm de la Huawei este P30 Pro, iată că apar deja brevete asociate succesorului lui Mate 20 Pro. Aflăm că în ultimele zile cei de la Huawei au primit aprobarea unui brevet [...]
LG brevetează un telefon rulabil, cu stylus, camere 3D şi ecran secundar

LG brevetează un telefon rulabil, cu stylus, camere 3D şi ecran secundar

Publicat: Vineri 28-dec-2018 17:20 - Autor: Radu Iorga - Afișat de 450 oriLG continuă să exploreze câte un format inedit de telefon, de această dată vizând un terminal rulabil. Acesta ar avea multiple camere, suport pentru stylus şi ecran secundar. Este un device multifuncţional, al cărui brevet se vede mai jos [...]
Meizu intră pe lista companiilor care pregătesc telefoane pliabile

Meizu intră pe lista companiilor care pregătesc telefoane pliabile

Publicat: Joi 27-dec-2018 15:55 - Autor: Radu Iorga - Afișat de 500 oriMeizu este cea mai nouă companie care pregăteşte un telefon pliabil, judecând după un brevet apărut recent online. Un site oficial de proprietăţi intelectuale din China a publicat un brevet al companiei care menţionează un terminal [...]
Camera selfie pop-up revine în prim plan printr-un brevet proaspăt primit de către ASUS

Camera selfie pop-up revine în prim plan printr-un brevet proaspăt primit de către ASUS

Publicat: Joi 27-dec-2018 11:33 - Autor: Claudiu Sima - Afișat de 425 oriDeși mecanismul de cameră selfie pop-up apărut pe VIVO NEX în acest an ne impresiona la debutul device-ului, nu a durat foarte mult și trendul a fost rapid înlocuit de mecanismele slider. Pe tot parcursul anului nu au mai fost lansate terminale [...]
ZTE pregătește un smartphone pliabil similar lui Galaxy Fold și un alt device cu display dual; Vedem un brevet proaspăt

ZTE pregătește un smartphone pliabil similar lui Galaxy Fold și un alt device cu display dual; Vedem un brevet proaspăt

Publicat: Sâmbătă 22-dec-2018 11:40 - Autor: Claudiu Sima - Afișat de 550 oriÎn vreme ce multe companii de pe piață încă erau la stadiul de brevete pentru telefoane cu display dual, cei de la ZTE veneau pe piață cu modelul Axon M care ne făcea și o idee despre cum vor arăta smartphone-urile pliabile. L-am văzut anul [...]
LG propune o tabletă modernă cu kickstand integrat și tastatură wireless; Iată un brevet asociat

LG propune o tabletă modernă cu kickstand integrat și tastatură wireless; Iată un brevet asociat

Publicat: Sâmbătă 22-dec-2018 09:57 - Autor: Claudiu Sima - Afișat de 375 oriWeekend-ul ne aduce vești și din zona tabletelor, segment care în ultimii ani a cunoscut un declin serios. Astăzi descoperim cum ar vrea sud-coreenii de la LG Electronics să redeschidă apetitul publicului pentru asemenea dispozitive și asta [...]
Samsung brevetează un smartphone cu ecran holografic capabil de afișare a imaginilor 3D "în aer"

Samsung brevetează un smartphone cu ecran holografic capabil de afișare a imaginilor 3D "în aer"

Publicat: Luni 17-dec-2018 12:05 - Autor: Claudiu Sima - Afișat de 625 oriDupă o lungă perioadă în care la ordinea zilei au fost brevetele pentru smartphone-uri pliabile iată că astăzi vedem ceva diferit și anume un brevet pentru un telefon ce aduce ecran holografic. Invenția de față aparține celor de la Samsung [...]
Samsung brevetează un telefon cu ecran complet fără margini; Iată cum ar putea arăta

Samsung brevetează un telefon cu ecran complet fără margini; Iată cum ar putea arăta

Publicat: Miercuri 5-dec-2018 10:50 - Autor: Radu Iorga - Afișat de 3.525 oriSud-coreenii de la Samsung au planuri mari pentru zona smartphone, asta cel puțin dacă ne luăm după o serie de brevete proaspăt acordate. Aflăm pe seama acestora faptul că Sammy nu exclude posibilitatea ca pe viitor să lanseze [...]
După telefonul pliabil urmează cel cu ecran extensibil; Iată cum arată propunerea Samsung

După telefonul pliabil urmează cel cu ecran extensibil; Iată cum arată propunerea Samsung

Publicat: Marți 4-dec-2018 13:47 - Autor: Claudiu Sima - Afișat de 575 oriCu doar câteva zile înainte de lansarea primului telefon de pe piață ce adoptă un decupaj circular direct în ecran pentru camera selfie, iată că Samsung primește un brevet tare interesant, unul ce face referire la un alt design de terminal [...]
Google brevetează un ceas inteligent care folosește pielea de pe mână ca touchpad

Google brevetează un ceas inteligent care folosește pielea de pe mână ca touchpad

Publicat: Luni 3-dec-2018 11:01 - Autor: Alexandru Stănescu - Afișat de 425 oriÎn vreme ce Samsung brevetează smartwatch-uri echipate cu scanner de amprente integrat în ecran, dar și cu camere foto integrat în același mod, iată că rivalii de la Google au altceva în minte. Descoperim la început de săptămână un brevet [...]
Samsung își imaginează un smartwatch ce are scanner de amprente integrat în ecran, dar și cameră foto; Ar putea fi Galaxy Watch 2

Samsung își imaginează un smartwatch ce are scanner de amprente integrat în ecran, dar și cameră foto; Ar putea fi Galaxy Watch 2

Publicat: Luni 3-dec-2018 10:06 - Autor: Claudiu Sima - Afișat de 250 oriSe pare că sud-coreenii de la Samsung au prins gustul terminalelor cu scanner de amprente integrat în ecran, o tehnologie pe care vor să o aducă și în zona de smartwatch-uri. Acestea fiind spuse descoperim astăzi un brevet proaspăt care [...]
Microsoft brevetează un mecanism de cameră foto compus din două părți; Este asociat lui Andromeda

Microsoft brevetează un mecanism de cameră foto compus din două părți; Este asociat lui Andromeda

Publicat: Miercuri 28-nov-2018 11:32 - Autor: Claudiu Sima - Afișat de 400 oriBrevetele asociate lui Surface Phone / Andromeda continuă să își facă apariția online, chiar acum pe final de lună noiembrie sosind o aplicație care de această dată nu face referire la ecran, ci la un sistem de cameră foto compus din două părți [...]
Oppo vrea să facă telefoanele indestructibile; Iată un nou brevet care ne scapă de huse de protecţie

Oppo vrea să facă telefoanele indestructibile; Iată un nou brevet care ne scapă de huse de protecţie

Publicat: Marți 27-nov-2018 17:20 - Autor: Radu Iorga - Afișat de 525 oriCu toate că smartphone-urile devin din ce în ce mai speciale odată cu evoluția tehnologiilor de pe piață, există în continuare un capitol la care toate telefoanele momentului stau foarte prost. Ne referim la gradul de rezistență oferit de acestea [...]
Microsoft își imaginează un sistem audio dual pentru smartphone-ul pliabil Andromeda/Surface Phone

Microsoft își imaginează un sistem audio dual pentru smartphone-ul pliabil Andromeda/Surface Phone

Publicat: Luni 26-nov-2018 13:45 - Autor: Claudiu Sima - Afișat de 425 oriÎn ciuda faptului că Microsoft afirmă clar și răspicat că nu se lucrează la un telefon pliabil, iată că brevetele continuă să își facă apariția în online. Astăzi de exemplu descoperim un brevet ce face aluzie la un sistem audio dual care [...]
LG trece la următorul nivel! Un brevet proaspăt indică dorința sud-coreenilor de a aduce 16 camere foto pe un smartphone

LG trece la următorul nivel! Un brevet proaspăt indică dorința sud-coreenilor de a aduce 16 camere foto pe un smartphone

Publicat: Luni 26-nov-2018 12:40 - Autor: Claudiu Sima - Afișat de 475 oriPentru moment iată că sud-coreenii de la LG Electronics lasă deoparte brevetele pentru smartphone-uri pliabile și ne prezintă astăzi un brevet pentru un super camera phone. Nu se aduc 4 camere foto, nici 5, ci 16 în schimb - un setup deosebit [...]
Un iPhone cu nuanțe în gradient ar putea deveni realitate; Apple primește un brevet în acest sens

Un iPhone cu nuanțe în gradient ar putea deveni realitate; Apple primește un brevet în acest sens

Publicat: Sâmbătă 24-nov-2018 10:50 - Autor: Claudiu Sima - Afișat de 350 oriDescoperim în acest weekend un nou brevet marca Apple, unul care pare a ne dezvălui faptul că gigantul din Cupertino ne pregătește un iPhone cu gradient de culoare în spate. Nu se știe însă când vom vedea în realitate un asemenea [...]
Samsung pregăteşte şi un telefon pliabil cu clapetă; Iată un brevet

Samsung pregăteşte şi un telefon pliabil cu clapetă; Iată un brevet

Publicat: Miercuri 21-nov-2018 17:47 - Autor: Radu Iorga - Afișat de 550 oriUn format de smartphone pe care sud-coreenii de la Samsung continuă să îl promoveze în special în țările asiatice este cel de clapetă, fiind lansate chiar și flagship-uri de acest timp. Acum descoperim că firma de față vrea să lanseze la un moment [...]
Samsung brevetează încă un smartphone pliabil; Noi schiţe apar online

Samsung brevetează încă un smartphone pliabil; Noi schiţe apar online

Publicat: Marți 20-nov-2018 13:10 - Autor: Radu Iorga - Afișat de 725 oriÎncă o dată descoperim un brevet semnat Samsung și asociat unui smartphone pliabil. Din schițele asociate descoperim că design-ul propus în cazul de față este ceva mai diferit față de ce ne-au prezentat sud-coreenii sub formă de concept [...]
Și OnePlus are în plan lansarea unui telefon pliabil; Firma soră Oppo brevetează un asemenea device

Și OnePlus are în plan lansarea unui telefon pliabil; Firma soră Oppo brevetează un asemenea device

Publicat: Marți 20-nov-2018 10:22 - Autor: Claudiu Sima - Afișat de 600 oriMulte companii ce activează în zona smartphone și-au anunțat în acest an intențiile de a lansa pe piață un smartphone pliabil anul viitor, printre acestea numărându-se atât Huawei, LG, dar și Samsung. Cel mai nou nume de pe listă pare a fi [...]
Samsung pregăteşte şi o tabletă pliabilă cu diagonală mare; Iată un brevet

Samsung pregăteşte şi o tabletă pliabilă cu diagonală mare; Iată un brevet

Publicat: Joi 15-nov-2018 10:33 - Autor: Radu Iorga - Afișat de 600 oriSe pare că sud-coreenii de la Samsung au planuri mari în domeniul pliabilelor astfel că pe lângă telefoane ce adoptă această caracteristică vom vedea și tablete pliabile. Personal cred că în acest segment tehnologia de față este clar necesară [...]
Apple vrea să pună multiple camere pe viitorul Apple Watch pentru a îţi permite să realizezi apeluri video prin FaceTime

Apple vrea să pună multiple camere pe viitorul Apple Watch pentru a îţi permite să realizezi apeluri video prin FaceTime

Publicat: Marți 13-nov-2018 16:45 - Autor: Radu Iorga - Afișat de 300 oriAflăm astăzi și câteva detalii despre planurile celor de la Apple în segmentul de smartwatch-uri și anume faptul că gigantul din Cupertino vrea să implementeze camere video pe un viitor ceas inteligent, asta pentru a facilita realizarea de [...]
Samsung brevetează un nou smartphone pliabil; Are un singur display și păstrează formatul de clapetă

Samsung brevetează un nou smartphone pliabil; Are un singur display și păstrează formatul de clapetă

Publicat: Luni 12-nov-2018 11:10 - Autor: Claudiu Sima - Afișat de 675 oriÎn cadrul unui eveniment marca Samsung organizat săptămâna trecută am văzut prezentat sub formă de prototip primul smartphone pliabil al sud-coreenilor, terminal bazat pe un ecran intitulat Infinity Flex Display. Acum descoperim că [...]
iPhone-ul viitorului va avea camera selfie integrată sub ecran; Iată un brevet proaspăt

iPhone-ul viitorului va avea camera selfie integrată sub ecran; Iată un brevet proaspăt

Publicat: Luni 12-nov-2018 10:59 - Autor: Claudiu Sima - Afișat de 450 oriDupă ce am văzut companii precum Samsung și Oppo brevetând design-uri de smartphone-uri ce implică integrarea camerei selfie sub display iată că acum și Apple intră în hora acestei tehnologii. Descoperim un brevet proaspăt care [...]
Huawei brevetează un design de telefon cu decupaj în display pentru difuzorul de convorbiri

Huawei brevetează un design de telefon cu decupaj în display pentru difuzorul de convorbiri

Publicat: Luni 12-nov-2018 09:39 - Autor: Radu Iorga - Afișat de 375 oriÎn ultima săptămână am tot văzut brevete din partea principalilor producători din zona smartphone care dezvăluiau design-uri de terminale cu diferite decupaje în ecran pentru camera selfie. Acum și Huawei apare în scenă cu un brevet ce [...]
Și LG brevetează un smartphone ce are camera selfie ascunsă sub display; Vedem o serie de schițe

Și LG brevetează un smartphone ce are camera selfie ascunsă sub display; Vedem o serie de schițe

Publicat: Miercuri 7-nov-2018 12:01 - Autor: Claudiu Sima - Afișat de 475 oriDescoperim astăzi faptul că după Samsung și cei de la LG brevetează un smartphone ce are camera selfie integrată sub display, o tehnologie pe care am putea-o vedea-o în acțiune abia pe 2-3 ani în cel mai bun caz. De asemenea și cei de la Oppo [...]
Samsung brevetează telefonul ce are camera selfie integrată sub display; Iată tehnologia din spatele lui Galaxy S11 sau S12

Samsung brevetează telefonul ce are camera selfie integrată sub display; Iată tehnologia din spatele lui Galaxy S11 sau S12

Publicat: Sâmbătă 3-nov-2018 11:40 - Autor: Claudiu Sima - Afișat de 675 oriPrimul weekend din noiembrie ne aduce și brevetul asociat lui Samsung Galaxy S10, patent ce descrie tehnologia prin intermediul căreia sud-coreenii vor integra camera selfie sub ecranul noului flagship. Avem și o serie de schițe asociate aici [...]
Oppo brevetează un smartphone ce are camera selfie integrată sub display

Oppo brevetează un smartphone ce are camera selfie integrată sub display

Publicat: Vineri 2-nov-2018 10:43 - Autor: Radu Iorga - Afișat de 375 oriÎn ultima săptămână cei de la Oppo au brevetat un nou smartphone, unul ce are camera selfie integrată sub display, o idee despre care am mai auzit detalii în ultima vreme. Brevetul aprobat recent descrie un smartphone interesant care [...]
Următorul smartphone LG ar putea avea 3 sau 4 camere foto în spate și un ecran fără decupaj; Iată un brevet

Următorul smartphone LG ar putea avea 3 sau 4 camere foto în spate și un ecran fără decupaj; Iată un brevet

Publicat: Miercuri 31-oct-2018 10:24 - Autor: Claudiu Sima - Afișat de 450 oriÎn ciuda terminalelor interesante din punct de vedere hardware pe care LG le-a adus pe piață în acest an, publicul a avut o nemulțumire, cea a decupajului din ecran pe care sud-coreenii l-au adus pe majoritatea dispozitivelor lansate [...]
Galaxy S10 urmează să primească un display Infinity V; Samsung a brevetat acest tip de ecran

Galaxy S10 urmează să primească un display Infinity V; Samsung a brevetat acest tip de ecran

Publicat: Marți 30-oct-2018 16:05 - Autor: Radu Iorga - Afișat de 775 oriLeak-urile asociate lui Samsung Galaxy S10 continuă și la doar câteva momente de la aflarea unor veștii cu privire la bateria telefonului, iată că descoperim și ceva extra despre ecran. Mai precis, aflăm că sud-coreenii au înregistrat denumirea [...]
Samsung brevetează un smartphone cu ecran înfăşurat în jurul carcasei şi butoane de gaming

Samsung brevetează un smartphone cu ecran înfăşurat în jurul carcasei şi butoane de gaming

Publicat: Vineri 26-oct-2018 16:56 - Autor: Radu Iorga - Afișat de 875 oriLa ordinea zilei au început să fie în ultima vreme brevetele celor de la Samsung după cum se întâmplă și astăzi când vedem o nouă abordare de design gândită de către sud-coreeni. Avem parte aici de un brevet ce prezintă un ecran care se [...]
Galaxy A8s ar putea fi cobaiul brevetelor Samsung din ultima vreme; Ar avea design Full Screen potrivit unui teaser

Galaxy A8s ar putea fi cobaiul brevetelor Samsung din ultima vreme; Ar avea design Full Screen potrivit unui teaser

Publicat: Joi 25-oct-2018 17:34 - Autor: Claudiu Sima - Afișat de 500 oriAstăzi în cadrul unui eveniment ce a avut loc pe piața din China, cei de la Samsung au anunțat oficial smartphone-urile Galaxy A6s și Galaxy A9s. De asemenea, sud-coreenii au oferit și un teaser pentru modelul Galaxy A8s care se va lansa curând [...]
Cum va reuși Samsung să ofere un decupaj subtil pe Galaxy S10? Mută senzorii frontali pe rama metalică

Cum va reuși Samsung să ofere un decupaj subtil pe Galaxy S10? Mută senzorii frontali pe rama metalică

Publicat: Joi 25-oct-2018 11:51 - Autor: Claudiu Sima - Afișat de 375 oriLa doar câteva zile distanță de la aflarea veștii că Samsung va adopta decupajul în ecran pentru viitoarele flagship-uri și poate chiar modele mid-range, iată că astăzi mai apare un brevet online. Acesta ne dezvăluie faptul că sud-coreenii [...]
Un nou brevet Samsung prezintă o tabletă pliabilă, cu potenţial de a deveni telefon sau chiar laptop

Un nou brevet Samsung prezintă o tabletă pliabilă, cu potenţial de a deveni telefon sau chiar laptop

Publicat: Miercuri 24-oct-2018 16:45 - Autor: Radu Iorga - Afișat de 375 oriÎn așteptarea evenimentului Samsung de pe 6 noiembrie atunci când are loc conferința dezvoltatorilor, iată că pe web apare un nou brevet interesant, unul ce se referă la o tabletă pliabilă care are caracteristica de a se transforma [...]
În ciuda trolling-ului, Samsung tocmai a patentat la rândul său bretonul; Mai are însă ceva în buzunar pentru noi

În ciuda trolling-ului, Samsung tocmai a patentat la rândul său bretonul; Mai are însă ceva în buzunar pentru noi

Publicat: Luni 22-oct-2018 11:16 - Autor: Claudiu Sima - Afișat de 400 oriUn nou episod de trolling pe care vi l-am prezentat de curând a fost și cel în care Samsung făcea "mișto" de uriașul breton de pe Google Pixel 3 XL, asta după ce s-a luat și de iPhone X prin numeroase clipuri promoționale dezvăluite anul trecu [...]
Cititorul de amprente de pe Samsung Galaxy S10 prezentat de un nou brevet: senzor optic integrat în ecran

Cititorul de amprente de pe Samsung Galaxy S10 prezentat de un nou brevet: senzor optic integrat în ecran

Publicat: Joi 18-oct-2018 16:54 - Autor: Alexandru Stănescu - Afișat de 625 oriAflăm astăzi pe seama unui brevet proaspăt primit de către Samsung detalii despre scanner-ul de amprente biometric ce va fi integrat în ecranul lui Samsung Galaxy S10. După cum bine știți, acest flagship este așteptat să debuteze oficial [...]
Un nou brevet Huawei descrie un smartphone cu scanner de amprente în display și "zonă de ecran suplimentară"; Posibil Mate 20 Pro

Un nou brevet Huawei descrie un smartphone cu scanner de amprente în display și "zonă de ecran suplimentară"; Posibil Mate 20 Pro

Publicat: Luni 15-oct-2018 11:19 - Autor: Claudiu Sima - Afișat de 575 oriLa început de săptămână aflăm faptul că cei de la Huawei tocmai ce au primit un nou brevet, unul depus în primăvara acestui an și publicat abia acum. Patentul face referire la un smartphone cu scanner de amprente integrat în ecran și zonă [...]
iPhone-urile şi iPad-urile ar putea fi protejate la scăparea pe jos prin electromagneţi

iPhone-urile şi iPad-urile ar putea fi protejate la scăparea pe jos prin electromagneţi

Publicat: Miercuri 10-oct-2018 15:52 - Autor: Radu Iorga - Afișat de 400 oriDescoperim astăzi un nou brevet marca Apple, unul care prezintă o modalitate prin care pe viitor iPhone-urile și iPad-urile ar putea fi protejate la scăparea accidentală pe jos printr-un sistem de electromagneți. Din documentele asociate aflăm [...]
Huawei ar putea inaugura o tehnologie de încărcare ultra-rapidă pe smartphone-ul Honor Magic 2

Huawei ar putea inaugura o tehnologie de încărcare ultra-rapidă pe smartphone-ul Honor Magic 2

Publicat: Marți 9-oct-2018 10:33 - Autor: Claudiu Sima - Afișat de 400 oriDescoperim astăzi și faptul că cei de la Huawei au în plan lansarea unei tehnologii de încărcare ultra-rapidă în perioada următoare, fiind posibilă inaugurarea sa pe smartphone-ul Honor Magic 2 al cărui debut ar fi programat pentru data de [...]
Microsoft Surface Andromeda primește un nou brevet ce descrie o modalitate de interacțiune cu dispozitivul atunci când este pliat

Microsoft Surface Andromeda primește un nou brevet ce descrie o modalitate de interacțiune cu dispozitivul atunci când este pliat

Publicat: Vineri 5-oct-2018 16:30 - Autor: Claudiu Sima - Afișat de 625 oriDeși cei de la Microsoft nu vor sub nici o formă să confirme faptul că într-adevăr ni se pregătește un dispozitiv Surface deosebit, unul pliabil, iată că brevetele continuă să sosească. Chiar astăzi descoperim o aplicație de brevet care scoate [...]
Nintendo brevetează o husă de smartphone care îl transformă în GameBoy

Nintendo brevetează o husă de smartphone care îl transformă în GameBoy

Publicat: Vineri 5-oct-2018 16:21 - Autor: Alexandru Stănescu - Afișat de 325 oriAflăm astăzi faptul că de curând cei de la Nintendo au brevetat o husă de smartphone mai specială, accesoriu menit să transforme un smartphone în gameboy. Ce-i drept această abordare a mai fost zărită pe piață sub forma unor produse [...]
Un nou brevet Samsung detaliază mecanismul din spatele primului telefon pliabil; Aflăm și un posibil preț

Un nou brevet Samsung detaliază mecanismul din spatele primului telefon pliabil; Aflăm și un posibil preț

Publicat: Miercuri 26-sep-2018 14:00 - Autor: Claudiu Sima - Afișat de 500 oriPotrivit ultimelor speculații din online, sud-coreenii ar putea avea asociată premiera lansării unui smartphone pliabil pe piață - telefon care ar putea fi cunoscut drept Galaxy F. Nu știm exact când este programat debutul cu toate că se vehicula [...]
Samsung brevetează un smartwatch modular ce poate primi senzori biometrici sub formă de accesorii atașabile

Samsung brevetează un smartwatch modular ce poate primi senzori biometrici sub formă de accesorii atașabile

Publicat: Luni 24-sep-2018 11:18 - Autor: Claudiu Sima - Afișat de 550 oriAflăm la început de săptămână o veste tare interesantă, aceea că Samsung a primit în urmă cu două săptămâni brevetul pentru un smartwatch ceva mai special, unul modular care poate primi accesorii diverse echipate cu senzori biometrici [...]
Un nou brevet Samsung menţionează un "breton" lateral, in muchiile curbate Edge

Un nou brevet Samsung menţionează un "breton" lateral, in muchiile curbate Edge

Publicat: Vineri 7-sep-2018 10:15 - Autor: Radu Iorga - Afișat de 525 oriCei de la Samsung continuă să completeze brevete pentru diverse tehnologii și design-uri de telefoane, un asemenea patent sosind astăzi când vedem ceea ce pare a fi un smartphone cu breton. Spre deosebire de majoritatea care aleg să [...]
Huawei înregistrează denumirea Huawei Y10 în Europa; Succesor pentru Huawei Y9 (2018)?

Huawei înregistrează denumirea Huawei Y10 în Europa; Succesor pentru Huawei Y9 (2018)?

Publicat: Joi 6-sep-2018 17:05 - Autor: Radu Iorga - Afișat de 1.000 oriDescoperim astăzi faptul că firma chineză Huawei tocmai ce a întregistrat pe plan european denumirea Huawei Y10, aceasta fiind cel mai probabil asociată unui smartphone succesor pentru Y9 (2018). Nu se cunosc pentru moment detaliile tehnice [...]
Un brevet proaspăt primit de Motorola sugerează revenirea seriei RAZR, acum cu ecran pliabil

Un brevet proaspăt primit de Motorola sugerează revenirea seriei RAZR, acum cu ecran pliabil

Publicat: Joi 23-aug-2018 13:40 - Autor: Claudiu Sima - Afișat de 425 oriNumeroși producători de pe piață familiarizează cu ideea unui telefon pliabil, iar în vreme ce companii precum Samsung și Microsoft primesc zeci de brevet de genul, nume precum Motorola de exemplu sunt mai rezervate la capitolul [...]
Samsung inventează o tehnologie ce poate determina tipul de piele și oferi recomandări pentru protecție solară și alți factori

Samsung inventează o tehnologie ce poate determina tipul de piele și oferi recomandări pentru protecție solară și alți factori

Publicat: Luni 30-iul-2018 17:40 - Autor: Claudiu Sima - Afișat de 425 oriPrintre brevete asociate scannerelor de amprente integrate în ecran iată că descoperim și aplicații referitoare la tehnologii mai deosebite înregistrate de către Samsung. Cel mai nou exemplu este o tehnologie capabilă să determine [...]
Samsung brevetează un scanner de amprente integrat în ecran

Samsung brevetează un scanner de amprente integrat în ecran

Publicat: Luni 30-iul-2018 16:49 - Autor: Radu Iorga - Afișat de 400 oriCu toate că phablet-ul Samsung Galaxy Note 9 nu va avea un scanner de amprente integrat în ecran, o asemenea tehnologie este așteptată pe viitorul Galaxy S10 ce va debuta prin ianuarie-februarie 2019. Motivul pentru care sunt șanse mari [...]
Terminalul pliabil Microsoft zărit într-un nou brevet; Fiecare dintre cele două display-uri va avea o cameră foto asociată

Terminalul pliabil Microsoft zărit într-un nou brevet; Fiecare dintre cele două display-uri va avea o cameră foto asociată

Publicat: Luni 30-iul-2018 16:40 - Autor: Claudiu Sima - Afișat de 350 oriDeși cei de la Microsoft au afirmat că cel puțin pentru perioada următoare nu există planuri pentru dezvoltarea unui smartphone pliabil, cumva brevetele asociate unui asemenea produs continuă să sosească online. Un astfel de brevet ajunge azi [...]
Apple brevetează accesorii foto speciale pentru iPhone-uri, sub formă de obiective clip on

Apple brevetează accesorii foto speciale pentru iPhone-uri, sub formă de obiective clip on

Publicat: Miercuri 25-iul-2018 16:01 - Autor: Radu Iorga - Afișat de 725 oriDin câte descoperim astăzi la mijloc de săptămână se pare că Apple pregătește noi accesorii foto destinate terminalelor iPhone, accesorii ce vin sub formă de obiective clip-on ce se atașează peste camera telefoanelor. Acestea ne sunt dezvăluite [...]
Samsung și Oppo brevetează smartphone-uri cu display-uri secundare ce pot fi utilizate pentru captura selfie; Iată cele două abordări

Samsung și Oppo brevetează smartphone-uri cu display-uri secundare ce pot fi utilizate pentru captura selfie; Iată cele două abordări

Publicat: Luni 23-iul-2018 16:08 - Autor: Claudiu Sima - Afișat de 325 oriÎn vara anului trecut cei de la Meizu lansau pe piață un telefon foarte interesant și anume modelul Pro 7 care sosea echipat cu un ecran secundar în spate ce putea fi utilizat și pentru captura foto. Acesta [...]
Samsung Galaxy X ar putea primi un ecran secundar ascuns, conform unui nou brevet; Iată detalii

Samsung Galaxy X ar putea primi un ecran secundar ascuns, conform unui nou brevet; Iată detalii

Publicat: Vineri 20-iul-2018 14:54 - Autor: Alexandru Stănescu - Afișat de 375 oriÎncă o dată dăm peste o serie de brevete marca Samsung asociate smartphone-ului pliabil cunoscut sub denumirea de Galaxy X și așteptat să debuteze în cadrul târgului de tehnologie Mobile World Congress 2019 din Barcelona. Astăzi avem parte [...]
Decupaj direct în display pentru camera seflie de pe smartphone? Un asemenea design au în minte cei de la Huawei

Decupaj direct în display pentru camera seflie de pe smartphone? Un asemenea design au în minte cei de la Huawei

Publicat: Vineri 20-iul-2018 10:30 - Autor: Claudiu Sima - Afișat de 450 oriÎncetul cu încetul vom scăpa probabil și de cel mai criticat element de design care a fost adoptat de mulți producători din lumea smartphone, cel al decupajului din zona superioară a ecranului. În vreme ce unii producători precum Oppo și Vivo [...]
Samsung Galaxy X apare într-un nou brevet, care prezintă un format stil clapetă şi mod de funcţionare portret

Samsung Galaxy X apare într-un nou brevet, care prezintă un format stil clapetă şi mod de funcţionare portret

Publicat: Miercuri 18-iul-2018 17:03 - Autor: Radu Iorga - Afișat de 425 oriLa mijloc de lună iulie descoperim un nou brevet marca Samsung pentru smartphone-ul pliabil cunoscut drept Galaxy X. Vedem în cazul de față un format stil clapetă care permite utilizarea în mod portret, așadar în plan vertical și nu [...]
Samsung lucrează la un nou telefon echipat cu senzor de puls și cameră duală; Aflăm mai multe pe seama unui brevet

Samsung lucrează la un nou telefon echipat cu senzor de puls și cameră duală; Aflăm mai multe pe seama unui brevet

Publicat: Luni 16-iul-2018 14:47 - Autor: Claudiu Sima - Afișat de 550 oriDescoperim astăzi un nou brevet marca Samsung, de această dată unul referitor la o husă destinată unui smartphone încă nelansat pe piață. Deși la prima vedere schița inclusă aici pare a ne sugera că este vorba despre nimeni altul decât [...]
Microsoft brevetează o modalitate de input care nu implică atingerea unui terminal

Microsoft brevetează o modalitate de input care nu implică atingerea unui terminal

Publicat: Duminică 15-iul-2018 11:35 - Autor: Radu Iorga - Afișat de 375 oriDescoperim la mijlocul verii faptul că cei de la Microsoft au brevetat o nouă tehnologie interesantă, una ce presupune o modalitate de input fără vreo atingere în ecuație. La prima vedere lucrurile sună tare bine, dar rămâne de văzut [...]
LG brevetează un stylus care se extinde şi rulează ca un pergament; Are dotări de smartphone!

LG brevetează un stylus care se extinde şi rulează ca un pergament; Are dotări de smartphone!

Publicat: Vineri 6-iul-2018 15:25 - Autor: Radu Iorga - Afișat de 400 oriLa scurt timp de la brevetarea unui nou design de smartphone pliabil, iată-i pe sud-corenii de la LG Electronics adoptând și ideea unui stylus inedit. Acesta se va extinde și rula fix precum un pergament, fiind la bază un soi de înlocuitor [...]
Samsung brevetează o cameră biometrică pentru un sistem rival lui Face ID

Samsung brevetează o cameră biometrică pentru un sistem rival lui Face ID

Publicat: Vineri 6-iul-2018 15:07 - Autor: Radu Iorga - Afișat de 675 oriÎncet încet producătorii din lumea smartphone încep să vadă avantajul soluțiilor de autentificare facială 3D, astfel că până și Samsung are în pregătire așa ceva. Astăzi descoperim un brevet al sud-coreenilor ce face aluzie la o cameră [...]
Samsung vrea să pună cât mai multe display-uri pe telefoane; Brevetează smartphone-ul multi-display

Samsung vrea să pună cât mai multe display-uri pe telefoane; Brevetează smartphone-ul multi-display

Publicat: Joi 5-iul-2018 17:50 - Autor: Claudiu Sima - Afișat de 350 oriÎn ultimele zile au sosit o mulțime de noi brevete iar acum după cel LG care făcea referire la un telefon pliabil aruncăm o privire asupra invenției Samsung ce are de-a face cu un telefon multi-display. Se pare că sud-coreenii încearcă să aducă [...]
LG are un nou brevet asociat unui smartphone pliabil; Vine cu o tehnologie numită "dual hardware"

LG are un nou brevet asociat unui smartphone pliabil; Vine cu o tehnologie numită "dual hardware"

Publicat: Joi 5-iul-2018 11:45 - Autor: Claudiu Sima - Afișat de 375 oriProducătorii din lumea smartphone se întrec în brevete asociate terminalelor pliabile și în ultima vreme chiar și sud-coreenii de la LG Electronics atacă acest segment. Astăzi descoperim un concept îndrăzneț, unul care pare a ne prezenta ceva în [...]
Oppo brevetează noi invenții: Smartphone pliabil, telefon cu 3 display-uri și device cu airbag

Oppo brevetează noi invenții: Smartphone pliabil, telefon cu 3 display-uri și device cu airbag

Publicat: Marți 3-iul-2018 15:45 - Autor: Claudiu Sima - Afișat de 750 oriPe seama brevetelor aflăm multe dintre tehnologiile care ar putea deveni realitate pe viitor, majoritatea aplicațiilor de genul făcând referire la terminale pliabile în ultima vreme. Și Oppo, o companie care ne-a demonstrat că poate aduce un [...]
Noul smartwatch Huawei (Watch 3?) va sosi cu căști Bluetooth integrate

Noul smartwatch Huawei (Watch 3?) va sosi cu căști Bluetooth integrate

Publicat: Luni 2-iul-2018 15:18 - Autor: Radu Iorga - Afișat de 900 oriHuawei dezvăluie iarăși o serie de brevete legate de un ceas inteligent, un posibil Huawei Watch 3 de această data. Ar fi un smartwatch cu headset Bluetooth integrat și dacă va sună ciudat va invit să va edificați în imaginile de mai jos [...]
Apple are un nou brevet ce face aluzie la recunoaşterea scrisului de mână pe iPad, cu stylus inclus

Apple are un nou brevet ce face aluzie la recunoaşterea scrisului de mână pe iPad, cu stylus inclus

Publicat: Luni 25-iun-2018 16:38 - Autor: Radu Iorga - Afișat de 450 oriUn nou brevet primit de către Apple în ultimele zile ne aduce detalii despre viitorul seriei iPad, tablete ce ar putea primi eventual suport pentru scrisul de mână. În această aplicație vedem și câteva schițe ale conceptului imaginat de către [...]
Samsung brevetează o tehnologie ce permite reducerea la maxim a marginilor din jurul ecranului; Iată detalii

Samsung brevetează o tehnologie ce permite reducerea la maxim a marginilor din jurul ecranului; Iată detalii

Publicat: Vineri 22-iun-2018 11:30 - Autor: Claudiu Sima - Afișat de 425 oriAm văzut cu doar câteva zile în urmă un brevet primit de către Huawei ce făcea referire la o tehnologie nouă care permite reducerea la maxim a muchiilor din jurul ecranului, o tehnologie pe care și sud-coreenii de la Samsung o aveau în [...]
Un brevet proaspăt primit de către Huawei dezvăluie un smartphone cu ecran fără margini; Ar putea fi asociat lui Mate 20

Un brevet proaspăt primit de către Huawei dezvăluie un smartphone cu ecran fără margini; Ar putea fi asociat lui Mate 20

Publicat: Marți 19-iun-2018 12:52 - Autor: Claudiu Sima - Afișat de 425 oriO veste pe care am auzit-o de curând sub formă de zvon a fost și aceea că Huawei are în plan să ofere o diagonală de 6.9 inch pe viitorul terminal din seria Mate, model așteptat să debuteze în această toamnă. Acum descoperim prin intermediul [...]
Sosesc noi brevete Apple! Gesturi de strângere împrumutate de la HTC pentru iPhone și mod de protecție la impact

Sosesc noi brevete Apple! Gesturi de strângere împrumutate de la HTC pentru iPhone și mod de protecție la impact

Publicat: Vineri 15-iun-2018 16:01 - Autor: Claudiu Sima - Afișat de 500 oriCompania care are la activ cele mai multe brevete asociate tehnologiilor din zona smartphone este clar Apple, firmă ce primește zeci de patente săptămânal. Astăzi aruncăm o privire asupra celor mai noi de pe listă, brevete care desigur [...]
Samsung Galaxy S10 ar putea aduce buton home și scanner de amprente integrat în ecran; Vedem un brevet proaspăt

Samsung Galaxy S10 ar putea aduce buton home și scanner de amprente integrat în ecran; Vedem un brevet proaspăt

Publicat: Vineri 8-iun-2018 13:10 - Autor: Claudiu Sima - Afișat de 625 oriPrin intermediul brevetelor ajunse online descoperim ce noutăți ne pregătesc producătorii din lumea smartphone pentru viitoarele dispozitive ce vor ajunge pe piață. Astăzi sud-coreenii de la Samsung sunt cei care ne atrag atenția printr-un brevet [...]
Lenovo brevetează un laptop cu ecran OLED flexibil, care se deschide lateral

Lenovo brevetează un laptop cu ecran OLED flexibil, care se deschide lateral

Publicat: Vineri 11-mai-2018 15:52 - Autor: Radu Iorga - Afișat de 925 oriDin partea companiei chineze Lenovo vedem astăzi un nou brevet, unul asociat nu unui smartphone flexibil, ci unui notebook cu această capabilitate. Ni se prezintă într-o serie de schițe ceea ce pare a fi un laptop multi-display ce se bazează pe [...]
Motorola brevetează un telefon pliabil dual display, care devine tabletă

Motorola brevetează un telefon pliabil dual display, care devine tabletă

Publicat: Joi 10-mai-2018 15:34 - Autor: Radu Iorga - Afișat de 575 oriVedem astăzi și un brevet marca Motorola ce face referire la un smartphone pliabil, telefon care cel puțin pe hârtie se prezintă tare bine. Produsul vine echipat cu un display dual și odată ce întreg asamblul este deschis avem parte de o tabletă [...]
Telefonul pliabil şi transparent de la Samsung e cu un pas mai aproape de realitate prin acest brevet

Telefonul pliabil şi transparent de la Samsung e cu un pas mai aproape de realitate prin acest brevet

Publicat: Vineri 4-mai-2018 16:42 - Autor: Radu Iorga - Afișat de 450 oriUn nou brevet asociat smartphone-ului pliabil pregătit de către Samsung își face apariția astăzi online și aduce și ceva în plus după cum descoperiți în rândurile de mai jos. Este vorba despre conceptul de transparență pe care dispozitivul [...]
Samsung Galaxy Note 9 şi integrarea scannerului de amprente în ecran revin printr-un brevet nou

Samsung Galaxy Note 9 şi integrarea scannerului de amprente în ecran revin printr-un brevet nou

Publicat: Vineri 4-mai-2018 16:30 - Autor: Radu Iorga - Afișat de 475 oriMultă vreme s-a vorbit despre posibilitatea ca viitorul phablet Samsung Galaxy Note 9 să adopte un scanner de amprente în ecran, dotare văzută anul acesta pe doar câteva telefoane din China. Au urmat și zvonuri contradictorii, iar acum [...]
ZTE brevetează telefonul cu două decupaje în ecran ce adoptă un format diferit față de ZTE Iceberg

ZTE brevetează telefonul cu două decupaje în ecran ce adoptă un format diferit față de ZTE Iceberg

Publicat: Luni 30-apr-2018 14:58 - Autor: Radu Iorga - Afișat de 375 oriLuna aprilie ne-a întâmpinat și cu un concept de smartphone la care nu ne așteptam, unul cu două decupaje în ecran. Oarecum acest design ne-a plăcut într-o măsură sau alta prin simetria adusă de către cele două decupaje specifice din panoul [...]
Apple primește brevetul pentru cel mai îndrăzneț design de iPhone, cel care adoptă carcasă din sticlă

Apple primește brevetul pentru cel mai îndrăzneț design de iPhone, cel care adoptă carcasă din sticlă

Publicat: Duminică 22-apr-2018 10:25 - Autor: Claudiu Sima - Afișat de 875 oriSe vorbește de mulți ani despre dorința celor de la Apple de a lansa un iPhone cu carcasă din sticlă, ceva ce nu a sosit până acum pe piață. Totuși, viitorul se anunță a fi promițător, astfel că în aceste zile compania din Cupertino a primit [...]
Oppo Find 9 ar putea sosi cu scanner de amprente integrat în ecran; Firma chineză brevetează tehnologia de autentificare

Oppo Find 9 ar putea sosi cu scanner de amprente integrat în ecran; Firma chineză brevetează tehnologia de autentificare

Publicat: Luni 16-apr-2018 17:12 - Autor: Radu Iorga - Afișat de 550 oriTot la început de săptămână descoperim că cei de la Oppo au brevetat de curând o tehnologie referitoare la autentificarea pe seama unui scanner de amprente integrat în ecranul unui dispozitiv mobil, sistem ce ar putea ajunge pe modelul [...]
Samsung primeşte un brevet nou pentru o tabletă multi pliabilă, cu tastatură fizică

Samsung primeşte un brevet nou pentru o tabletă multi pliabilă, cu tastatură fizică

Publicat: Luni 16-apr-2018 17:06 - Autor: Radu Iorga - Afișat de 350 oriDin partea sud-coreenilor de la Samsung sosește la început de săptămână un nou brevet, unul asociat unei tablete multi pliabile care dispune și de tastatură fizică. Vedem cum se prezintă conceptul prin intermediul schițelor incluse în documente [...]
Samsung brevetează un nou design de smartphone cu decupaj în ecran; Iată schițe

Samsung brevetează un nou design de smartphone cu decupaj în ecran; Iată schițe

Publicat: Luni 16-apr-2018 11:30 - Autor: Claudiu Sima - Afișat de 475 oriVestea că cei de la Samsung caută metode prin care să maximizeze spațiul ocupat de ecran pe panoul frontal al telefoanelor nu este ceva nou, câteva brevete în acest sens sosind anterior online după cum vă informam și noi la aceea vreme [...]
Samsung brevetează un smartphone cu două ecrane, unul în faţă, unul în spate

Samsung brevetează un smartphone cu două ecrane, unul în faţă, unul în spate

Publicat: Vineri 13-apr-2018 09:37 - Autor: Alexandru Stănescu - Afișat de 600 oriDin partea sud-coreenilor de la Samsung sosesc astăzii detalii despre un nou tip de smartphone, unul cu ecran în față, dar și cu ecran în spate. Vedem conceptul prezentat sub formă de schițe prin intermediul unui brevet proaspăt înregistrat [...]
Cel mai nou telefon pliabil brevetat de LG are 3 ecrane, 2 baterii şi 2 jack-uri audio

Cel mai nou telefon pliabil brevetat de LG are 3 ecrane, 2 baterii şi 2 jack-uri audio

Publicat: Vineri 6-apr-2018 10:06 - Autor: Radu Iorga - Afișat de 625 oriÎn vreme ce majoritatea producătorilor din zona smartphone renunță la jack-urile audio de pe device-urile aduse pe piață, iată că LG nu doar păstrează acest element de conectivitate, ci aduce două. Momentan ideea este doar sub formă de concept [...]
Samsung pregăteşte un smartphone cu lentilă fisheye, câmp de vizualizare de 150 de grade

Samsung pregăteşte un smartphone cu lentilă fisheye, câmp de vizualizare de 150 de grade

Publicat: Marți 3-apr-2018 15:30 - Autor: Radu Iorga - Afișat de 450 oriDescoperim astăzi prin intermediul unui brevet faptul că sud-coreenii de la Samsung pregătesc lansarea unui smartphone cu capabilități deosebite în zona de captură foto. Acest viitor dispozitiv va sosi echipat cu o lentilă fisheye și cu un câmp [...]
Huawei brevetează un concept de smartphone pliabil; Împrumută un mecanism similar celui de pe Surface Book

Huawei brevetează un concept de smartphone pliabil; Împrumută un mecanism similar celui de pe Surface Book

Publicat: Joi 29-mar-2018 18:30 - Autor: Claudiu Sima - Afișat de 475 oriToamna anului trecut ne-a adus și vestea că firma chineză Huawei are deja un concept de smartphone pliabil funcțional, unul care este perfecționat la ora actuală. Se căuta la acea vreme o modalitate prin care să se poată reduce zona de mijloc [...]
Samsung brevetează scannerul de amprente integrat în display; Iată despre ce e vorba

Samsung brevetează scannerul de amprente integrat în display; Iată despre ce e vorba

Publicat: Joi 29-mar-2018 17:40 - Autor: Alexandru Stănescu - Afișat de 550 oriLa ultima verificare aflam că sud-coreenii de la Samsung ar urma să decidă soarta scanner-ului de amprente integrat în ecranul lui Samsung Galaxy Note 9 până la finalul acestei luni, fiind aparent șanse serioase ca un asemenea modul să ajungă [...]
Viitorul Apple Watch ar putea aduce o cameră selfie și tehnologia Face ID; Vedem un brevet

Viitorul Apple Watch ar putea aduce o cameră selfie și tehnologia Face ID; Vedem un brevet

Publicat: Duminică 25-mar-2018 10:39 - Autor: Claudiu Sima - Afișat de 450 oriÎn toamna anului trecut cei de la Apple au adus pe piață și iPhone X, primul smartphone din portofoliu ce adoptă tehnologia Face ID de autentificare facială. Acest sistem ar urma să fie utilizat și pe alte produse se pare după cum descoperim chiar [...]
Samsung brevetează o tehnologie de încărcare wireless la distanță; Iată conceptul propus

Samsung brevetează o tehnologie de încărcare wireless la distanță; Iată conceptul propus

Publicat: Sâmbătă 24-mar-2018 12:34 - Autor: Claudiu Sima - Afișat de 475 oriPe viitor tehnologia de încărcare wireless pentru dispozitivele mobile s-ar putea schimba serios, unul dintre producătorii ce pregătesc asemenea noutăți fiind și Samsung. Prin intermediul unui brevet ajuns online descoperim că se pregătește [...]
Amazon brevetează o dronă care înţelege dacă ţipi la ea; Interpretează și alte interacţiuni complexe

Amazon brevetează o dronă care înţelege dacă ţipi la ea; Interpretează și alte interacţiuni complexe

Publicat: Joi 22-mar-2018 17:10 - Autor: Radu Iorga - Afișat de 375 oriGigantul Amazon are de gând să schimbe modalitatea de livrarea a produselor vândute pe platforma sa, vizate fiind în cazul de față dronele. Am descoperit cu ceva timp în urmă această idee a americanilor, iar astăzi dăm peste un brevet care descrie [...]
Microsoft brevetează un Surface Dial transparent, accesoriu ideal pentru graficieni

Microsoft brevetează un Surface Dial transparent, accesoriu ideal pentru graficieni

Publicat: Marți 20-mar-2018 13:41 - Autor: Radu Iorga - Afișat de 700 oriÎn urmă cu doar câțiva ani cei de la Microsoft lansau alături de PC-ul all-in-one Surface Studio și ineditul accesoriu numit Surface Dial. Acesta seamănă cu un puc de hockey și permite graficienilor să facă trecerea rapidă între diferite brush-uri [...]
Apple brevetează o tastatură wireless pentru iPad Pro

Apple brevetează o tastatură wireless pentru iPad Pro

Publicat: Marți 20-mar-2018 10:43 - Autor: Radu Iorga - Afișat de 525 oriCei de la Apple continuă să breveteze și diferite accesorii destinate produselor din portofoliul actual, un exemplu fiind o tastatură wireless destinată tabletei iPad Pro. Acest accesoriu va funcționa fără fir și va avea o baterie proprie la interior [...]
Samsung brevetează un telefon care se deschide şi extinde în mod SF; Vine cu ecran dublu extensibil

Samsung brevetează un telefon care se deschide şi extinde în mod SF; Vine cu ecran dublu extensibil

Publicat: Luni 19-mar-2018 17:29 - Autor: Radu Iorga - Afișat de 525 oriCei de la Samsung revin în centrul atenției prin intermediul unui brevet asociat unui smartphone deosebit, unul care cel puțin pe hârtie impresionează tare. Este vorba despre un handset echipat cu ecran dublu extensibil ce își va mări diagonala [...]
Samsung înregistrează trademark-ul "Galaxy Note 9" asociat phablet-ului din toamnă

Samsung înregistrează trademark-ul "Galaxy Note 9" asociat phablet-ului din toamnă

Publicat: Sâmbătă 17-mar-2018 10:15 - Autor: Claudiu Sima - Afișat de 400 oriDescoperim astăzi faptul că cei de la Samsung au înregistrat trademark-ul pentru denumirea Galaxy Note 9, acesta fiind numele pe are phablet-ul din toamnă al sud-coreenilor îl va purta. Nu există extra detalii despre această aplicație de trademark [...]
Microsoft primește un nou brevet; Se face aluzie la o modalitate de control pe seama unor senzori ai panoului spate

Microsoft primește un nou brevet; Se face aluzie la o modalitate de control pe seama unor senzori ai panoului spate

Publicat: Luni 12-mar-2018 13:05 - Autor: Claudiu Sima - Afișat de 500 oriBrevetele continuă să sosească pentru Microsoft, companie care la început de săptămână primește un brevet pe care l-a depus cu mai bine de doi ani în urmă. Acesta face referire la o nouă modalitate de control al dispozitivului pe seama unor [...]
Un brevet ajuns online ne oferă un preview pentru design-ul lui Samsung Galaxy S10

Un brevet ajuns online ne oferă un preview pentru design-ul lui Samsung Galaxy S10

Publicat: Sâmbătă 10-mar-2018 10:20 - Autor: Claudiu Sima - Afișat de 575 oriDeși speram că succesorul lui Samsung Galaxy S8 să impresioneze printr-un raport screen to body și mai generos, acest lucru nu s-a întâmplat - asta pentru că sud-coreenii au decis să aducă modificări minore la capitolul look, optând să [...]
Apple brevetează un nou conector Lightning care va permite o etanşeizare mai bună pentru protecţia contra apei

Apple brevetează un nou conector Lightning care va permite o etanşeizare mai bună pentru protecţia contra apei

Publicat: Vineri 9-mar-2018 10:24 - Autor: Radu Iorga - Afișat de 550 oriCei de la Apple continuă să breveteze tehnologii și produse, cel mai recent exemplu fiind un nou tip de conector Lightning, unul ce va permite o etanșeizare superioară cu scopul de a fi oferită o protecție mai bună contra apei. Acest brevet a fost [...]
Microsoft brevetează o nouă tabletă pliabilă, de această dată la pachet cu o tastatură dock

Microsoft brevetează o nouă tabletă pliabilă, de această dată la pachet cu o tastatură dock

Publicat: Marți 6-mar-2018 15:51 - Autor: Radu Iorga - Afișat de 500 oriNu se putea ca începutul lunii martie să nu aducă și ceva brevete marca Microsoft, acestea sosind chiar astăzi în mediul online după cum aflați mai jos. Vedem de această dată un brevet asociat unei tablete pliabile ce vine cu tastatură dock [...]
Camera "periscop" de pe Vivo APEX e de fapt brevetată deja de către Essential

Camera "periscop" de pe Vivo APEX e de fapt brevetată deja de către Essential

Publicat: Luni 5-mar-2018 15:58 - Autor: Radu Iorga - Afișat de 400 oriUnul dintre cele mai inedite smartphone-uri prezentate în spatele ușilor închise de la MWC 2018 a fost cu siguranță Vivo Apex, un terminal aflat momentan în stadiul de concept. Acest dispozitiv se remarcă atât prin intermediul ecranului edge-to-edge [...]
Microsoft brevetează un telefon-laptop pentru proiectul Andromeda/Surface Phone

Microsoft brevetează un telefon-laptop pentru proiectul Andromeda/Surface Phone

Publicat: Luni 5-mar-2018 15:53 - Autor: Radu Iorga - Afișat de 600 oriCei de la Microsoft continuă să completeze tot soiul de brevete și astăzi spre exemplu descoperim un patent pentru un produs mai deosebit. Este vorba despre un telefon care are abilitatea de a se transforma în notebook la nevoie, fix precum [...]
LG brevetează un modul de ecran edge-to-edge propriu, cu decupaj minim

LG brevetează un modul de ecran edge-to-edge propriu, cu decupaj minim

Publicat: Miercuri 28-feb-2018 13:48 - Autor: Radu Iorga - Afișat de 600 oriDacă Vivo a adus APEX-ul cel edge-to-edge la MWC 2018, e momentul ca alţi producători de telefoane să îi dea răspunsul companiei chineze. LG se număra printre aceşti rivali, brevetând un modul de ecran de tip "full screen", adică deja faimosul edge-to-edg [...]
Oppo brevetează un telefon cu ecran edge-to-edge în stil iPhone X

Oppo brevetează un telefon cu ecran edge-to-edge în stil iPhone X

Publicat: Sâmbătă 24-feb-2018 14:45 - Autor: Radu Iorga - Afișat de 600 oriOppo se alătura companiilor care pregătesc telefoane cu ecran edge to edge şi un design similar cu iPhone X. Deducem asta din cele mai noi brevete ale companiei, care includ până şi acel decupaj trademark pentru senzorii de recunoaştere facială [...]
Microsoft brevetează o tehnologie prin care aduce feedback haptic pentru stylus-ul Surface Pen

Microsoft brevetează o tehnologie prin care aduce feedback haptic pentru stylus-ul Surface Pen

Publicat: Marți 20-feb-2018 12:42 - Autor: Claudiu Sima - Afișat de 625 oriCei de la Microsoft completează la fel de multe brevete precum Samsung, cel mai nou patent de acest tip fiind asociat stylus-ului Surface Pen. Compania IT a inventat o modalitate prin care se poate aduce feedback haptic pe stylus prin intermediul [...]
BlackBerry UNI va fi un smartphone cu o extra lentilă pentru cameră, design cu tastatură glisantă; Iată-l brevetat!

BlackBerry UNI va fi un smartphone cu o extra lentilă pentru cameră, design cu tastatură glisantă; Iată-l brevetat!

Publicat: Duminică 18-feb-2018 13:10 - Autor: Radu Iorga - Afișat de 400 oriA trecut ceva vreme de la debutul ultimului model de smartphone BlackBerry și ne întrebăm desigur ce se întâmplă și dacă firma canadiană mai are ceva în pregătire. Răspunsul ar fi că da, ni se pregătește lansarea unui terminal numit UNI [...]
Acest site folosește cookies. Prin navigarea pe acest site, vă exprimați acordul asupra folosirii cookie-urilor. Citește mai mult×